Запчасти Case IH 5000 (07-24) - DRIVE TRAIN, PROPULSION SPEED CONTROL (04) - Drive Train

Схема запчастей Case IH 5000 - (07-24) - DRIVE TRAIN, PROPULSION SPEED CONTROL (04) - Drive Train
FIT
1:1
100%

Артикул

Название

Примечание

Количество

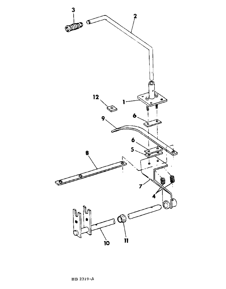
1

829470C1

ANCHOR

ASSY, speed control

1шт.

9411655

LOCK NUT,3/8"-16, GB

NUT, 3/8-16 prevailing torque hex

2шт.

619856R1

WASHER

.406 x 1.000 x .056

2шт.

2

829473C1

ROD, lever

1шт.

617057R1

PIN,1/4" x 1", Coiled

1шт.

3

829541C1

GRIP

handle

1шт.

4

611420R1

SPRING

lever tension

2шт.

5

830331C1

BAR

pressure pad

1шт.

6

829480C1

PAD

friction

2шт.

537326R1

BOLT

BOLT, 5/16-18 x 1-1/2 hex hd special

4шт.

120376

NUT,5/16"-18, G5

4шт.

7

829474C1

PIVOT

ASSY, lever

1шт.

617939R1

PIN,5/16" x 1 1/2", Coiled

1шт.

9

829481C1

BAR

SLIDE, lever

1шт.

180122

BOLT,Hex, 3/8" - 16 x 1", Gr 5

3/8-16 x 1 hex hd

2шт.

120377

NUT,3/8" - 16, Gr 5

2шт.

120382

LOCK WASHER,Helical Spring, 3/8"

WASHER, LOCK, 3/8"

2шт.

619856R1

WASHER

.406 x 1.000 x .056

2шт.

10

828269C2

ROD

ASSY, speed control, For connecting parts refer to steering controls section no. 5

1шт.

27452R1

CARRIAGE BOLT,Sq Nk, 3/8" - 16 x 2 3/4", Gr 5

BOLT, 3/8-16 x 2-3/4 crg

1шт.

120377

NUT,3/8" - 16, Gr 5

2шт.

104309

PIN, 3/16 x 1-1/2 cotter

2шт.

609836R1

WASHER

1.031 x 1.750 x .054

1шт.

11

595252R1

BUSHING

lever rod

1шт.

12

897056R1

BAR, lever stop

1шт.

Выбрано товаров: 25