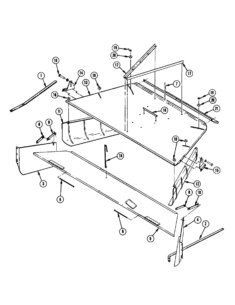
Запчасти Case IH 675 (34) - WINDROWER SHIELDS

Схема запчастей Case IH 675 - (34) - WINDROWER SHIELDS
FIT
1:1
100%

Артикул

Название

Примечание

Количество

1

FH384693

DEFLECTOR - R.H.

1шт.

111-132

CARRIAGE BOLT,Short NK, 5/16"-18 x 3/4", G5, Full Thd

BOLT - 5/16" x 3/4" rhd. sht. sq. nk. gr. 5

2шт.

2

FH384016

DEFLECTOR - L.H.

1шт.

111-237

CARRIAGE BOLT,Short NK, 5/16"-18 x 1", G5

BOLT, CARRIAGE, Short NK, 5/16"-18 x 1", G5

2шт.

3

FH486639

DEFLECTOR - R.H. side

1шт.

4

FH486621

DEFLECTOR - L.H. side

1шт.

13-612

BOLT,Hex, 3/8" - 16 x 3/4", Gr 5, Full Thd

6шт.

5

F36640

DEFLECTOR - front

1шт.

6

FH411496

PIN - hinge

2шт.

132-26

COTTER PIN

Pin, Split (Cotter), 3/32" x 3/4"

2шт.

7

T23187

CHAIN - rear hanger

1шт.

7a

F35206

CHAIN - front hanger

1шт.

13-612

BOLT,Hex, 3/8" - 16 x 3/4", Gr 5, Full Thd

1шт.

FHO62372

PIN

1шт.

95-6

WASHER,3/8"

- flat 3/8"

1шт.

8

FH457069

BRACE

2шт.

9

FH457085

BRACE - R.H.

1шт.

10

FH457077

BRACE - L.H.

1шт.

13-616

BOLT,Hex, 3/8" - 16 x 1", Gr 5, Full Thd

6шт.

25-106

NUT,3/8"-16, G5

- 3/8" N.C. hex.

6шт.

92-6

LOCK WASHER,3/8"

6шт.

95-6

WASHER,3/8"

- flat 3/8"

4шт.

11

F36627

SHIELD - R.H. forming

1шт.

12

F36626

SHIELD - L.H. forming

1шт.

111-371

CARRIAGE BOLT,Short NK, 3/8"-16 x 1", G5, Full Thd

BOLT, CARRIAGE, Short NK, 3/8"-16 x 1", Full Thd

6шт.

192-21

LOCK WASHER,3/8"

WASHER, LOCK, 3/8"

6шт.

129-103

NUT,Hex, 3/8" - 16, Gr 5

NUT, 3/8"-16, G5

2шт.

13

F36666

SHIELD - upper

1шт.

14

F36710

HANGER - R.H.

1шт.

15

F36709

HANGER - L.H.

1шт.

111-302

CARRIAGE BOLT,Short NK, 3/8"-16 x 3/4", G2

BOLT - 3/8" x 3/4" rhd. sq. nk.

4шт.

16

FH763086

PIN

2шт.

95-10

WASHER,5/8"

- 3/4" flat

2шт.

FHO62349

X

PIN - cotter

2шт.

17

F36676

ANGLE - shield

2шт.

18

F36708

STIFFENER

1шт.

111-302

CARRIAGE BOLT,Short NK, 3/8"-16 x 3/4", G2

BOLT - 3/8" x 3/4" rhd. sq. nk.

12шт.

19

FHO66423

NUT - lever

2шт.

20

FH382069

WASHER

6шт.

129-410

WING NUT,3/8"-16

NUT - 3/8" wing

2шт.

21

F36669

DEFLECTOR - rear

1шт.

13-612

BOLT,Hex, 3/8" - 16 x 3/4", Gr 5, Full Thd

4шт.

Выбрано товаров: 42