Запчасти Case IH 725 (03-004) - CUTTER BAR ASSEMBLY (58) - ATTACHMENTS/HEADERS

Схема запчастей Case IH 725 - (03-004) - CUTTER BAR ASSEMBLY (58) - ATTACHMENTS/HEADERS
15
7
14
8
1
20
24
13
25
4
9
11
26
19
16
7
21
5
2
15
6
15
17
10
22
3
3
12
23
18
FIT
1:1
100%

Артикул

Название

Примечание

Количество

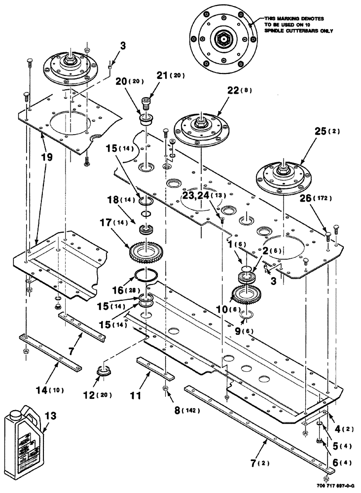
700717697

CUTTER BAR

ASSEMBLY complete

2шт.

1

700718363

RING, SNAP

RING SNAP

6шт.

2

700718362

BALL BEARING,40mm ID x 90mm OD x 23mm W

6шт.

3

700712395

PIN

spring, M10 x 12

2шт.

4

700718800

REINFORCEMENT

end

2шт.

5

700712393

COPPER WASHER

4шт.

6

700712394

PLUG

4шт.

7

700718345

REINFORCEMENT

back

2шт.

8

829-1410

NUT,M10 x 1.5, Cl 10.9

142шт.

9

700712418

SHIM

40.3 x 1.0

6шт.

10

700718360

GEAR

6шт.

11

700712396

REINFORCEMENT

back

1шт.

12

700718347

NUT

20шт.

13

700149964

CONTAINER

BOTTLE ASSEMBLY, see Figure 03-018

1шт.

14

700712421

BAFFLE

REINFORCEMENT front

10шт.

15

700718349

SHIM

42шт.

16

700712415

RING, SNAP

RING SNAP retaining

28шт.

17

700712420

GEAR

14шт.

18

700712419

THRUST BEARING,40mm ID x 80mm OD x 18mm W

14шт.

19

700718356

COVER

CUTTERBED

1шт.

20

700718348

PIN

20шт.

21

700712417

BOLT,M20 x 30mm

M20 x 2.5 x 30

20шт.

22

700719597

SPINDLE

ASSEMBLY inner, see Figure 03-006

8шт.

23

700715224

SCREW

BOLT, SPCL, M8 x 1.25 x 20

13шт.

24

829-1408

NUT,Hex, M8 x 1.25, Cl 10.9

13шт.

25

700719598

SPINDLE

ASSEMBLY outer, see Figure 03-008

2шт.

26

700712401

SCREW

M10 x 1.5 x 30

172шт.

Выбрано товаров: 27