Запчасти Case IH 725 (03-012) - CUTTER DISC ASSEMBLY, RIGHT (58) - ATTACHMENTS/HEADERS

Схема запчастей Case IH 725 - (03-012) - CUTTER DISC ASSEMBLY, RIGHT (58) - ATTACHMENTS/HEADERS
5
5
16
10
18
11
2
4
2
7
17
13
5
9
8
5
19
1
12
15
3
14
6
2
FIT
1:1
100%

Артикул

Название

Примечание

Количество

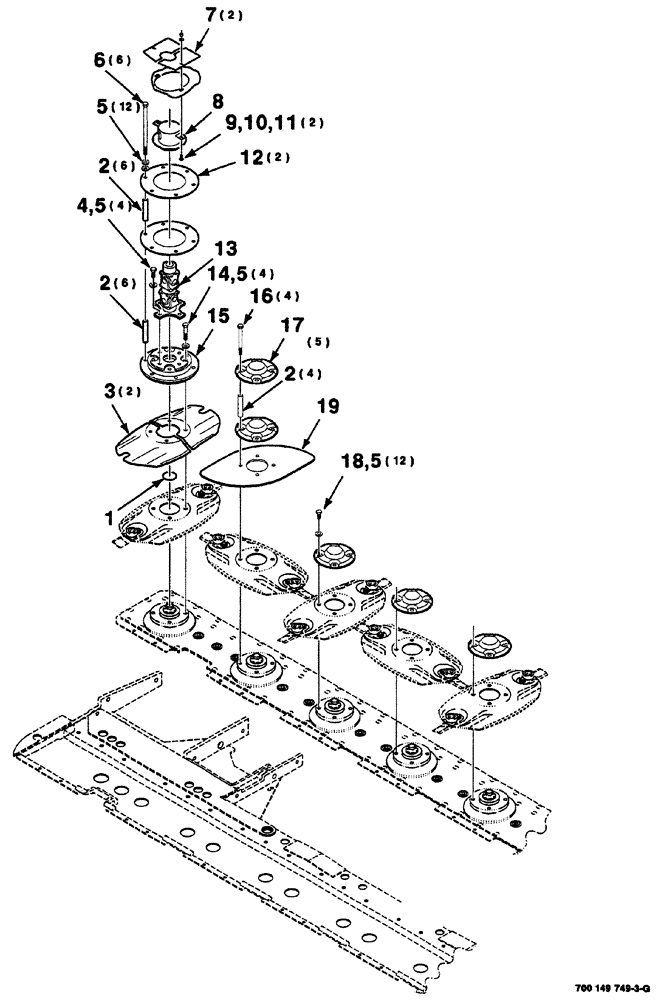
1

7722440

PLUG

1шт.

2

6559314

SPACER

SPACER

16шт.

3

700717700

GRAIN LIFTER

2шт.

4

514-834

BOLT,Hex, M12 x 1.25 x 30mm, Cl 8.8, Full Thd

cap, hex, M12 x 1.25 x 30

4шт.

5

705541

WASHER,0.53" ID x 1.06" OD x 0.14" Thk

plain, hardened, 1/2"

32шт.

6

413-8144

BOLT,Hex, 1/2" - 13 x 9", Gr 5

BOLT hex, 1/2"-13 x 9"

6шт.

7

700149977

COVER

2шт.

8

700149978

TUBE

WA shield

1шт.

9

433-512

CARRIAGE BOLT,Sq Nk, 5/16" - 18 x 3/4", Gr 5

2шт.

10

496-21034

WASHER,11/32" x 11/16" x 0.89", HDN

2шт.

11

425-105

NUT,5/16"-18, G5

2шт.

12

700127061

RING

cage

2шт.

13

700711841

FLEXIBLE JOINT

ASSEMBLY, U, see Figure 03-016

1шт.

14

414-840

BOLT,Hex, 1/2" - 20 x 2-1/2", Gr 5

hex, 1/2"-20 x 2-1/2"

4шт.

15

700127059

ADAPTER

drive, disc

1шт.

16

413-880

BOLT,Hex, 1/2" - 13 x 5", Gr 5

4шт.

17

700127062

CAP

disc

5шт.

18

414-816

BOLT,Hex, 1/2" - 20 x 1", Gr 5

hex, 1/2"-20 x 1"

12шт.

19

700149868

SLINGER

1шт.

Выбрано товаров: 0