Запчасти Case IH 725 (05-002) - HAY CONDITIONER ASSEMBLY, LEFT (58) - ATTACHMENTS/HEADERS

Схема запчастей Case IH 725 - (05-002) - HAY CONDITIONER ASSEMBLY, LEFT (58) - ATTACHMENTS/HEADERS
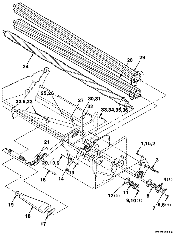
21
20
10
22
30
17
33
23
31
28
27
25
3
4
24
19
32
34
2
10
8
29
18
9
15
12
9
13
11
36
16
7
5
6
1
26
14
35
6
FIT
1:1
100%

Артикул

Название

Примечание

Количество

1

413-832

BOLT,Hex, 1/2" - 13 x 2", Gr 5

1шт.

2

231-5348

FLANGE NUT,Flg, 1/2"-13

lock, hex flange top, GR/G, 1/2"-13

1шт.

3

6834394

BUSHING,17.46mm ID x 31.75mm OD x 53.5mm L

1шт.

4

1307583C1

FLANGED BEARING

2шт.

5

413-816

BOLT,Hex, 1/2" - 13 x 1", Gr 5

4шт.

6

705541

WASHER,0.53" ID x 1.06" OD x 0.14" Thk

plain, hardened, 1/2"

5шт.

7

700149942

FILLER

1шт.

8

50328

SPHERICAL BEARING,38.1 mm ID x 80 mm OD x 18, 56.36 mm

spherical

1шт.

9

425-106

NUT,3/8"-16, Cl 5

4шт.

10

496-11041

WASHER,13/32" x 13/16" x .065", HDN

plain, hardened, 3/8"

4шт.

11

611583R91

BALL BEARING

spherical

1шт.

12

51200755

FLANGE

bearing

2шт.

13

700133541

SPACER

plated

1шт.

14

700149949

PROTECTOR

roll, left

1шт.

S/N CFH0154001 thru CFH0154299

1шт.

14

700152383

PROTECTOR

roll, left

1шт.

S/N CFH0154300 and later

1шт.

15

385625

WASHER

WA bearing

1шт.

16

700108790

SPACER

1шт.

17

NLS

NO LONGER SERVICED

hose

1шт.

18

700717784

COVER

spring, hay conditioner

1шт.

19

214-1444

HOSE CLAMP,58.6mm - 82.5mm

1шт.

20

433-640

CARRIAGE BOLT,Sq Nk, 3/8" - 16 x 2 1/2", Gr 5

BOLT square neck, round head, 3/8"-16 x 2-1/2"

1шт.

21

219-93

LUBE NIPPLE,90 Degree Elbow, 1/4" - 28 NPTF

1шт.

22

873513

BOLT,Hex, 1/2" - 13 x 6", Gr 5, Full Thd

SCREW cap, hex, full thread, 1/2"-13 x 6"

1шт.

23

425-108

NUT,1/2" - 13, Gr 5

1шт.

24

700149941

ROLL

WA helper

1шт.

25

413-524

BOLT,Hex, 5/16" - 18 x 1-1/2", Gr 5

1шт.

26

232-5315

FLANGE NUT,Flg, 5/16"-18

lock, hex flange top, GR/G, 5/16"-18

1шт.

27

700118107

PIN,22.23mm OD x 80.01mm L

1шт.

28

700115122

ROLLER

WA hay conditioner

1шт.

29

700121385

ROLL

WA upper, hay conditioner

1шт.

30

121-115

SERRATED BOLT,Hex, 5/16" - 18 x 3/4"

1шт.

31

231-5145

SERRATED NUT,Flg, USR, 5/16"-18

1шт.

32

700127123

LARGE PLATE

PLATE, LARGE GAUGE

1шт.

33

413-1056

BOLT,Hex, 5/8" - 11 x 3-1/2", Gr 5

1шт.

34

396-21066

WASHER,16.66mm ID x 33.33mm OD x 4.27mm Thk

5/8" bolt size

1шт.

35

700711165

WASHER,17.3mm ID x 45.21mm OD x 4.06mm Thk

plain, wide, hardened, 5/8"

1шт.

36

232-53110

FLANGE NUT,Flg, 5/8"-11

1шт.

Выбрано товаров: 39