Запчасти Case IH 725 (09-002) - DECALS AND LOCATION DIAGRAM (90) - PLATFORM, CAB, BODYWORK AND DECALS

Схема запчастей Case IH 725 - (09-002) - DECALS AND LOCATION DIAGRAM (90) - PLATFORM, CAB, BODYWORK AND DECALS
5
8
2
1
11
8
7
9
5
1
6
3
6
4
3
10
FIT
1:1
100%

Артикул

Название

Примечание

Количество

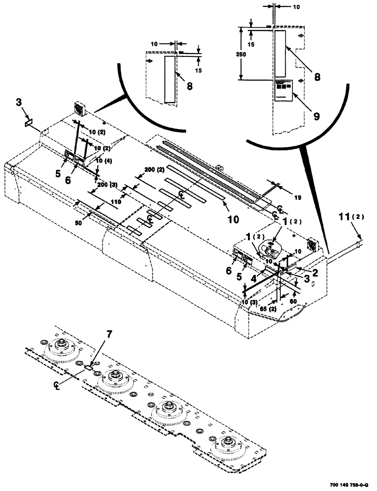
1

700713522

DECAL

tie

4шт.

2

700714138

DECAL

notice

1шт.

3

700713551

DECAL

danger

2шт.

4

700717403

REFLECTOR

amber

1шт.

5

700714362

DECAL

warning

2шт.

6

700714361

DECAL

warning

2шт.

7

700713252

DECAL

factory filled

1шт.

8

700717402

REFLECTOR

red

2шт.

9

700716119

DECAL patents

1шт.

10

6849178

WALL

TREAD safety

1шт.

11

64642

RIVET

pop

2шт.

Выбрано товаров: 11