Запчасти Case IH 856 (06) - TRACTOR ASSEMBLY

Схема запчастей Case IH 856 - (06) - TRACTOR ASSEMBLY
FIT
1:1
100%

Артикул

Название

Примечание

Количество

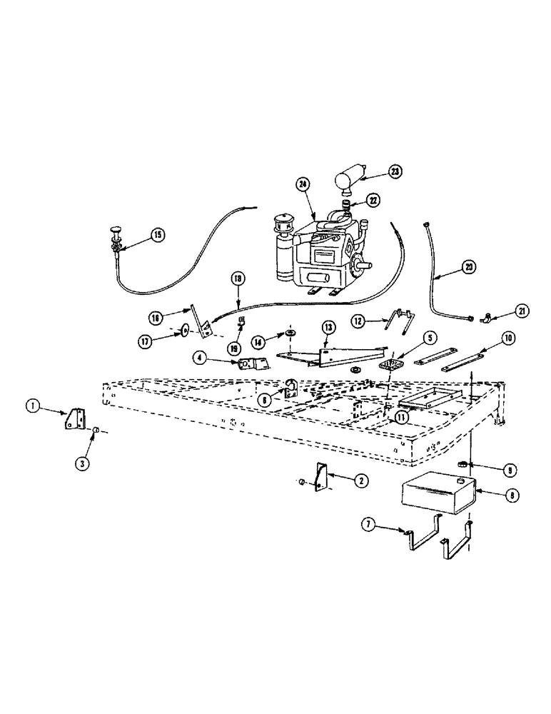
1

F49410

BRAKCET - R.H. header pivot

1шт.

2

F49411

BRACKET - L.H. header pivot

1шт.

11-820

BOLT,Short NK, 1/2"-13 x 1 1/4", G2

- 1/2" x 1-1/4" rhd. sq. nk.

6шт.

25-108

NUT,1/2"-13, G5

- 1/2" N.C. hex.

6шт.

92-8

LOCK WASHER,1/2"

6шт.

3

F49320

SPACER

2шт.

4

F49384

BRACKET - pump mounting

1шт.

11-716

BOLT (MACHINE)

BOLT - 7/16" x 1" rhd. sq. nk.

2шт.

25-107

NUT,7/16"-14, G5

- 7/16" N.C. hex.

2шт.

92-7

LOCK WASHER,7/16"

2шт.

11-516

BOLT,Short NK, 5/16"-18 x 1", G2

CARRIAGE, Short NK, 5/16"-18 x 1", G2

4шт.

9635082

NUT,5/16" - 18, Gr 5

- 5/16" N.C. hex.

4шт.

92-5

LOCK WASHER,5/16"

4шт.

5

F49366

BLOCK - chain, wood

1шт.

6

F49369

PLATE - center bearing

1шт.

11-824

BOLT,Short NK, 1/2"-13 x 1 1/2", G2

- 1/2" x 1-1/2" rhd. sq. nk.

2шт.

25-108

NUT,1/2"-13, G5

- 1/2" N.C. hex.

2шт.

92-8

LOCK WASHER,1/2"

2шт.

7

F49418

STRAP - tank, lower

2шт.

8

F49417

TANK - fuel

1шт.

9

FHO45088

CAP

- tank

1шт.

10

F49419

STRAP - tank, upper

2шт.

11

F49416

CARRIER - battery

1шт.

12

F49477

HOLD-DOWN - battery

1шт.

13

F49382

ADJUSTER - engine

1шт.

14

10752K

WASHER

- spacer

5шт.

15

F49452

CABLE - choke

1шт.

16

F49445

LEVER - throttle

1шт.

17

F49447

DISC - friction, throttle

1шт.

11-516

BOLT,Short NK, 5/16"-18 x 1", G2

CARRIAGE, Short NK, 5/16"-18 x 1", G2

1шт.

9635082

NUT,5/16" - 18, Gr 5

- 5/16" N.C. hex.

1шт.

18

F49446

CABLE - throttle

1шт.

19

F49448

CLIP - throttle cable

1шт.

20

F49409

LINE - fuel

1шт.

21

F49420

FITTING - 90 degree elbow

1шт.

22

F49388

PIPE - exhaust

1шт.

23

F49389

MUFFLER - exhaust

1шт.

24

ENGINE - Wisconsin VG4D

1шт.

Выбрано товаров: 38