Запчасти Case IH 950 (22) - OPERATORS PLATFORM

Схема запчастей Case IH 950 - (22) - OPERATORS PLATFORM
7
13
6
3
11
2
9
8
5
14
16
15
18
4
10
17
12
1
FIT
1:1
100%

Артикул

Название

Примечание

Количество

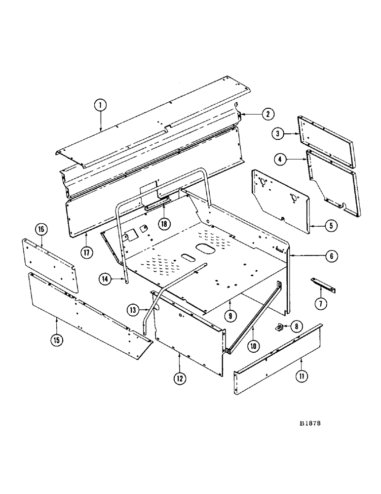
1

FH268425

PANEL - top

1шт.

SCREW - 5/16" x 3/4" N.C. rhd. mach. (173-217) and nut (129-102) L.W. (129-102) Pl. wshr. (195-521)

14шт.

2

FH268458

PANEL - upper front

1шт.

BOLT - 5/16" x 3/4" N.C. hex. (13-512) Nut (25-105) and L.W. (92-5) Fl. wshr. (95-5)

4шт.

3

FH268441

PANEL - R.H. upper side

1шт.

SCREW - 5/16" x 3/4" N.C. rhd. mach. (173-217) and dbl. nut (129-102) L.W. (192-20) Pl. wshr. (192-521)

3шт.

4

FH268243

PANEL - R.H. lower side

1шт.

5

FH267922

BRACKET - support (950 Windrower)

1шт.

FH267930

BRACKET - support (1050 Windrower)

1шт.

6

FH268052

SUPPORT - right, platform

1шт.

7

FH137208

BRACKET - platform, right front

1шт.

8

FH137935

BRACKET - attaching

1шт.

9

FH268078

PLATFORM - operator's

1шт.

10

FH268102

BRACE - support

1шт.

11

FH268110

FILLER - rear

1шт.

12

FH268128

SUPPORT - left, platform

1шт.

13

FH268417

RAIL - guard, L.H.

1шт.

BOLT - 5/16" x 1-1/8" N.C. hex. (13-518) Nut (25-105) and L.W. (92-5)

4шт.

14

FH268466

RAIL - guard

1шт.

15

FH270363

PANEL - L.H. side

1шт.

BOLT - 5/16" x 3/4" N.C. hex. (13-512) Nut (25-105) and L.W. (92-5) Fl. wshr. (95-5)

4шт.

SCREW - 5/16" x 3/4" N.C. rhd. mach. (173-217) and nut (129-102) L.W. (192-20) Pl. wshr. (192-521)

7шт.

16

FH268235

PANEL - L.H. upper side

1шт.

SCREW - 5/16" x 3/4" N.C. rhd. mach. (173-217) and dbl. nut (129-102) L.W. (192-20) Pl. wshr. (195-521)

3шт.

17

FH268227

PANEL - lower front

1шт.

18

FH269746

ANGLE - reinforcement

1шт.

Выбрано товаров: 26