Запчасти Case IH 950 (24[B]) - MUFFLER AND INSTRUMENT PANEL

Схема запчастей Case IH 950 - (24[B]) - MUFFLER AND INSTRUMENT PANEL
6
16
11
6
12
9
11
4
5
9
19
3
15
7
14
18
8
12
4
1
21
22
13
20
25
14
24
23
1
3
2
10
7
10
17
2
5
8
13
13
FIT
1:1
100%

Артикул

Название

Примечание

Количество

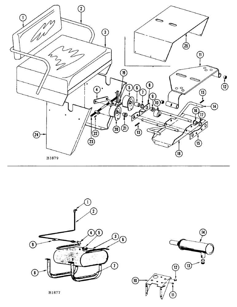
1

FHO45161

CUSHION - back rest

1шт.

2

FH268474

FRAME - seat

1шт.

3

FHO45153

CUSHION

1шт.

4

G45005

LINK - stabilizing

1шт.

5

G45003

SPRING SEAT

SPRING - rubber, L.H.

1шт.

6

10953K

SPACER

2шт.

7

O2922A

X

WASHER

4шт.

8

F94726

TIE BAR - rear

1шт.

9

G46002

FLANGED BEARING

BEARING - flanged

2шт.

10

A30644

BUMPER

- rubber

1шт.

11

F94725

PLATE - base

1шт.

12

E3330S

BUSHING

4шт.

13

138-136

LOCK PIN,1/4" x 1 1/4", Slotted

PIN, 1/4" x 1 1/4", Slotted

4шт.

14

F94728

SHAFT - spring

2шт.

15

F94727

TIE BAR - front

1шт.

16

G46002

FLANGED BEARING

BEARING

2шт.

17

O1167AB

X

WASHER

4шт.

18

FH268573

ADAPTER - seat (Standard 1050; special 950)

1шт.

BOLT - 3/8" x 1" rhd. sq. nk. (11-616) Nut (25-106) and L.W. (92-6)

2шт.

BOLT - 3/8" x 1" N.C. hex. (13-616) Nut (25-106) L.W. (92-6)

4шт.

WASHER - 3/8" flat (95-6)

6шт.

19

132-46

COTTER PIN,1/8" x 3/4"

Pin, Split (Cotter), 1/8" x 3/4"

2шт.

20

G45002

SPRING SEAT

SPRING - rubber, R.H.

1шт.

21

G46002

FLANGED BEARING

BEARING - flanged

2шт.

22

138-57

LOCK PIN,1/8" x 3/4", Slotted

PIN, 1/8" x 3/4", Slotted

2шт.

23

F94729

STUD - adjusting

1шт.

24

FH268136

MOUNTING - seat

1шт.

BOLT - 3/8" x 3/4" N.C. hex. (13-612) Nut (25-106) and L.W. (92-6) Fl. wshr. (95-6)

6шт.

25

FH289736

ADAPTER - seat (950 Windrower) Replaces FH268565 when stocks are exhausted

1шт.

BOLT - 3/8" x 1" rhd. sq. nk. (11-616) Nut (25-106) and L.W. (92-6) Fl. wshr. (95-6)

2шт.

BOLT - 3/8" x 3/4" N.C. hex. (13-612) Nut (25-106) and L.W. (92-6)

6шт.

FH268565

ADAPTER - seat (950 Windrower) Replaced by FH289736 when stocks are exhausted

1шт.

BOLT - 3/8" x 3/4" rhd. sq. nk. (11-612) Nut (25-106) and L.W. (92-6) Fl. wshr. (95-6)

8шт.

1

FHO46011

UNION - elbow

1шт.

2

FH289223

X

LINE - fuel

1шт.

3

FH750273

TANK - fuel

1шт.

4

FHO46011

UNION - elbow

1шт.

5

FHO45088

CAP

1шт.

6

FHO44255

FELT - top

2шт.

7

FHO45856

FELT - bottom

2шт.

8

FH267732

STRAP - fuel tank

2шт.

9

FH121723

CLAMP - fuel line

1шт.

10

PANEL - instrument (See note)

1шт.

11

FH720235

BUTTON - snap in (VH4D and VG4D engines) Light switch hole

1шт.

12

FH720227

BUTTON - snap in (VH4D and VG4D engines)

1шт.

13

FH263475

NIPPLE - (V460D engine only)

1шт.

14

FHO41335

MUFFLER - (Wisconsin VH4D engine)

1шт.

FHO41236

MUFFLER

- (Wisconsin VG4D engine)

1шт.

FHO41806

MUFFLER - (Wisconsin V460D engine)

1шт.

Выбрано товаров: 49