Запчасти Case IH 950 (72) - SHIELDS FOR CANNING PEA SPECIAL

Схема запчастей Case IH 950 - (72) - SHIELDS FOR CANNING PEA SPECIAL
10
18
9
2
1
6
4
5
3
13
16
7
11
8
15
14
12
17
FIT
1:1
100%

Артикул

Название

Примечание

Количество

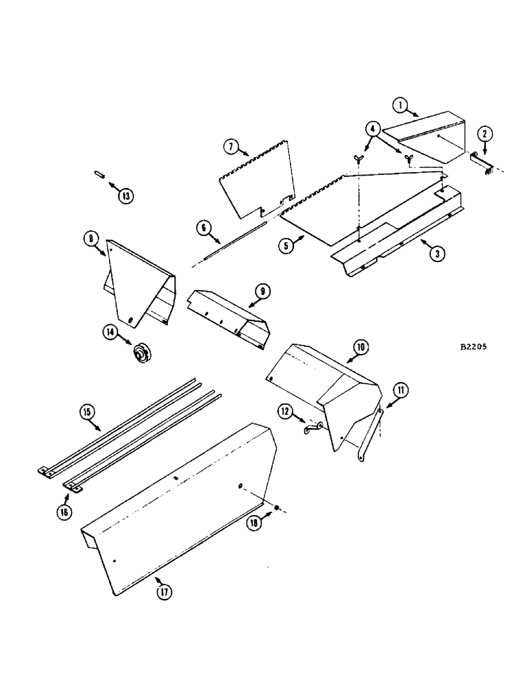
1

FH300491

SHIELD - engine drive

1шт.

2

FH300657

SUPPORT - shield

1шт.

BOLT - 5/16" x 3/4" N.C. hex. (113-102) Nut (129-102) and L.W. (192-20)

1шт.

3

FH300533

SHIELD - transmission, L.H.

1шт.

BOLT - 5/16" x 3/4" N.C. hex. (113-102) L.W. (192-20)

3шт.

4

FH702324

SCREW - thumb

2шт.

WASHER - 3/8" pl. (195-525)

2шт.

5

FH300558

COVER - transmission

1шт.

6

FHO65359

PIN

1шт.

7

FH300574

SUPPORT - transmission

1шт.

BOLT - 3/8" x 1" N.C. hex. (113-207) Nut (129-103) and L.W. (192-21)

1шт.

BOLT - 3/8" x 1-1/4" N.C. rhd. sq. nk. (111-319)

2шт.

WASHER - 3/8" pl. (195-525)

9шт.

8

FH300640

SHIELD - header drive

1шт.

BOLT - 5/16" x 3/4" N.C. hex. (113-102) Nut (129-102) and L.W. (192-20)

3шт.

WASHER - 5/16" pl. (195-521)

2шт.

9

FH300665

SHIELD - reel drive

1шт.

BOLT - 5/16" x 3/4" N.C. hex. (113-102) Nut (129-102) L.W. (192-20) and pl. wshr. (195-521)

2шт.

10

FH300467

SHIELD - reel drive

1шт.

BOLT - 5/16" x 3/4" N.C. hex. (113-102) Nut (129-102) L.W. (192-20) and pl. wshr. (195-521)

2шт.

11

FH300673

STRAP

1шт.

BOLT - 5/16" x 3/4" N.C. hex. (113-102) Nut (129-102) and L.W. (192-20)

2шт.

12

FH300681

BRACE

1шт.

BOLT - 5/16" x 3/4" N.C. hex. (113-102) Nut (129-102) and L.W. (192-20)

2шт.

13

P2456S

SPACER

1шт.

BOLT - 3/8" x 2-3/4" N.C. hex. (113-644) Nut (129-103) and L.W. (192-21)

1шт.

14

FH300699

SHEAVE

1шт.

15

FH300608

ROD - Windrow forming, L.H.

1шт.

BOLT - 3/8" x 1-1/4" N.C. hex. (113-208) Nut (129-103) and L.W. (192-21)

2шт.

16

FH300616

ROD - Windrow forming, R.H.

1шт.

BOLT - 3/8" x 1-1/4" N.C. hex. (113-208) Nut (129-103) and L.W. (192-21)

2шт.

17

FH300624

SHIELD

1шт.

BOLT - 5/16" x 1/2" N.C. hex. (113-101) Nut (129-102) and L.W. (192-20)

1шт.

BOLT - 5/16" x 3/4" N.C. hex. (113-102) Nut (129-102) and L.W. (192-20)

2шт.

18

C5427S

SPACER

1шт.

Выбрано товаров: 35