Запчасти Case IH 950 (072) - REAR WHEEL AND WEIGHT BOX

Схема запчастей Case IH 950 - (072) - REAR WHEEL AND WEIGHT BOX
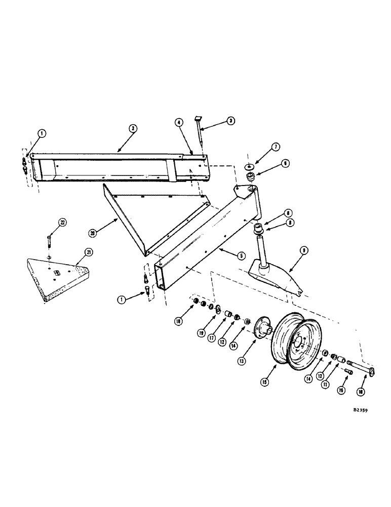
FIT
1:1
100%

Артикул

Название

Примечание

Количество

1

FHO66217

BOLT - tapered

4шт.

25-1014

NUT,7/8"-9, G5

and L.W. 7/8"-9, G5

4шт.

2

FH144584

CHANNEL - R.H. front

1шт.

113-607

BOLT,Hex, 5/8" - 11 x 1-1/2", Gr 5, Full Thd

Nut, L.W. and fl. wshr. Hex, 5/8"-11 x 1 1/2", G5, Full Thd

2шт.

3

FH117275

PIN - tail

1шт.

4

FH413666

CHANNEL - R.H. rear (Replaces FH135608)

1шт.

5

FH413674

BEAM - L.H. (Replaces FH315523)

1шт.

6

FH337659

BUSHING

2шт.

86636814

LUBE NIPPLE,1/4"-28 x .52" lg

FITTING - grease, 1/4" - 28

2шт.

7

FH134668

CAP - fork

1шт.

8

FH134676

SHIM - wear, wheel fork

1шт.

9

FH337758

FORK - rear wheel

1шт.

113-607

BOLT,Hex, 5/8" - 11 x 1-1/2", Gr 5, Full Thd

and L.W. Hex, 5/8"-11 x 1 1/2", G5, Full Thd

1шт.

10

FH305565

AXLE - rear wheel

1шт.

13-624

BOLT,Hex, 3/8" - 16 x 1-1/2", Gr 5

- 3/8" x 1-1/2" N.C. hex., nut and L.W.

1шт.

11

G10474

SPACER

1шт.

12

FHO51805

CONE

BEARING

2шт.

13

FH239285

HUB - rear wheel

1шт.

14

FHO50104

CUP

2шт.

219-57

LUBE NIPPLE,90 Degree Elbow, 1/4" - 28 NPTF

FITTING - grease 1/4" - 28 x 90 degrees

1шт.

15

FHO26047

WHEEL - rear (For 7.60 x 15 implement tire)

1шт.

16

A31040

WHEEL BOLT,9/16" - 18 x 1 13/32", Gr 5

BOLT - wheel

5шт.

17

FH239293

SPACER

1шт.

18

129-170

JAM NUT,Jam, 1"-14, G5

2шт.

92-16

LOCK WASHER,1"

WASHER, LOCK, 1"

1шт.

19

FH305581

CLIP

2шт.

13-624

BOLT,Hex, 3/8" - 16 x 1-1/2", Gr 5

- 3/8" x 1-1/2" N.C. hex., nut and L.W.

1шт.

20

FH413468

BOX - weight (Replaces FH268433 when exhausted)

1шт.

FH268433

BOX - weight (Replaced by FH413468 when exhausted)

1шт.

113-206

BOLT,Hex, 3/8" - 16 x 3/4", Gr 5, Full Thd

and nut Hex, 3/8"-16 x 3/4", G5, Full Thd

6шт.

111-317

CARRIAGE BOLT,Short NK, 3/8"-16 x 1", G2

BOLT, CARRIAGE, , Nut Short NK, 3/8"-16 x 1", G2

2шт.

21

NSS

NOT SOLD SEPARAT

WEIGHT - concrete (1 w/VG4D, 2 w/A126 engines)

1шт.

22

13-8152

BOLT,Hex, 1/2" - 13 x 9-1/2", Gr 5

- 1/2" x 9-1/2" N.C. hex.

3шт.

195-106

WASHER,1/2"

- flat 1/2"

6шт.

192-23

LOCK WASHER,1/2"

WASHER, LOCK, 1/2"

3шт.

129-105

NUT,Hex, 1/2" - 13, Gr 5

3шт.

Выбрано товаров: 36