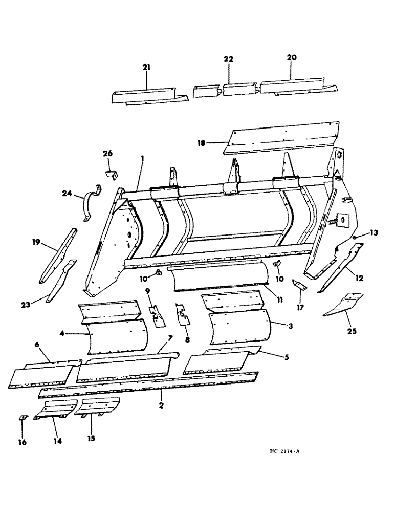
Запчасти Case IH SINGLE (A-02) - SINGLE OVERSHOT AUGER HEADER, HEADER FRAME

Схема запчастей Case IH SINGLE - (A-02) - SINGLE OVERSHOT AUGER HEADER, HEADER FRAME
FIT
1:1
100%

Артикул

Название

Примечание

Количество

1

828239C6

FRAME

ASSY, 12 ft header main

1шт.

1

828240C6

FRAME

ASSY, 14 ft header main

1шт.

180122

BOLT,Hex, 3/8" - 16 x 1", Gr 5

3/8-16 x 1 hex-hd

2шт.

113-206

BOLT,Hex, 3/8" - 16 x 3/4", Gr 5, Full Thd

3/8-16 x 3/4 hex-hd

2шт.

180175

BOLT,Hex, 1/2" - 13 x 1 1/4", Gr 5

1/2-13 x 1-1/4 hex-hd

9шт.

120377

NUT,3/8" - 16, Gr 5

10шт.

120378

NUT,Hex, 1/2" - 13, Gr 5

NUT, 1/2"-13, G5

9шт.

487374R1

BEARING LOCK NUT,Flg, USR, 1/2"-13

1/2-13 hex flange lock

2шт.

120382

LOCK WASHER,Helical Spring, 3/8"

WASHER, LOCK, 3/8"

10шт.

120384

WASHER,1/2"

LOCK, 1/2"

9шт.

20803R1

WASHER

.406 x 1.000 x .105

3шт.

2

827934C2

GUARD

12 ft plat lower stone

1шт.

2

827935C2

GUARD

14 ft plat lower stone

1шт.

632593R1

CARRIAGE BOLT,Round, 7/16" - 14 x 1 3/4", Grade 5

BOLT, 7/16-14 x 1-3/4 crg

2шт.

18695R1

CARRIAGE BOLT,Short Sq Nk, 7/16" - 14 x 1 1/4", Gr 2

BOLT, 7/16 x 1-1/4 type 1 crg, 8 used 12 ft, 10 used 14 ft

1шт.

NLS

NO LONGER SERVICED

NUT, 7/16-14 hex, 1 per bolt

1шт.

120383

LOCK WASHER,Helical Spring, 7/16"

WASHER, LOCK, , 1 per bolt 7/16"

1шт.

893862R1

WASHER

.469 x 1.250 x .105, 10 used 12ft, 12 used 14 ft

1шт.

231-1447

NUT,7/16"-14, GB

NUT, LOCK, 7/16"-14, GB

2шт.

3

828248C1

ASSEMBLY

SECTION, bottom sheet rear LH 12ft

1шт.

3

828246C1

ASSEMBLY

SECTION, bottom sheet rear LH 14ft

1шт.

598802R1

CARRIAGE BOLT,Short NK, 5/16"-18 x 3/4", G5, Full Thd

BOLT, 5/16-18 x 3/4 crg

9шт.

598803R1

CARRIAGE BOLT,Short NK, 5/16"-18 x 1", G5, Full Thd

BOLT, 5/16-18 x 1 crg

2шт.

938017R1

FLANGE NUT,Flg, USR, 5/16"-18

5/16-18 serrated flange

11шт.

4

828249C1

ASSEMBLY

SECTION, bottom sheet rear RH 12 ft

1шт.

4

828247C1

ASSEMBLY

SECTION, bottom sheet rear RH 14 ft

1шт.

598802R1

CARRIAGE BOLT,Short NK, 5/16"-18 x 3/4", G5, Full Thd

BOLT, 5/16-18 x 3/4 crg

9шт.

598803R1

CARRIAGE BOLT,Short NK, 5/16"-18 x 1", G5, Full Thd

BOLT, 5/16-18 x 1 crg

2шт.

938017R1

FLANGE NUT,Flg, USR, 5/16"-18

5/16-18 serrated flange

11шт.

5

828244C2

ASSEMBLY

SECTION, bottom sheet front LH 12 ft

1шт.

5

828242C2

ASSEMBLY

SECTION, bottom sheet front LH 14 ft

1шт.

598802R1

CARRIAGE BOLT,Short NK, 5/16"-18 x 3/4", G5, Full Thd

BOLT, 5/16-18 x 3/4 crg

2шт.

598801R1

CARRIAGE BOLT,Sht Sq Nk, 5/16" - 18 x 1/2", Gr 5

BOLT, 5/16-18 x 1/2 crg, 4 used 12 ft, 6 used 14 ft

1шт.

938017R1

FLANGE NUT,Flg, USR, 5/16"-18

5/16-18 serrated flange, 6 used 12 ft, 8 used 14ft

1шт.

23050R1

SQ HOLE WASHER,.344" x 3/4" x .060", Sq. Hole

.344 sq x .750 x .054, 2 used 12 ft, 4 used 14ft

1шт.

6

828245C2

ASSEMBLY

SECTION, bottom sheet front RH 12ft

1шт.

6

828243C2

ASSEMBLY

SECTION, bottom sheet front RH 14ft

1шт.

598802R1

CARRIAGE BOLT,Short NK, 5/16"-18 x 3/4", G5, Full Thd

BOLT, 5/16-18 x 3/4 crg

2шт.

598801R1

CARRIAGE BOLT,Sht Sq Nk, 5/16" - 18 x 1/2", Gr 5

BOLT, 5/16-18 x 1/2 crg, 4 used 12ft, 7 used 14ft

1шт.

938017R1

FLANGE NUT,Flg, USR, 5/16"-18

5/16-18 serrated flange, 6 used 12 ft, 8 used 14ft

1шт.

23050R1

SQ HOLE WASHER,.344" x 3/4" x .060", Sq. Hole

.344 sq x .750 x .054, 2 used 12ft, 4 used 14ft

1шт.

7

829960C1

ASSEMBLY

SECTION, bottom sheet center 12ft

1шт.

7

828282C1

ASSEMBLY

SECTION, bottom sheet center 14ft

1шт.

598802R1

CARRIAGE BOLT,Short NK, 5/16"-18 x 3/4", G5, Full Thd

BOLT, 5/16-18 x 3/4 carriage

12шт.

938017R1

FLANGE NUT,Flg, USR, 5/16"-18

5/16-18 serrated flange

12шт.

8

828777C1

DEFLECTOR

LH

1шт.

9

828778C1

DEFLECTOR

RH

1шт.

598802R1

CARRIAGE BOLT,Short NK, 5/16"-18 x 3/4", G5, Full Thd

BOLT, 5/16-18 x 3/4 carriage

4шт.

938017R1

FLANGE NUT,Flg, USR, 5/16"-18

5/16-18 serrated flange

4шт.

10

828740C1

ANGLE

center section support

2шт.

495967R1

CARRIAGE BOLT,Short NK, 3/8"-16 x 1", G5, Full Thd

BOLT, 3/8-16 x 1 carriage

2шт.

120377

NUT,3/8" - 16, Gr 5

2шт.

120382

LOCK WASHER,Helical Spring, 3/8"

WASHER, LOCK, 3/8"

2шт.

619856R1

WASHER

.406 x 1.000 x .056

2шт.

11

828741C1

ASSEMBLY

SECTION, centre

1шт.

598802R1

CARRIAGE BOLT,Short NK, 5/16"-18 x 3/4", G5, Full Thd

BOLT, 5/16-18 x 3/4 carriage

10шт.

938017R1

FLANGE NUT,Flg, USR, 5/16"-18

5/16-18 serrated flange

10шт.

12

827799C1

SOLE

header side LH

1шт.

19058R1

BOLT, 1/2-13 x 1 no 3 plow 1/2"-13 x 1", G2, Full Thd

1шт.

465567R1

CARRIAGE BOLT,Sht Sq Nk, 1/2" - 13 x 1 1/2", Gr 5

BOLT, 1/2-13 x 1-1/2 carriage

1шт.

120378

NUT,Hex, 1/2" - 13, Gr 5

NUT, 1/2"-13, G5

2шт.

120384

WASHER,1/2"

LOCK, 1/2"

2шт.

13

622535R1

SPACER,1/2" X-Strng Pipe x 7/16"

sole 1/2" X-Strng Pipe x 7/16"

1шт.

14

828174C1

SOLE

skid shoe, 6 used 12ft, 7 used 14ft, for service order 831584C1 shoe and 2,, 168930C1 bolt

1шт.

18698R1

CARRIAGE BOLT,Sq Nk, 7/16" - 14 x 2", Gr 2

BOLT, 7/16-14 x 2 crg type 1 LH side

1шт.

632593R1

CARRIAGE BOLT,Round, 7/16" - 14 x 1 3/4", Grade 5

BOLT, 7/16-14 x 1-3/4 crg, all other sole use 4 of 632953R1 bolts

3шт.

271501

SOCKET

NUT, 7/16-14 hex

4шт.

15

831584C1

SHOE

ASSY, skid, 5 used 12 ft, 6 used 14 ft

1шт.

632593R1

CARRIAGE BOLT,Round, 7/16" - 14 x 1 3/4", Grade 5

BOLT, 7/16-14 x 1-3/4 crg

3шт.

18696R1

CARRIAGE BOLT,Short Sq Nk, 7/16" - 14 x 1 1/2", Gr 2

BOLT, 7/16-14 x 1-1/2 type 2 crg

4шт.

18698R1

CARRIAGE BOLT,Sq Nk, 7/16" - 14 x 2", Gr 2

BOLT, 7/16-14 x 2 type 1 crg

1шт.

893862R1

WASHER

.469 x 1.250 x .105

4шт.

120383

LOCK WASHER,Helical Spring, 7/16"

WASHER, LOCK, 7/16"

4шт.

NLS

NO LONGER SERVICED

NUT, 7/16-14 hex

8шт.

16

824785C1

CLAMP

sole support, 2 per sole, for use with 828174C1 sole

1шт.

486160R1

BOLT, 1/2-13 x 2-1/4 crg 1 per clamp

1шт.

120378

NUT,Hex, 1/2" - 13, Gr 5

NUT, , 1 per bolt 1/2"-13, G5

1шт.

120384

WASHER,1/2"

LOCK, , 1 per bolt 1/2"

1шт.

21375R1

WASHER

.531 x 1.250 x .164, 6 per bolt

1шт.

17

829461C1

SHIELD

tine LH

1шт.

180175

BOLT,Hex, 1/2" - 13 x 1 1/4", Gr 5

1/2-13 x 1-1/4 hex-hd

2шт.

487374R1

BEARING LOCK NUT,Flg, USR, 1/2"-13

1/2-13 hex flange lock

2шт.

18

829584C1

SHIELD

centre opening

1шт.

598802R1

CARRIAGE BOLT,Short NK, 5/16"-18 x 3/4", G5, Full Thd

BOLT, 5/16-18 x 3/4 carriage 5

1шт.

120376

NUT,5/16"-18, G5

4шт.

80681

LOCK WASHER,5/16"

WASHER, LOCK, 5/16"

4шт.

850677C1

SCREW,Hex Wash Hd, 5/16"-18 x 1/2"

5/16-18 x 1/2 self tapping

2шт.

19

829025C2

SUPPORT

RH side stiffener

1шт.

598809R1

CARRIAGE BOLT,Sht Sq Nk, 3/8" - 16 x 3/4", Gr 5

BOLT, 3/8-16 x 3/4 crg

2шт.

180122

BOLT,Hex, 3/8" - 16 x 1", Gr 5

3/8-16 x 1 hex hd

2шт.

120377

NUT,3/8" - 16, Gr 5

5шт.

120382

LOCK WASHER,Helical Spring, 3/8"

WASHER, LOCK, 3/8"

5шт.

20

830337C1

DEFLECTOR

ASSY, 12 ft tall crop LH

1шт.

20

830339C1

DEFLECTOR

ASSY, 14 ft tall crop LH

1шт.

202107C1

BOLT,Hex Serr Flg, 5/16" - 18 x 3/4"

SCREW, 5/16-18 x 3/4 hex-hd flange lock

1шт.

174856C1

BOLT,Hex Serr, 5/16" - 18 x 1/2"

SCREW, 5/16-18 x 1/2 hex-hd flange lock

2шт.

21

830338C1

DEFLECTOR

ASSY, 12 ft tall crop RH

1шт.

21

830340C1

DEFLECTOR

ASSY, 14 ft tall crop RH

1шт.

202107C1

BOLT,Hex Serr Flg, 5/16" - 18 x 3/4"

SCREW, 5/16-18 x 3/4 hex-hd flange lock

1шт.

174856C1

BOLT,Hex Serr, 5/16" - 18 x 1/2"

SCREW, 5/16-18 x 1/2 hex-hd flange lock

2шт.

22

830304C1

DEFLECTOR

ASSY, tall crop center

1шт.

23

831534C1

SOLE

RH divider

1шт.

19040R1

CARRIAGE BOLT,#3, 7/16" - 14 x 1", Gr 2

BOLT, 7/16-14 x 1 no. 3 plow type 1

1шт.

609120R1

BOLT,Short NK, 7/16"-14 x 1 1/8", G5. Full Th

7/16-14 x 1-1/8 crg

1шт.

495967R1

CARRIAGE BOLT,Short NK, 3/8"-16 x 1", G5, Full Thd

BOLT, 3/8-16 x 1 crg

1шт.

120377

NUT,3/8" - 16, Gr 5

1шт.

271501

SOCKET

NUT, 7/16-14 hex

2шт.

120382

LOCK WASHER,Helical Spring, 3/8"

WASHER, LOCK, 3/8"

1шт.

120383

LOCK WASHER,Helical Spring, 7/16"

WASHER, LOCK, 7/16"

2шт.

24

831755C1

BRACKET

SHROUD, auger end

2шт.

598802R1

CARRIAGE BOLT,Short NK, 5/16"-18 x 3/4", G5, Full Thd

BOLT, 5/16-18 x 3/4 crg

2шт.

938017R1

FLANGE NUT,Flg, USR, 5/16"-18

5/16-18 serrated flange

2шт.

25

831456C1

SOLE

header LH side wide

1шт.

19059R1

PLOW BOLT,#3, 1/2" - 13 x 1 1/4", Gr 2

BOLT, 1/2-13 x 1-1/4 no. 3 plow

1шт.

88530

CARRIAGE BOLT,Sq Nk, 1/2" - 13 x 1 3/4", Gr 5

BOLT, 1/2-13 x 1-3/4 crg

1шт.

550796R1

CARRIAGE BOLT,3/8" - 16 x 1 1/4", Grade 5

BOLT, 3/8-16 x 1-1/4 crg

2шт.

632593R1

CARRIAGE BOLT,Round, 7/16" - 14 x 1 3/4", Grade 5

BOLT, 7/16-14 x 1-3/4 type 1 crg

1шт.

120378

NUT,Hex, 1/2" - 13, Gr 5

NUT, 1/2"-13, G5

2шт.

120384

WASHER,1/2"

LOCK, 1/2"

2шт.

120377

NUT,3/8" - 16, Gr 5

2шт.

120382

LOCK WASHER,Helical Spring, 3/8"

WASHER, LOCK, 3/8"

2шт.

NLS

NO LONGER SERVICED

NUT, 7/16 hex

1шт.

26

831818C1

ANGLE

reflector support

1шт.

180122

BOLT,Hex, 3/8" - 16 x 1", Gr 5

3/8-16 x 1 hex-hd

1шт.

120377

NUT,3/8" - 16, Gr 5

1шт.

120382

LOCK WASHER,Helical Spring, 3/8"

WASHER, LOCK, 3/8"

1шт.

Выбрано товаров: 126