Запчасти Case IH RDX161 (005) - BELT DRIVE (14) - MAIN GEARBOX & DRIVE

Схема запчастей Case IH RDX161 - (005) - BELT DRIVE (14) - MAIN GEARBOX & DRIVE
21
34
25
16
26
10
33
5
35
12
28
20
22
36
39
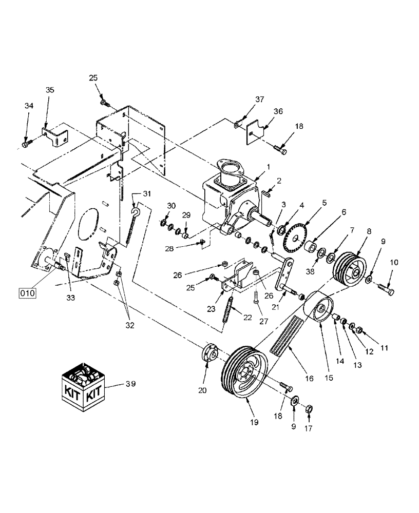
1
11
11
23
8
17
010
8
37
39
25
9
7
26
29
31
13
3
10
19
18
9
9
6
38
20
9
17
19
2
6
13
15
12
15
4
18
14
38
16
18
5
7
27
30
32
14
FIT
1:1
100%

Артикул

Название

Примечание

Количество

1

86633552

GEARBOX

Refer to Component Breakdown, Fig. 006[1]

1шт.

Prior to PIN HCA0016065

1шт.

1

87054841

GEARBOX ASSY

Refer to Component Breakdown, Fig. 006[2]

1шт.

Can be used to service Prior To PIN heads if cutterbar driveshaft yoke is replaced with 86623800 or kit 87030620

1шт.

Btwn PIN HCA0016065 & HCA0016501

1шт.

1

87582682

GEARBOX

Gearbox; Refer to Component Breakdown, Fig. 006[2]

1шт.

From PIN HCA0016501

1шт.

1

87582682R

REMAN-GEARBOX

Remanufactured GEARBOX

1шт.

1

87582682C

CORE-GEARBOX

Return Number, Gearbox

1шт.

2

224132

KEY

Square, 5/16"x 2"

1шт.

3

432-1220

COTTER PIN,3/16" x 1 1/4"

1шт.

4

86510186

SPACER

3.85 mm ID x 53.98 mm OD

1шт.

5

86540071

DISC

1шт.

6

604398

HUB

1-9/16" ID x 2-1/4" OD x 1-1/2" L

1шт.

7

86611730

WASHER,38.9mm ID x 60.3mm OD x 3.68mm Thk

Flat, 1-17/32" ID x 2-3/8" OD, 10 GA.

2шт.

8

86632264

PULLEY

7" OD

1шт.

Prior to PIN HCA0016065

1шт.

8

86582701

SHEAVE

9" OD

1шт.

Btwn PIN HCA0016065 & HCA0016501

1шт.

8

87526445

SHEAVE

9" OD

1шт.

From PIN HCA0016501

1шт.

9

86516694

WASHER

Flat, 3/4" ID x 1/4" thk

2шт.

10

413-1228

BOLT,Hex, 3/4" - 10 x 1-3/4", Gr 5

1шт.

11

232-41412

LOCK NUT,3/4"-10, GC

1шт.

12

394632

WASHER,21mm ID x 40mm OD x 4mm Thk

1шт.

Prior to PIN HCA0016065

1шт.

12

87021862

WASHER,19.8mm ID x 38.1mm OD x 4.76mm Thk

Hardened, M20, Plated

1шт.

After PIN HCA0016065

1шт.

13

T39594

BALL BEARING,0.7505" ID x 1.7805" OD x 0.61"

2шт.

14

217994

SPACER

3/4" ID x 1"x 1-1/4" L

1шт.

15

86632727

IDLER

6" OD

1шт.

16

86627792

V-BELT,0.66" W x 97.50" L, 4 Ribs

1шт.

Prior to PIN HCA0016065

1шт.

16

86582818

V-BELT,0.66" W x 101.00" L, 4 Ribs

1шт.

After PIN HCA0016065

1шт.

17

425-1012

NUT,3/4"-10, G5

1шт.

18

458-620

BOLT,Hex, 3/8" - 16 x 1 1/4", Gr 5

7шт.

19

86633564

PULLEY

247.7mm OD

1шт.

20

86633563

HUB

1шт.

21

86633561

ARM

1шт.

22

12

SPRING

7/8" OD x 7-1/4" L

1шт.

23

86633565

ARM

1шт.

25

86521614

BOLT,Hex, 1/2" - 13 x 1 1/4", Gr 5

7шт.

26

425-108

NUT,1/2" - 13, Gr 5

1шт.

27

88965

BOLT,Hex, 1/2"-13 x 4", G5, Full Thd

1шт.

28

219-93

LUBE NIPPLE,90 Degree Elbow, 1/4" - 28 NPTF

1шт.

29

80027767

BUSHING,25.48mm ID x 28.65mm OD x 22.22mm L

1" ID x 7/8" L

2шт.

30

26402

WASHER,25.8mm ID x 38.1mm OD x 1.7mm Thk

(.060" Thk, 1-1/2" OD)

14шт.

31

86628567

EYEBOLT

G2, 3/8"-16 x 8-3/4"

1шт.

32

425-106

NUT,3/8"-16, Cl 5

2шт.

33

86626994

KEY

Square, 5/16" x 1"

1шт.

34

86521615

BOLT,Hex, 1/2" - 13 x 1 1/2", Gr 5

1шт.

35

86633562

ANGLE

1шт.

36

86558629

COVER

1шт.

37

86539811

SPRING NUT

Tinnerman, 3/8"-16

1шт.

38

25494

WASHER,38.9mm ID x 50.8mm OD x 1.5mm Thk

1-17/32" ID x 2" OD x 1/16" Thk

1шт.

39

87030620

REPAIR KIT

Antiwrap

1шт.

Not Illustrated

1шт.

Contains parts for top of cutterbar driveshaft to update units prior to PIN HCA0016064 to after PIN

1шт.

Выбрано товаров: 59