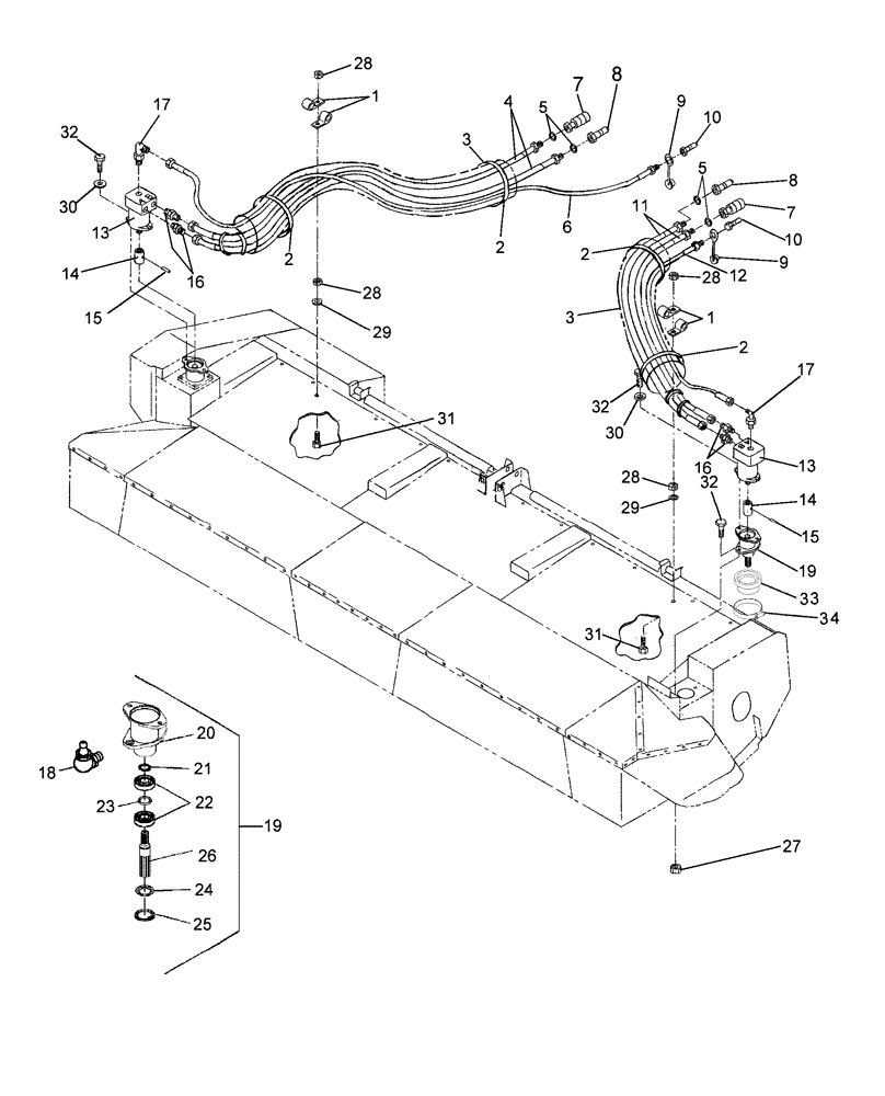
Запчасти Case IH RDX161 (017) - HYDRAULICS, HEADER (35) - HYDRAULIC SYSTEMS

Схема запчастей Case IH RDX161 - (017) - HYDRAULICS, HEADER (35) - HYDRAULIC SYSTEMS
31
28
26
30
22
23
12
8
2
2
8
15
8
32
3
13
3
5
6
10
20
30
28
19
28
15
2
31
14
17
28
4
19
20
26
1
9
2
33
29
15
24
5
3
30
12
34
1
18
32
25
7
28
16
24
9
14
13
8
27
19
32
10
21
25
2
16
11
17
2
29
10
21
11
23
7
14
7
27
29
31
13
32
28
6
5
18
1
32
9
17
7
5
9
22
10
4
2
3
19
16
FIT
1:1
100%

Артикул

Название

Примечание

Количество

1

86628564

CLAMP,31.7mm, Coat, 10.3mm Bolt Hole, P Type

4шт.

2

263117

CABLE TIE,292.1mm L, Nylon, Black

CABLE STRAP

8шт.

3

86520217

SLEEVE

2шт.

4

86572216

HOSE,19.05mm ID x 2946.4mm L

3/4" ID x 116" L

2шт.

Prior to PIN HCA0016094

1шт.

4

87023203

HOSE ASSY.

2шт.

From PIN HCA0016094

1шт.

5

237-6012

O-RING,0.116" Thk x 0.924" ID, -912, Cl 6, 90 Duro

4шт.

6

86609391

HOSE

5/8" ID x 117" L

1шт.

Prior to PIN HCA0016094

1шт.

6

87023204

HOSE,15.88mm ID x 2540mm L, SAE 100R6

1шт.

From PIN HCA0016094

1шт.

7

86564734

COUPLING

Female

2шт.

8

9820148

COUPLING,1-1/16" - 12

Male

2шт.

Prior to PIN HCA0016094

1шт.

8

87037008

QUICK MALE COUPLING

2шт.

From PIN HCA0016094

1шт.

9

86001464

DUST CAP

2шт.

Prior to PIN HCA0016094

1шт.

9

86621124

DUST CAP

2шт.

From PIN HCA0016094

1шт.

10

9801618

QUICK MALE COUPLING,1/2" - 14

Male, 1/2"-14, NPTF

2шт.

11

86572218

HOSE

3/4" ID x 96" L

2шт.

Prior to PIN HCA0016094

1шт.

11

87023203

HOSE ASSY.

3/4" ID x 90" L

2шт.

From PIN HCA0016094

1шт.

12

86602356

HOSE,15.88 mm ID x 2616.20 mm, SAE 100R16

1шт.

Prior to PIN HCA0016094

1шт.

12

87023204

HOSE,15.88mm ID x 2540mm L, SAE 100R6

1шт.

From PIN HCA0016094

1шт.

13

86616315

HYDRAULIC MOTOR

46cc

2шт.

Prior to PIN HCA0016001

1шт.

13

87037263R

REMAN-HYD MOTOR

Reman for New PN 86616315

2шт.

13

87037263C

CORE-MOTOR HYDRAULIC

Return Number

2шт.

13

86639513

HYDRAULIC MOTOR

44cc

2шт.

Btwn PIN HCA0016001 & HCA0016094

1шт.

13

87037263R

REMAN-HYD MOTOR

Reman for New PN 86639513

2шт.

13

87037263C

CORE-MOTOR HYDRAULIC

Return Number

2шт.

13

87298002

REMAN-HYD MOTOR

RDX161, BTWN HCA0016001 & HCA0016094, Reman For New P/N 86639513

2шт.

13

87298003

CORE-MOTOR HYDRAULIC

Return Number

2шт.

13

87035406

HYDROSTATIC MOTOR

44cc

2шт.

From PIN HCA0016094

1шт.

13

87035406R

REMAN-HYD MOTOR

REMANUFACTURED HYD MOTOR - for N.A. Only

2шт.

13

87035406C

CORE-MOTOR HYDRAULIC

Return Number, HYD MOTOR

2шт.

13

87037263R

REMAN-HYD MOTOR

Reman for New PN 87035406

2шт.

13

87037263C

CORE-MOTOR HYDRAULIC

Return Number

2шт.

14

601802

COUPLING,15T

2шт.

15

38-11624

LOCK PIN,1/4" x 1 1/2", Slotted

2шт.

16

218-5064

HYD CONNECTOR,1-1/16" - 12 Male JIC x 1-1/16" - 12 Male ORB

4шт.

Prior to PIN HCA0016094

1шт.

16

9840535

HYD CONNECTOR,1-3/16" - 12 ORFS x 1-1/16" - 12 ORB

4шт.

From PIN HCA0016094

1шт.

17

218-5117

ELBOW,90 Degree Elbow, 7/8" - 14 Male JIC x 3/4" - 16 Male ORB

Use w/ 46cc Motor

2шт.

Prior to PIN HCA0016001

1шт.

17

218-5107

90 ELBOW,90 Degree Elbow, 7/8" - 14 Male JIC x 7/8" - 14 Male ORB

Use w/ 44cc Motor

2шт.

Btwn PIN HCA0016001 & HCA0016094

1шт.

17

218-5137

ELBOW,45 Degree Elbow, 7/8" - 14 Male JIC x 7/8" - 14 Male ORB

Use w/ 44cc Motor

2шт.

From PIN HCA0016094

1шт.

18

219-93

LUBE NIPPLE,90 Degree Elbow, 1/4" - 28 NPTF

1шт.

19

86607458

COUPLING

1шт.

20

86549585

HOUSING

1шт.

21

100-16137

SNAP RING,#137. Ext

1шт.

22

86607457

BALL BEARING,35mm ID x 62mm OD x 14mm W

2шт.

23

86549589

SPACER

1шт.

24

86549587

SHIELD

1шт.

25

100-21244

SNAP RING,2.44", Int, #244

1шт.

26

86549588

SHAFT

1шт.

27

425-288

FLANGE NUT,Flg, 1/2"-13, G5

2шт.

28

425-285

FLANGE NUT,Flg, 5/16"-18, G5

4шт.

29

322358

BELLEVILLE WASHER,M8 Bolt Size x 18mm OD x 1.4mm Thk

2шт.

30

495-21056

WASHER,1/2"

4шт.

31

86521612

BOLT,Hex, 5/16" - 18 x 1 1/4", Gr 5

2шт.

32

86521615

BOLT,Hex, 1/2" - 13 x 1 1/2", Gr 5

6шт.

33

87013676

SHIELD

1шт.

Component of antiwrap kit 87030620

1шт.

From PIN HCA0016065

1шт.

34

82012730

HOSE CLAMP,68mm - 85mm, Worm Gear

1шт.

Component of antiwrap kit 87030620

1шт.

From PIN HCA0016065

1шт.

Выбрано товаров: 79