Запчасти Case IH RDX161 (015) - SHIELDING REAR (90) - PLATFORM, CAB, BODYWORK AND DECALS

Схема запчастей Case IH RDX161 - (015) - SHIELDING REAR (90) - PLATFORM, CAB, BODYWORK AND DECALS
13
49
19
35
3
4
10
28
20
19
10
32
17
18
27
9
45
1
36
33
21
10
6
18
8
9
10
48
9
9
30
41
16
9
9
11
38
4
34
8
15
9
8
18
26
46
5
25
2
10
7
12
31
11
37
9
5
10
10
30
8
9
11
17
40
29
13
23
19
14
14
5
2
24
14
17
31
12
39
22
10
44
5
4
43
9
9
42
FIT
1:1
100%

Артикул

Название

Примечание

Количество

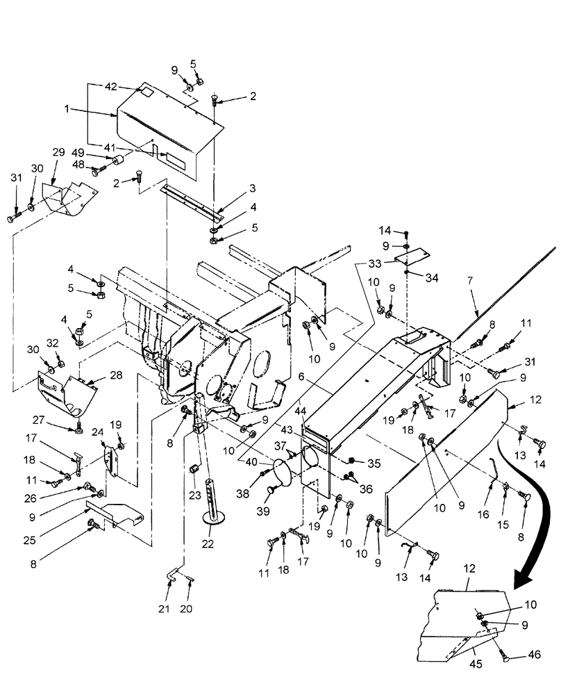
1

86633333

COVER

Includes: Ref. 41 & 42

1шт.

2

434-412

CARRIAGE BOLT,Sht Sq Nk, 1/4" - 20 x 3/4", Gr 5

8шт.

3

86526598

HINGE

1шт.

4

322357

BELLEVILLE WASHER,M6 Bolt Size x 14mm OD x 1.3mm Thk

12шт.

5

86624020

FLANGE NUT,Flg, 1/4"-20.G5

13шт.

6

86629707

SHIELD

Includes: Ref. 14 (2), 33, 34 (2), 35 (1), 36 (2), 38 (1), 39, 40, 43, 44, & 47

1шт.

Prior to PIN HCA0016065

1шт.

6

87028252

SHIELD

Includes: Ref. 14 (2), 33, 34 (2), 35 (1), 36 (2), 38 (1), 39, 40, 43, 44, & 47

1шт.

From PIN HCA0016065

1шт.

7

9617448

PIN,6.35mm OD x 1493.52mm L

42", Cut To Fit

1шт.

8

434-512

CARRIAGE BOLT,Sht Sq Nk, 5/16" - 18 x 3/4", Gr 5

9шт.

9

492-11031

LOCK WASHER,5/16"

19шт.

10

425-285

FLANGE NUT,Flg, 5/16"-18, G5

15шт.

11

458-416

BOLT,Hex, 1/4" - 20 x 1", Gr 5

6шт.

12

86633334

DOOR ASSY.

1шт.

Prior to PIN HCA0016065

1шт.

12

86729526

DOOR

Assy

1шт.

From PIN HCA0016065

1шт.

13

9801962

HOOK

2шт.

14

86521553

BOLT,Hex, 5/16" - 18 x 1", Gr 5

4шт.

15

173195

BRACKET

1шт.

16

173194

HOOK

1шт.

17

86000448

LATCH

3шт.

18

495-21031

WASHER,1/4"

6шт.

19

280129

NUT,1/4"-20

6шт.

20

38-1820

LOCK PIN,1/8" x 1 1/4", Slotted

1шт.

21

86611330

PIN,16.56mm OD

Jack

1шт.

22

86613561

TUBE

1шт.

23

86611329

SPRING

1шт.

24

86633339

BRACKET

1шт.

25

86633332

SHIELD

1шт.

26

413-58

BOLT,Hex, 5/16" - 18 x 1/2", Gr 5

2шт.

27

413-412

BOLT,Hex, 1/4" - 20 x 3/4", Gr 5

4шт.

28

86633340

COVER ASSY

1шт.

29

86581734

SHIELD

1шт.

30

80577826

WASHER,8.7mm ID x 34.93mm OD x 1.94mm Thk

SAE, 5/16"

12шт.

31

458-512

BOLT,Hex, 5/16" - 18 x 3/4", Gr 5

7шт.

32

231-5345

FLANGE NUT,Flg, 5/16"-18

6шт.

33

86633330

COVER

1шт.

34

9626645

NUT

Eaton, 5/16"-18

2шт.

35

231-5346

FLANGE NUT,Flg, 3/8"-16

1шт.

36

425-106

NUT,3/8"-16, Cl 5

2шт.

37

215588

WASHER

Nylon, 3/8"

2шт.

38

458-612

BOLT,Hex, 3/8" - 16 x 3/4", Gr 5

1шт.

39

235167

KNOB

1шт.

40

86629815

DOOR

1шт.

41

9826789

DANGER DECAL,180mm x 90mm H

Danger, Rotating Driveline

1шт.

42

86611825

WARNING DECAL

No Step

1шт.

43

86547783

REFLECTOR,Tape, Red Orange

Fluorescent Red/Orange

1шт.

44

86547781

REFLECTOR,RED

Red Retroreflective

1шт.

45

86633337

SHIELD

1шт.

Prior to PIN HCA0016065

1шт.

45

87025498

SHIELD

1шт.

From PIN HCA0016065

1шт.

46

434-512

CARRIAGE BOLT,Sht Sq Nk, 5/16" - 18 x 3/4", Gr 5

3шт.

47

86633341

SHIELD

Part of Ref. 6, (Not Shown)

1шт.

48

88146

BOLT,Hex, 1/4" - 20 x 1", Gr 5

1шт.

49

87014515

SPACER

1шт.

Выбрано товаров: 58