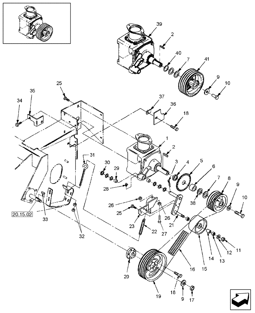
Запчасти Case IH RDX181 (20.14.07[01]) - BELT DRIVE (03) - MAIN GEARBOX

Схема запчастей Case IH RDX181 - (20.14.07[01]) - BELT DRIVE (03) - MAIN GEARBOX
7
8
12
9
19
35
25
4
20
20.15.02
29
37
18
26
16
36
30
11
10
17
40
32
7
6
28
10
26
41
14
9
38
5
33
22
18
2
2
39
13
1
9
15
23
25
27
31
21
3
34
FIT
1:1
100%

Артикул

Название

Примечание

Количество

1

87054841

GEARBOX ASSY

See Fig. 20.14.08[01]

1шт.

BPIN Y7B667799

1шт.

2

87485

KEY,50.8mm OAL x 7.96mmThk

Square, 5/16"x 2"

1шт.

3

432-1220

COTTER PIN,3/16" x 1 1/4"

1шт.

4

86510186

SPACER

3.85 mm ID x 53.98 mm OD

1шт.

5

86540071

DISC

1шт.

6

604398

HUB

1-9/16" ID x 2-1/4" OD x 1-1/2" L

1шт.

7

86611730

WASHER,38.9mm ID x 60.3mm OD x 3.68mm Thk

1-17/32" ID x 2-3/8" OD, 10 GA.

2шт.

8

86582701

SHEAVE

Requires Ref 5

1шт.

BPIN Y7B667799

1шт.

9

86516694

WASHER

3/4" ID x 1/4" thk

2шт.

10

413-1228

BOLT,Hex, 3/4" - 10 x 1-3/4", Gr 5

1шт.

11

232-41412

LOCK NUT,3/4"-10, GC

1шт.

12

87021862

WASHER,19.8mm ID x 38.1mm OD x 4.76mm Thk

Hardened, M20, Plated

1шт.

13

T39594

BALL BEARING,0.7505" ID x 1.7805" OD x 0.61"

2шт.

14

217994

SPACER

3/4" ID x 1"x 1-1/4" L

1шт.

15

86632727

IDLER

6" OD

1шт.

16

86582818

V-BELT,0.66" W x 101.00" L, 4 Ribs

1шт.

17

425-1012

NUT,3/4"-10, G5

1шт.

18

458-620

BOLT,Hex, 3/8" - 16 x 1 1/4", Gr 5

7шт.

19

86633564

PULLEY

247.7mm OD

1шт.

20

86540073

HUB

1шт.

21

86633561

ARM

1шт.

22

12

SPRING

7/8" OD x 7-1/4" L

1шт.

23

86633565

ARM

1шт.

25

86521614

BOLT,Hex, 1/2" - 13 x 1 1/4", Gr 5

7шт.

26

425-108

NUT,1/2" - 13, Gr 5

1шт.

27

88965

BOLT,Hex, 1/2"-13 x 4", G5, Full Thd

HH, Tap, G5, 1/2"-13 x 4"

1шт.

28

219-93

LUBE NIPPLE,90 Degree Elbow, 1/4" - 28 NPTF

1шт.

29

80027767

BUSHING,25.48mm ID x 28.65mm OD x 22.22mm L

1" ID x 7/8" L

2шт.

30

26402

WASHER,25.8mm ID x 38.1mm OD x 1.7mm Thk

(.060" Thk, 1-1/2" OD)

14шт.

31

86628567

EYEBOLT

G2, 3/8"-16 x 8-3/4"

1шт.

32

425-106

NUT,3/8"-16, Cl 5

2шт.

33

86626994

KEY

Square, 5/16" x 1"

1шт.

34

86521615

BOLT,Hex, 1/2" - 13 x 1 1/2", Gr 5

1шт.

35

86633562

ANGLE

1шт.

BPIN Y7B667799

1шт.

35

87541439

ANGLE

1шт.

PIN Y7B667799 AND AFTER

1шт.

36

86558629

COVER

1шт.

37

86539811

SPRING NUT

Tinnerman, 3/8"-16

1шт.

38

25494

WASHER,38.9mm ID x 50.8mm OD x 1.5mm Thk

1-17/32" ID x 2" OD x 1/16" Thk

1шт.

39

87582682

GEARBOX

See Figure 20.14.08[01], Also, See note this Figure

1шт.

PIN Y7B667799 AND AFTER

1шт.

39

87582682R

REMAN-GEARBOX

Remanufactured GEARBOX

1шт.

39

87582682C

CORE-GEARBOX

Return Number, Gearbox

1шт.

PIN Y7B667799 AND AFTER

1шт.

40

495-81088

WASHER,1.66" ID x 2.25" OD x 0.06" Thk

1шт.

PIN Y7B667799 AND AFTER

1шт.

41

87526445

SHEAVE

W/Configuration for timing sensor, see Figure note

1шт.

PIN Y7B667799 AND AFTER

1шт.

Выбрано товаров: 51