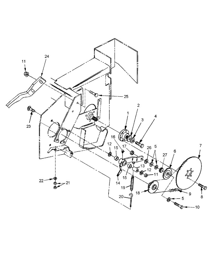
Запчасти Case IH RDX181 (20.15.01) - CHAIN DRIVE (03) - MAIN GEARBOX

Схема запчастей Case IH RDX181 - (20.15.01) - CHAIN DRIVE (03) - MAIN GEARBOX
10
15
11
22
19
6
5
14
13
17
4
25
11
3
7
12
2
18
8
16
15
24
20
1
26
23
5
9
12
21
27
FIT
1:1
100%

Артикул

Название

Примечание

Количество

1

86633567

HUB

1шт.

2

695335

WASHER,12.95mm ID x 37.59mm OD x 4.75mm Thk

1шт.

3

86513238

LOCK WASHER,.515” ID x 1.070” OD x .120” TK

Belleville, 1/2"

1шт.

4

86521614

BOLT,Hex, 1/2" - 13 x 1 1/4", Gr 5

1шт.

5

80299

WASHER,0.69" ID x 1.75" OD x 0.13" Thk

1шт.

6

86576898

SPROCKET

12T

1шт.

7

86620746

DRIVEN SPROCKET

37T

1шт.

8

458-620

BOLT,Hex, 3/8" - 16 x 1 1/4", Gr 5

6шт.

9

86588944

CHAIN

RC 80

1шт.

9

241-1118

LINK

Regular

61шт.

9

86643889

CONNECTING LINK

1шт.

10

413-1040

BOLT,Hex, 5/8" - 11 x 2-1/2", Gr 5

1шт.

11

425-288

FLANGE NUT,Flg, 1/2"-13, G5

3шт.

12

29684

WASHER,13.5mm ID x 50.8mm OD x 5.52mm Thk

17/32" ID x 2" OD x 3/16" Thk

2шт.

13

9849929

SPACER

1шт.

14

86633566

ARM

1шт.

15

86540342

BUSHING,30.15mm ID x 36.41mm OD x 19.05mm L

1-3/16" ID x 3/4" L

2шт.

16

219-93

LUBE NIPPLE,90 Degree Elbow, 1/4" - 28 NPTF

1шт.

17

425-2810

FLANGE NUT,Flg, 5/8"-11, G5

1шт.

18

86611314

DRIVING SPROCKET

13T, RC80 Chain

1шт.

19

86559592

SPRING,Extension, 0.99" OD x 6-1/4" L

Extension

1.шт.

20

631201

EYEBOLT

3/8"-16 x 5-1/2"

1шт.

21

425-106

NUT,3/8"-16, Cl 5

2шт.

22

495-21044

WASHER,3/8"

1шт.

23

433-848

CARRIAGE BOLT,Sq Nk, 1/2" - 13 x 3", Gr 5

1шт.

24

86633568

ARM

1шт.

25

433-820

CARRIAGE BOLT,Sq Nk, 1/2" - 13 x 1 1/4", Gr 5

2шт.

26

27697

WASHER,16.66mm ID x 27mm OD x 1.52mm Thk

21/32" ID x 1-1/16" OD x 1/16" Thk

1шт.

27

149261C91

BALL BEARING,16mm ID x 40mm OD x 18mm W

1шт.

Выбрано товаров: 29