Запчасти Case IH RDX181 (20.06.01) - ELECTRICAL (06) - ELECTRICAL

Схема запчастей Case IH RDX181 - (20.06.01) - ELECTRICAL (06) - ELECTRICAL
21
7
12
13
6
15
5
12
8
3
19
18
15
17
4
19
16
9
5
1
17
14
4
4
8
2
20
6
11
20
14
13
1
10
18
11
FIT
1:1
100%

Артикул

Название

Примечание

Количество

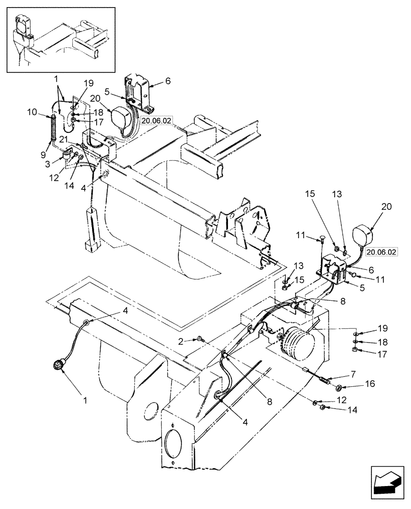
1

87032661

HARNESS

Wire

1шт.

2

458-512

BOLT,Hex, 5/16" - 18 x 3/4", Gr 5

4шт.

3

9706732

CLAMP,19mm ID, 8.7mm Bolt Hole, P Type

1шт.

4

237915

GROMMET

3шт.

5

86623858

BRACKET

2шт.

6

86623861

BRACKET

2шт.

7

9825943

SENSOR

1шт.

8

86010402

CLAMP,12.7mm, Coat, 10.3mm Bolt Hole, P Type

2шт.

9

86557777

PLASTIC-RUBBER TUBE,0.51" ID x 9.00" L

1шт.

10

591182

BAND

5шт.

11

88682

CARRIAGE BOLT,Short Nk, 3/8"-16 x 1", Gr 5

6шт.

12

322358

BELLEVILLE WASHER,M8 Bolt Size x 18mm OD x 1.4mm Thk

3шт.

13

140045

BELLEVILLE WASHER,M10 Bolt Size x 22mm OD x 1.6mm Thk

4шт.

14

425-285

FLANGE NUT,Flg, 5/16"-18, G5

3шт.

15

425-286

FLANGE NUT,Flg, 3/8"-16, G5

6шт.

16

87313

JAM NUT,Jam, 3/4"-16, G2

2шт.

17

425-118

NUT,1/2"-20, G5

2шт.

18

80679

LOCK WASHER,1/20.507 CST ZND

2шт.

19

495-21056

WASHER,1/2"

2шт.

20

86624454

LAMP

See Figure 20.06.02

2шт.

21

86521552

BOLT,Hex, 5/16" - 18 x 3/4", Gr 5

4шт.

Выбрано товаров: 21