Запчасти Case IH DH182 (20.03.16) - FLOAT SPRING & JACK (15) - CROP CONDITIONING

Схема запчастей Case IH DH182 - (20.03.16) - FLOAT SPRING & JACK (15) - CROP CONDITIONING
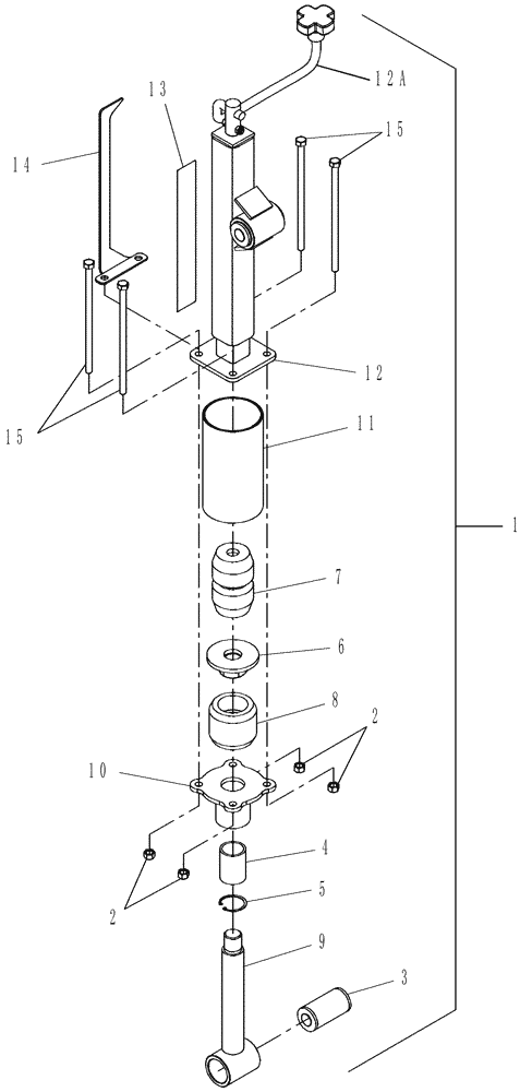
12a
4
14
8
7
6
12
15
3
13
2
9
11
1
5
2
10
15
FIT
1:1
100%

Артикул

Название

Примечание

Количество

1

87387156

JACK ASSY.

Float Spring

1шт.

2

88902

NUT,3/8"-16

4шт.

3

86565458

DRIVE BUSHING

1шт.

4

86565483

BUSHING

1шт.

5

167111

SNAP RING,1.50", Int, #150

1шт.

6

86565489

NUT

1шт.

7

86640620

SPRING

1шт.

8

86640621

SPRING

1шт.

9

87387157

SHAFT

Spring

1шт.

10

87387158

SLEEVE

Bushing

1шт.

11

87387159

SLEEVE

Outer

1шт.

12

87387160

JACK ASSY.

10" Stroke, Also Order Ref 13

1шт.

BPIN YAZB00998

1шт.

12

84288097

JACK

16" Stroke, Also Order Ref 13, Can Be backfit, See Figure 20.03.19

1шт.

PIN YAZB00998 and after

1шт.

12a

84154162

HANDLE

1шт.

13

87391138

DECAL

1шт.

14

87387161

INDICATOR

1шт.

15

280505

BOLT,Hex, 3/8"-16 x 7 1/2", G5

4шт.

Выбрано товаров: 19