Запчасти Case IH DH182 (20.03.19[00]) - HITCH, SELF STORE (12) - MAIN FRAME

Схема запчастей Case IH DH182 - (20.03.19[00]) - HITCH, SELF STORE (12) - MAIN FRAME
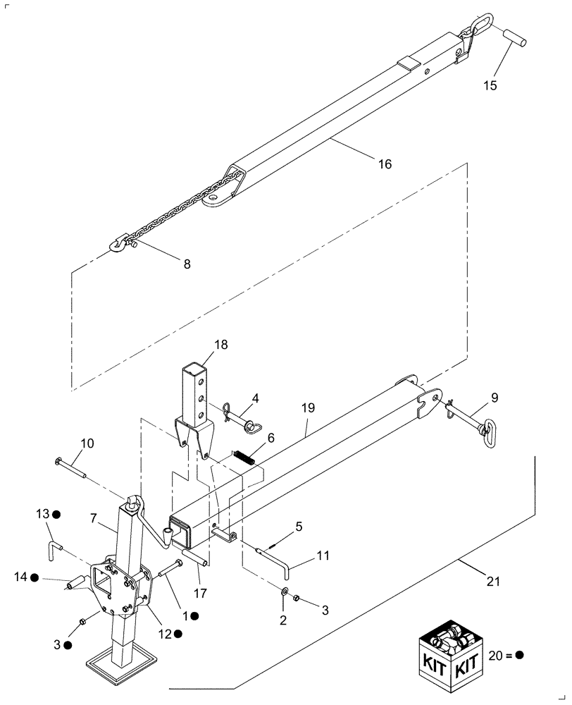
18
17
8
9
20
4
21
12
10
13
3
19
14
2
1
5
11
15
3
16
7
6
FIT
1:1
100%

Артикул

Название

Примечание

Количество

1

413-856

BOLT,Hex, 1/2" - 13 x 3-1/2", Gr 5

4шт.

1

86637561

BOLT

Carriage, G5, 1/2-13 x 4, Ref 12 Supersedes To Mount W/Square Holes

4шт.

2

495-21056

WASHER,1/2"

1шт.

3

232-4148

NUT,1/2"-13, GC

5шт.

4

86563633

PIN

Hitch, 3/4

1шт.

5

38-11216

LOCK PIN,3/16" x 1", Slotted

1шт.

6

86565137

SPRING

0.072 x 0.072 x 4

1шт.

7

86564356

JACK

1шт.

8

86564357

CHAIN

1шт.

9

87051531

HITCH PIN

1шт.

10

280856

CARRIAGE BOLT,Sq Nk, 1/2" - 13 x 5", Gr 5

1шт.

11

86565138

LOCK PIN

1шт.

12

87038998

BRACKET

1шт.

13

87038999

LOCK PIN

1шт.

14

87039000

SPACER

4шт.

15

87051532

PIN

1шт.

16

87051533

DRAWBAR

1шт.

17

87051538

SPACER

1шт.

18

87051539

DRAWBAR CLAMP

1шт.

19

87057994

SLEEVE

Drawbar, 18 FT

1шт.

DH182

1шт.

19

87051534

SLEEVE

Drawbar, 21 FT

1шт.

DH212

1шт.

19

87051535

SLEEVE

Drawbar, 25 FT

1шт.

DH252

1шт.

19

87051537

SLEEVE

Drawbar, 30/36 FT

1шт.

DH302 & 362

1шт.

20

87346221

KIT

Includes: Ref. 1, 3, & 12 Thru 14

1шт.

21

W0

ORDER WHOLEGOODS

Header Transport 18 ft, 726154006

1шт.

DH182

1шт.

21

726154016

DIA KIT, ADD PROD

Header Transport

1шт.

DH212

1шт.

21

726154026

DIA KIT, ADD PROD

Header Transport

1шт.

DH252

1шт.

21

726154036

DIA KIT, ADD PROD

Header Transport

1шт.

DH302

1шт.

21

726154046

DIA KIT, ADD PROD

Header Transport

1шт.

DH362

1шт.

Выбрано товаров: 38