Запчасти Case IH DH212 (20.07.05[2]) - HYDRAULICS, SINGLE SWATH, 21 FT (07) - HYDRAULICS

Схема запчастей Case IH DH212 - (20.07.05[2]) - HYDRAULICS, SINGLE SWATH, 21 FT (07) - HYDRAULICS
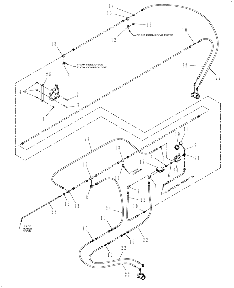
17
24
3
10
16
4
13
12
22
13
14
25
2
13
10
20
7
22
23
9
6
22
22
10
5
11
18
22
24
10
10
22
21
19
10
1
7
15
6
8
13
8
13
FIT
1:1
100%

Артикул

Название

Примечание

Количество

1

9707580

BOLT,Hex, 1/4" - 20 x 3/4", Gr 5, Full Thd

1шт.

2

87405

BOLT,Hex, 1/4" - 20 x 2 1/4", Gr 5

1шт.

3

87845

BOLT,Hex, 1/4" - 20 x 2 1/2", Gr 5

1шт.

4

9626558

FLANGE NUT,Flg, 1/4"-20

1шт.

5

86563540

ADAPTER

1шт.

6

325059

HYD CONNECTOR,7/8"-14, 37 Degree x 7/8"-14, O-Ring

2шт.

7

164910

90 ELBOW,7/8" - 14 JIC x 7/8" - 14 ORB

2шт.

8

219603

90 ELBOW,1-1/16" - 12 JIC x 1-1/16" - 12, 37 Degree Fem Sw

2шт.

9

689194

ELBOW,45 Degree, 1/4"-18 Female x 1/4"-18 Male

1шт.

10

86563542

HYD CONNECTOR

10MJO x 10MJO

6шт.

11

219605

ELBOW,45 Degree, 1 1/16"-12, 37 Degree x 1 1/16"-12, 37 Degree Fem Sw

1шт.

12

265978

TEE,1-1/16" - 12 JIC x 1-1/16" - 12 JIC x 1-1/16" - 12 JIC

1шт.

13

80015694

TEE,1 1/16"-12 37 Degree

5шт.

14

850459

REDUCER

1-1/16"-12F x 7/8"-14M

1шт.

15

86563543

ADAPTER

6MJ x 12FJ

2шт.

16

219606

CAP,1-1/16" - 12 JIC

1шт.

17

84270349

FLOW DIVIDER

11 GPM

1шт.

17

84298022

CARTRIDGE

Use For 84270349

1шт.

18

86563546

GAUGE

1шт.

19

87033323

COVER

1шт.

20

87042501

CONTROL

Draper Flow, 20 GPM

1шт.

21

86563548

ELBOW

C/W Guage Connection

1шт.

22

86563549

HYDRAULIC HOSE,0.50" ID x 22.00"

6шт.

23

84153484

HOSE

1шт.

24

87053585

HYDRAULIC HOSE,0.50" ID x 28.00"

10FJX/12FJX

2шт.

25

86593486

MOUNTING PLATE

1шт.

Выбрано товаров: 26