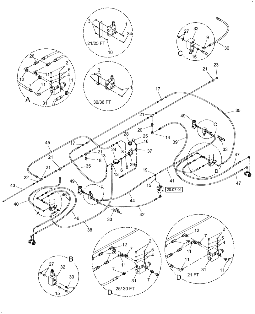
Запчасти Case IH DH212 (20.07.06) - HYDRAULICS, DOUBLE SWATH (07) - HYDRAULICS

Схема запчастей Case IH DH212 - (20.07.06) - HYDRAULICS, DOUBLE SWATH (07) - HYDRAULICS
26
7
12
14
15
18
11
21/25 ft
46
2
a
44
15
20.07.01
13
38
b
42
11
31
43
41
5
d
15
47
32
7
21
26
35
4
25
25/ 30 ft
33
21
a
11
c
11
17
17
47
45
36
32
40
26
19
7
d
24
27
28
13
29
21
35
12
30
20
33
16
12
49
c
7
3
27
21
37
49
1
23
8
46
11
10
3
22
11
1
7
39
8
11
9
31
5
4
21
2
4
d
b
34
31
30/36 ft
21 ft
6
5
2
FIT
1:1
100%

Артикул

Название

Примечание

Количество

1

87405

BOLT,Hex, 1/4" - 20 x 2 1/4", Gr 5

2шт.

2

87872

BOLT,Hex, 5/16" - 18 x 3/4", Gr 5

4шт.

3

9626558

FLANGE NUT,Flg, 1/4"-20

2шт.

4

80664

WASHER,0.38" ID x 0.88" OD x 0.08" Thk

4шт.

5

322358

BELLEVILLE WASHER,M8 Bolt Size x 18mm OD x 1.4mm Thk

4шт.

6

86563540

ADAPTER

1шт.

7

128819

HYD CONNECTOR,7/8" - 14 ORB x 3/4" - 16 JIC

4шт.

8

325059

HYD CONNECTOR,7/8"-14, 37 Degree x 7/8"-14, O-Ring

2шт.

9

76344

90 ELBOW,9/16" - 18 JIC x 9/16" - 18 ORB

1шт.

10

9707580

BOLT,Hex, 1/4" - 20 x 3/4", Gr 5, Full Thd

1шт.

11

84340

ELBOW,90 Degree, 3/4"-16, 37 Degree x 1 1/16"-12, O-Ring

4шт.

12

182977

90 ELBOW,90 Degree, 7/8"-14, 37 Degree x 7/8"-14, 37 Degree Fem Sw

2шт.

13

164910

90 ELBOW,7/8" - 14 JIC x 7/8" - 14 ORB

2шт.

14

219603

90 ELBOW,1-1/16" - 12 JIC x 1-1/16" - 12, 37 Degree Fem Sw

25 To 36 Ft Only

1шт.

15

76350

HYD CONNECTOR,9/16" - 18 ORB x 9/16" - 18 JIC

3шт.

16

689194

ELBOW,45 Degree, 1/4"-18 Female x 1/4"-18 Male

1шт.

17

86563542

HYD CONNECTOR

2шт.

18

219605

ELBOW,45 Degree, 1 1/16"-12, 37 Degree x 1 1/16"-12, 37 Degree Fem Sw

1шт.

19

86513014

TEE,9/16" - 18 JIC x 9/16" - 18 JIC x 9/16" - 18 JIC

1шт.

20

265978

TEE,1-1/16" - 12 JIC x 1-1/16" - 12 JIC x 1-1/16" - 12 JIC

3шт.

21

80015694

TEE,1 1/16"-12 37 Degree

5шт.

22

86563543

ADAPTER

6MJ x 12FJ

3шт.

23

219606

CAP,1-1/16" - 12 JIC

1шт.

24

84270349

FLOW DIVIDER

11 GPM

1шт.

24

84298022

CARTRIDGE

Use For 84270349

1шт.

25

86563546

GAUGE

1шт.

26

86595709

ADAPTER

4шт.

27

164380

O-RING,0.103" Thk x 0.924" ID, -119, Cl 5, 75 Duro

4шт.

28

87033323

COVER

1шт.

29

87042501

CONTROL

Draper Flow, 20 GPM

1шт.

30

330346

45 ELBOW,45 Degree, 9/16"-18, 37 Degree x 9/16"-18, O-Ring

1шт.

31

87053580

VALVE

Selector ( Reverser), DCV05; Includes: Screws (4) & Solenoid (1)

2шт.

32

87053581

VALVE

Deck Shift, 2 Pos.; Includes: Valve (1) & Coil (1)

2шт.

33

87053586

BOLT

HSH, M8 x 1.25 x 65

8шт.

34

87845

BOLT,Hex, 1/4" - 20 x 2 1/2", Gr 5

1шт.

35

87474548

HYDRAULIC HOSE,0.50" ID x 36.00"

10FJX

2шт.

36

86563657

HYDRAULIC HOSE,9.65 mm ID x 457.20 mm

6FJX

1шт.

37

86563548

ELBOW

W/1/4"NPT Gauge Connection

1шт.

38

86563549

HYDRAULIC HOSE,0.50" ID x 22.00"

1шт.

39

87050565

HYDRAULIC HOSE,0.50" ID x 22.00"

21 Ft, 10 x 12 FJX

1шт.

39

86563552

HYDRAULIC HOSE,12.70 mm ID x 660.40 mm

1шт.

40

87050565

HYDRAULIC HOSE,0.50" ID x 22.00"

10 x 12 FJX

1шт.

41

86599080

HYDRAULIC HOSE,0.38" ID x 48.00"

3/8"ID, 48", 6FJX

1шт.

42

84155587

HYDRAULIC HOSE

3/8"ID, 98", 6FJX x 10FJX

1шт.

43

84153484

HOSE

1шт.

43

84151670

HOSE

25 Ft, 1/4"ID, 128", 4 x 6 FJX

1шт.

43

84151672

HOSE

30 Ft, 1/4"ID, 159", 4 x 6 FJX

1шт.

43

84151674

HOSE

36 Ft, 1/4"ID, 197", 4 x 6 FJX

1шт.

44

87053584

HYDRAULIC HOSE,0.38" ID x 93.00"

6 FJX

1шт.

45

87053585

HYDRAULIC HOSE,0.50" ID x 28.00"

10 x 12 FJX

1шт.

46

87025567

HOSE,114.00"

2шт.

46

87534876

HOSE,12.70 mm ID x 3657.60 mm

10 FJX

2шт.

46

87533518

HOSE,12.70 mm ID x 825.00 mm

10 FJX

2шт.

46

84210765

HOSE

36 Ft, 1/2"ID, 203", 10 FJX

2шт.

47

87025567

HOSE,114.00"

2шт.

47

87025565

HOSE,12.70 mm ID x 3810.00 mm

2шт.

47

87496913

HOSE,12.7mm ID x 4470.4mm L

30 Ft, 1/2"ID, 176", 10 FJX

2шт.

47

84210764

HOSE

36 Ft, 1/2"ID, 213", 10 FJX

2шт.

48

86593486

MOUNTING PLATE

21 & 25 Ft Only

1шт.

49

84197518

HYDRAULIC MOTOR

2шт.

Выбрано товаров: 60