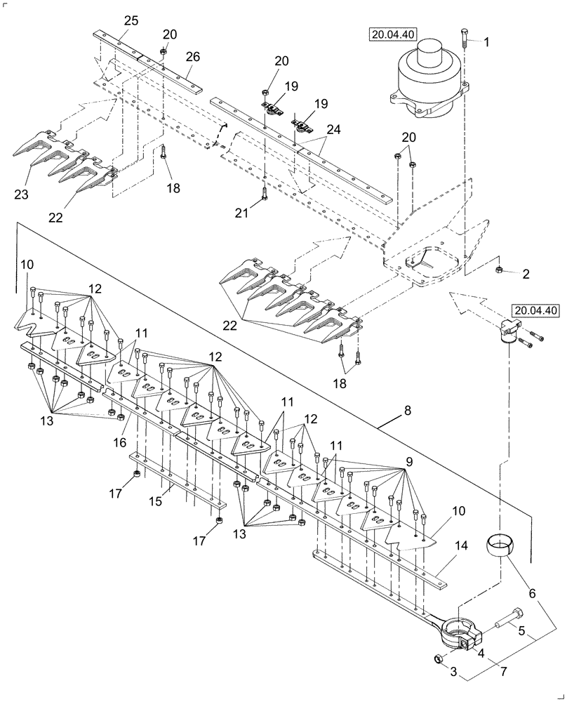
Запчасти Case IH DH302 (20.04.03) - SINGLE KNIFE DRIVE, SCHUMACHER CUTTING SYSTEM, 25 FT TO 36 FT (14) - CROP CUTTING

Схема запчастей Case IH DH302 - (20.04.03) - SINGLE KNIFE DRIVE, SCHUMACHER CUTTING SYSTEM, 25 FT TO 36 FT (14) - CROP CUTTING
20
25
26
13
18
18
11
14
2
3
11
12
11
10
17
12
9
13
21
15
20
7
16
20.04.40
23
20.04.40
22
17
1
20
19
10
8
4
6
5
24
19
22
12
FIT
1:1
100%

Артикул

Название

Примечание

Количество

1

86551024

BOLT,Hex, 1/2" - 20 x 2 1/4", Gr 8

4шт.

2

88130

NUT,1/2"-20, GC

4шт.

3

88871

NUT,1/2"-13, GC

1шт.

4

NSS

NOT SOLD SEPARAT

1шт.

5

87972

BOLT,Hex, 1/2" - 13 x 2 1/2", Gr 5

1шт.

6

87672659

INSERT

Steel

1шт.

7

87667487

SERVICE KIT

Knife Head

1шт.

8

87484235

KNIFE ASSY

25 Ft

1шт.

8

87484239

KNIFE ASSY

30 Ft

1шт.

8

87484240

KNIFE ASSY

36 Ft

1шт.

9

86563535

BOLT

M6 x 18

18шт.

10

87037117

KNIFE SECTION

Twin Point

2шт.

11

86561692

KNIFE

Section, Qty [98] 25 Ft, [118] 30 Ft, [143] 36 Ft

1шт.

12

86563537

BOLT

M6 x 16, Qty [184] 25 Ft, [224] 30 Ft, [274] 36 Ft

1шт.

13

353308

NUT,M6 x 1.0, Cl 8

Qty [184] 25Ft, [224] 30 Ft, [274] 36 Ft

1шт.

14

86561635

KNIFE

1шт.

15

86563538

BAR

1шт.

16

86563539

KNIFE

25 Ft

1шт.

16

86561634

KNIFE

30 Ft

1шт.

16

86564360

KNIFE

36 Ft

1шт.

17

86566837

INSERT

Threaded

8шт.

18

9706704

BOLT,Hex, M10 x 1.5 x 41.58mm, Cl 8.8

Qty [69] 25 Ft, [83] 30 Ft, [100] 36 Ft

1шт.

19

87670866

ROLLER

Roller Bridge, 25 Ft

16шт.

19

87670866

ROLLER

Roller Bridge, 30 Ft

19шт.

19

87670866

ROLLER

Roller Bridge, 36 Ft

23шт.

20

100016

NUT,M10 x 1.5, Cl 8

Qty [101] 25 Ft, [121] 30 Ft, [146] 36 Ft

1шт.

21

120068

BOLT,Hex, M10 x 40mm, Cl 8.8

Qty [32] 25 Ft, [38] 30 Ft, [46] 36 Ft

1шт.

22

86561686

GUARD

Qty [49] 25 Ft, [59] 30 Ft, [73] 36 Ft

1шт.

23

86561687

GUARD

25 & 30 Ft Only

1шт.

24

87672505

SPACER

6 Hole, 6mm, 25 Ft

16шт.

24

87672505

SPACER

6 hole, 6mm, 30 Ft

19шт.

24

87672505

SPACER

6 Hole, 6mm, 36 Ft

24шт.

25

87672711

BAR

3 Hole, 6mm, 25 & 30 Ft

1шт.

25

87672710

BAR

2 Hole, 6mm, 36 Ft

1шт.

26

87672710

BAR

2 Hole, 6mm, 25 Ft

1шт.

26

87672712

BAR

4 Hole, 6mm, 30 Ft

1шт.

26

Not Required 36 Ft

1шт.

Выбрано товаров: 37