Запчасти Case IH DHX181 (5.11) - REEL MOUNT, LH DOUBLE DRIVE, PRIOR TO PIN K01 2002 (13) - REEL

Схема запчастей Case IH DHX181 - (5.11) - REEL MOUNT, LH DOUBLE DRIVE, PRIOR TO PIN K01 2002 (13) - REEL
3
4
1
2
5
FIT
1:1
100%

Артикул

Название

Примечание

Количество

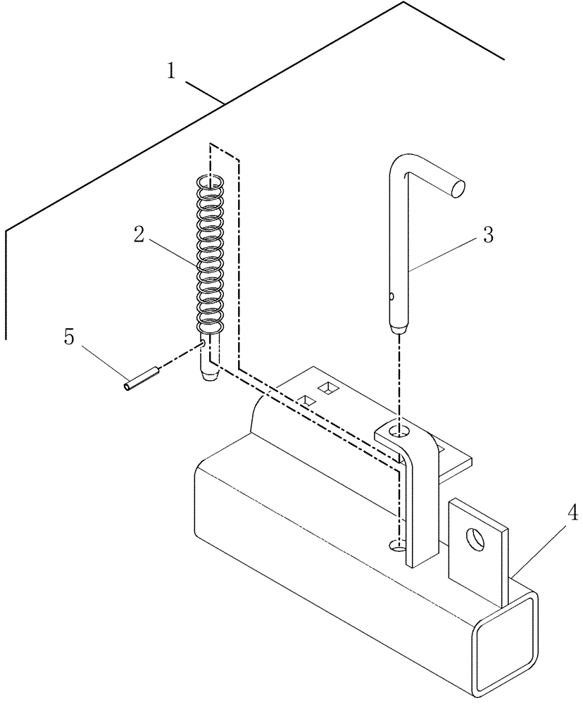
1

86561936

BASE

Reel Mount Assembly, LH, DDRV

1шт.

2

86565137

SPRING

Compression

1шт.

3

86565138

LOCK PIN

Reel Mount

1шт.

4

86561941

BASE

Mount, Reel, LH, DDRV

1шт.

5

38-11216

LOCK PIN,3/16" x 1", Slotted

1шт.

Выбрано товаров: 5