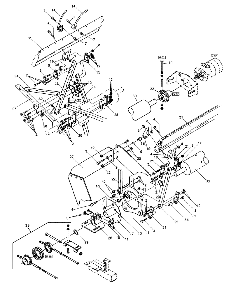
Запчасти Case IH DHX251 (5.31) - U2 REEL, 18, 21, 25, 30 & 36 FT (13) - REEL

Схема запчастей Case IH DHX251 - (5.31) - U2 REEL, 18, 21, 25, 30 & 36 FT (13) - REEL
1
26
12
31
28
9
6
32
2
12
3
23
8
21
2
8
3
31
12
36
23
36
35
29
8
19
18
9
3
12
11
12
7
11
33
21
29
34
22
19
21
15
12
21
16
8
30
14
13
10
14
12
24
2
36
28
8
9
2
12
15
25
4
8
27
32
5
3
1
8
7
2
4
17
9
20
24
2
30
19
4
28
FIT
1:1
100%

Артикул

Название

Примечание

Количество

1

413-416

BOLT,Hex, 1/4" - 20 x 1", Gr 5

For Plastic Tine

1шт.

1

86511904

SCREW,Pan, #4 - 40 x 3/4"

For Wire Tine

1шт.

2

413-424

BOLT,Hex, 1/4" - 20 x 1-1/2", Gr 5

1шт.

3

413-528

BOLT,Hex, 5/16" - 18 x 1-3/4", Gr 5

1шт.

4

413-544

BOLT,Hex, 5/16" - 18 x 2-3/4", Gr 5

1шт.

5

433-624

CARRIAGE BOLT,Sq Nk, 3/8" - 16 x 1 1/2", Gr 5

1шт.

6

86562215

FLANGE BOLT,3/8"-16 x 1.75", Cl 5

Flg Hd, G5, 3/8"-16 x 1-3/4"

1шт.

7

280129

NUT,1/4"-20

1шт.

8

231-1445

NUT,5/16"-18, GB

1шт.

9

495-21038

WASHER,5/16"

1шт.

10

495-21044

WASHER,3/8"

1шт.

11

232-4146

NUT,3/8"-16, GC

1шт.

12

86562216

NUT,Keps, w/LW,1/4"-20

Kep, 1/4"-20, w/Lock Washer

1шт.

13

219-1

LUBE NIPPLE,1/8" - 27 NPTF

1шт.

14

86562205

REEL TINE

Plastic

1шт.

14

86562180

REEL TINE

Wire

1шт.

15

86562181

PLATE

Tip

1шт.

16

86562182

RING

5 Bat

2шт.

16

86562206

RING

Ring, 6 Bat

2шт.

18 FT Thru 30 FT Only

1шт.

17

86562183

CONTROL

Plate

2шт.

Can Be Used In Place Of Newer Plate W/Newer Sprocket If 1/4" Of Material Is Trimmed Off

1шт.

Used In Production

1шт.

17

87524555

CONTROL

Plate; Includes: Bushings

2шт.

Can Be Used In Place Of Prior Plate W/Prior Sprocket If 4-5 Washers, 86562200 Are Added

1шт.

Will Replace 86562183 For Service

1шт.

17

87549064

BUSHING

Bushing

4шт.

Not Shown

1шт.

Used W/87524555

1шт.

18

86562184

ROLLER

Ctl Plt

6шт.

19

86562185

BEARING CARRIER

1шт.

20

86511930

SCREW,Pan, 1/4" - 20 x 3/8"

Pan Hd, G2, 1/4"-20 x 3/8"

20шт.

21

86562186

END PLATE

1шт.

22

86562187

ARM

Fxd Control

2шт.

23

86562188

ARM

Lg Arm, 5 x 42

1шт.

23

86562207

ARM

Lg Arm, 6 x 42 (6 Bat)

1шт.

18 FT Thru 30 FT Only

1шт.

24

86562196

SUPPORT

Brace, 5 x 42

1шт.

24

86562208

SUPPORT

Brace, 6 x 42 (6 Bat)

1шт.

18 FT Thru 30 FT Only

1шт.

25

86562197

ARM

Reg Control

8шт.

26

86604795

CLAMP

18, 21, 25, 30 & 36 FT

2шт.

27

86562195

SHIELD

5 Bat

10шт.

27

86562209

SHIELD

End, 6 Bat, 18 FT thru 36 FT

10шт.

28

86562199

PLATE

Inner, 5 x 42

1шт.

28

86562210

PLATE

Plate, Inner, 6 x 42 (6 Bat)

1шт.

18 FT Thru 30 FT Only

1шт.

29

86562200

WASHER

Shaft

4шт.

30

86562218

SHAFT

Center, 18 & 36FT

1шт.

30

87048896

SHAFT

Center, 18FT, 6 Bat

1шт.

30

86562219

SHAFT

Center, 21FT

1шт.

30

86624879

SHAFT

Center, 21FT, 6 Bat

1шт.

30

86562201

SHAFT

Center, 25FT

1шт.

30

86624872

SHAFT

Center, 25FT, 6 Bat

1шт.

30

86562202

SHAFT

Center, 30FT

1шт.

30

87048897

SHAFT

Center, 30FT

1шт.

31

86562220

SUPPORT

Reel bat -Al-18 & 36 FT

5шт.

31

86562221

SUPPORT

Reel bat -Al-21FT

5шт.

31

86562203

SUPPORT

Reel bat -Al-25FT

5шт.

31

86562204

SUPPORT

Reel bat -Al-30FT

5шт.

32

86562214

BOLT,5/16" x 1 3/4"

5/16" x 1-3/4", NTL

1шт.

33

86565164

COUPLING

A-U2P/UP Reel, See Separate Breakdown, Fig 5.37

1шт.

Used In Production

1шт.

33

87524557

COUPLING

Coupling, A-U2P/UP Reel, See Separate Breakdown, Fig 5.37

1шт.

Can Be Used In Place Of Older Coupling W/Older Plate If 1/4" Of Material Is Trimmed Off Plate 86562183

1шт.

Replaces 86565164 For Service

1шт.

34

86562084

KIT

Roll Pin, 2-3/4", See Separate Breakdown, Fig 6.02

1шт.

35

86562226

KIT

Mount, 36 FT, See Separate Breakdown, Fig 5.38

1шт.

Выбрано товаров: 68