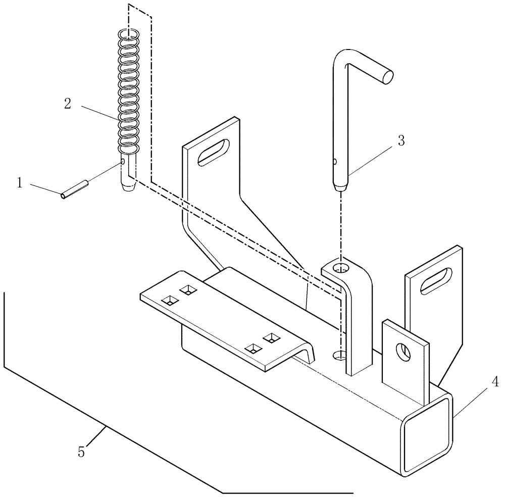
Запчасти Case IH DHX251 (5.10[1]) - REEL MOUNT, RH DOUBLE DRIVE, PRIOR TO PIN K01 2002 (13) - REEL

Схема запчастей Case IH DHX251 - (5.10[1]) - REEL MOUNT, RH DOUBLE DRIVE, PRIOR TO PIN K01 2002 (13) - REEL
4
5
1
3
2
FIT
1:1
100%

Артикул

Название

Примечание

Количество

1

38-11216

LOCK PIN,3/16" x 1", Slotted

1шт.

2

86565137

SPRING

Compression

1шт.

3

86565138

LOCK PIN

Reel Mount

1шт.

4

86561659

BASE

Mount, Reel, RH, DDRV

1шт.

5

86561651

BASE

Mount, Reel, Assembly, RH, DDRV

1шт.

Выбрано товаров: 5