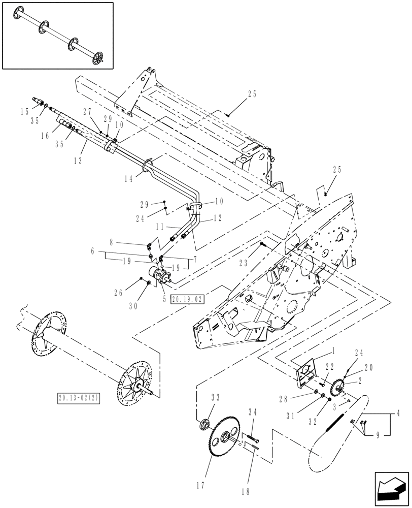
Запчасти Case IH HSX142 (20.19.01[2]) - REEL DRIVE, HYDRAULIC, ASN (35) - HYDRAULIC SYSTEMS

Схема запчастей Case IH HSX142 - (20.19.01[2]) - REEL DRIVE, HYDRAULIC, ASN (35) - HYDRAULIC SYSTEMS
24
25
14
3
22
h
13
32
10
23
16
15
29
25
12
20.19.02
17
4
m
l
26
5
34
27
18
6
30
28
7
20.13-02(2)
8
9
20
29
19
19
35
10
24
11
1
33
31
2
35
FIT
1:1
100%

Артикул

Название

Примечание

Количество

2

86900436

SPROCKET

25T, RC60

1шт.

3

80768

WOODRUFF KEY,#15, 1/4" x 1"

1шт.

4

87014085

CHAIN,#60, 104 Links x 19.05mm = 1981.2mm

RC60

1шт.

5

86705516

HYDRAULIC MOTOR

Reel Drive, Includes: Ref. 3

1шт.

6

325059

HYD CONNECTOR,7/8"-14, 37 Degree x 7/8"-14, O-Ring

1шт.

7

164910

90 ELBOW,7/8" - 14 JIC x 7/8" - 14 ORB

1шт.

8

182977

90 ELBOW,90 Degree, 7/8"-14, 37 Degree x 7/8"-14, 37 Degree Fem Sw

1шт.

9

165590

CONNECTING LINK

1шт.

10

600427

CLAMP,25.4mm, Coat, 8.7mm Bolt Hole, P Type

1шт.

11

87055602

HOSE,12.70 mm ID x 2540 mm, SAE 100R17

Includes: Ref. 33

1шт.

12

87055602

HOSE,12.70 mm ID x 2540 mm, SAE 100R17

Includes: Ref. 33

1шт.

13

9612137

HOSE PROTECTION

2шт.

14

263117

CABLE TIE,292.1mm L, Nylon, Black

CABLE STRAP

1шт.

15

85999239

QUICK MALE COUPLING,3/8" x 3/4" - 16 ORB

1шт.

16

85999238

COUPLING, QUICK, FEM,3/8" x 3/4" - 16 ORB

1шт.

17

87553097

SPROCKET

63T, RC60

1шт.

18

25620

WRENCH

KEY, LOCK Square, 3/8" x 2-1/4"

1шт.

19

167269

O-RING,0.097" Thk x 0.755" ID, -910, Cl 6, 90 Duro

1шт.

20

9635082

NUT,5/16" - 18, Gr 5

2шт.

22

88586

CARRIAGE BOLT,Sq Nk, 7/16" - 14 x 1 1/2", Gr 5

2шт.

23

280504

CARRIAGE BOLT,Sq Nk, 1/2" - 13 x 2 1/4", Gr 5

4шт.

24

86542821

SET SCREW,Sq Hd, 5/16"-18 x 7/8"

2шт.

25

86521552

BOLT,Hex, 5/16" - 18 x 3/4", Gr 5

2шт.

26

280717

NUT,7/16"-14, G5

2шт.

27

86521605

FLANGE NUT,5/16"-18, Cl 5

1шт.

28

262183

WASHER

4шт.

29

322358

BELLEVILLE WASHER,M8 Bolt Size x 18mm OD x 1.4mm Thk

1шт.

30

140046

BELLEVILLE WASHER,M12 Bolt Size x 27mm OD x 1.8mm Thk

2шт.

31

86513238

LOCK WASHER,.515” ID x 1.070” OD x .120” TK

4шт.

32

86521607

FLANGE NUT,Flg, 1/2"-13, G5

4шт.

33

87553094

KIT

Includes: Ref. 35

1шт.

34

NSS

NOT SOLD SEPARAT

Bolt, Special

3шт.

35

128825

O-RING,0.087" Thk x 0.644" ID, -908, Cl 6, 90 Duro

2шт.

Выбрано товаров: 33