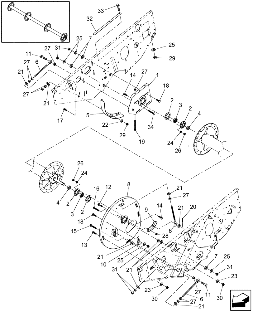
Запчасти Case IH HSX142 (20.13.01[2]) - REEL MOUNTING (58) - ATTACHMENTS/HEADERS

Схема запчастей Case IH HSX142 - (20.13.01[2]) - REEL MOUNTING (58) - ATTACHMENTS/HEADERS
26
21
18
31
27
23
21
4
25
26
2
20
18
33
14
25
24
11
4
6
32
27
22
27
14
11
9
16
31
8
2
21
6
24
27
31
27
12
21
2
10
5
29
2
25
13
3
29
30
34
6
25
15
27
7
21
19
27
1
28
3
30
17
7
21
23
21
FIT
1:1
100%

Артикул

Название

Примечание

Количество

1

86632104

SUPPORT

1шт.

2

86635012

FLANGE

Bearing

4шт.

3

571588R92

BALL BEARING,1.3755" ID x 72 mm OD x 1"

2шт.

4

517645R11

COLLAR

2шт.

5

87013301

GUARD

1шт.

6

700641

EYEBOLT

3шт.

7

262183

WASHER

6шт.

8

86632095

CAM

1шт.

9

181853

CAM

1шт.

10

86632102

ANGLE

1шт.

11

413-836

BOLT,Hex, 1/2" - 13 x 2-1/4", Gr 5

2шт.

12

458-616

BOLT,Hex Flg, 3/8" - 16 x 1", Gr 5

1шт.

13

88682

CARRIAGE BOLT,Short Nk, 3/8"-16 x 1", Gr 5

2шт.

14

433-620

CARRIAGE BOLT,Sq Nk, 3/8" - 16 x 1 1/4", Gr 5

6шт.

15

433-632

CARRIAGE BOLT,Sq Nk, 3/8" - 16 x 2", Gr 5

1шт.

16

433-840

CARRIAGE BOLT,Sq Nk, 1/2" - 13 x 2 1/2", Gr 5

2шт.

17

434-512

CARRIAGE BOLT,Sht Sq Nk, 5/16" - 18 x 3/4", Gr 5

3шт.

18

434-816

CARRIAGE BOLT,Sht Sq Nk, 1/2" - 13 x 1", Gr 5

3шт.

19

281001

BOLT,Tap, Hex, 1/2" - 13 x 4 1/2", Gr 5

2шт.

20

432-816

COTTER PIN,1/8" x 1"

1шт.

21

495-21056

WASHER,1/2"

10шт.

22

322358

BELLEVILLE WASHER,M8 Bolt Size x 18mm OD x 1.4mm Thk

5шт.

23

140045

BELLEVILLE WASHER,M10 Bolt Size x 22mm OD x 1.6mm Thk

3шт.

24

492-11038

LOCK WASHER,3/8"

6шт.

25

86513238

LOCK WASHER,.515” ID x 1.070” OD x .120” TK

Belleville, 1/2"

7шт.

26

425-106

NUT,3/8"-16, Cl 5

6шт.

27

425-108

NUT,1/2" - 13, Gr 5

13шт.

28

232-4146

NUT,3/8"-16, GC

1шт.

29

425-285

FLANGE NUT,Flg, 5/16"-18, G5

5шт.

30

425-286

FLANGE NUT,Flg, 3/8"-16, G5

3шт.

31

425-288

FLANGE NUT,Flg, 1/2"-13, G5

7шт.

32

87014829

ANGLE

1шт.

33

458-512

BOLT,Hex, 5/16" - 18 x 3/4", Gr 5

2шт.

34

433-832

CARRIAGE BOLT,Sq Nk, 1/2" - 13 x 2", Gr 5

2шт.

Выбрано товаров: 34