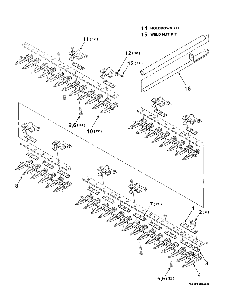
Запчасти Case IH 8820 (3-20) - HOLDDOWN AND GUARD ASSEMBLY, 14 FOOT SUPER EXTENDED TANG (09) - CHASSIS

Схема запчастей Case IH 8820 - (3-20) - HOLDDOWN AND GUARD ASSEMBLY, 14 FOOT SUPER EXTENDED TANG (09) - CHASSIS
16
10
8
4
2
1
14
15
9
3
5
6
6
12
11
13
7
FIT
1:1
100%

Артикул

Название

Примечание

Количество

1

6832240

PLATE

- filler, left

1шт.

2

771501

BOLT,Hex, 7/16" - 20 x 1", Gr 5

7/16-20 x 1 C

2шт.

3

6832273

SHIM

- left

1шт.

4

49395

GUARD

- single

1шт.

5

700112

CONCAVE

7/16-14 x 1-1/2 RHSNB

32шт.

6

704080

NUT,7/16"-14, G5

7/16-14 H

56шт.

7

700111956

PLATE

SHIM

21шт.

8

748160

GUARD

- double, center

1шт.

9

7770654

BOLT,Round, 7/16" - 14 x 2", Grade 5

7/16-14 x 2 RHSNB

24шт.

10

700700845

GUARD

GUARD - double

27шт.

Ref #10 These guards are field installed only. Headers come standard with p/n 700707147 guards only. By:tsg bc 8/22/97

1шт.

11

700703453

FORK

HOLDDOWN

12шт.

12

700703455

NUT

WELD NUT

12шт.

13

7703499

BOLT,Hex, 5/16" - 18 x 3/4", Gr 5

5/16-18 x 3/4 C

12шт.

14

700107018

COVER PLATE

HOLDDOWN KIT - with hardware (Includes items 6, 9, 11, 12 and 13)

1шт.

15

700107019

KIT

WELD NUT KIT - with hardware (Includes 10 of items 12 and 13)

1шт.

16

6135081

GUARD

STRAIGHTENER TOOL

1шт.

Выбрано товаров: 17