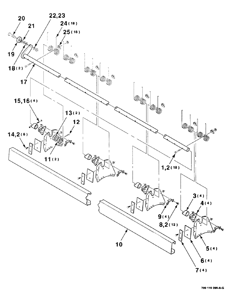
Запчасти Case IH 8830 (4-08) - REEL BAT AND TINE TUBE ASSEMBLY, 12 FOOT, TINE TUBE ASSEMBLY A (09) - CHASSIS

Схема запчастей Case IH 8830 - (4-08) - REEL BAT AND TINE TUBE ASSEMBLY, 12 FOOT, TINE TUBE ASSEMBLY A (09) - CHASSIS
2
20
21
10
25
2
19
17
1
16
11
12
5
18
14
24
8
22
7
2
9
23
6
3
4
15
13
FIT
1:1
100%

Артикул

Название

Примечание

Количество

1

413-532

BOLT,Hex, 5/16" - 18 x 2", Gr 5

18шт.

2

231-5145

SERRATED NUT,Flg, USR, 5/16"-18

NUT, Flg, USR, 5/16"-18

38шт.

3

6105159

NYLON BEARING,1.75"

BEARING - tine

4шт.

4

700119832

HOUSING

- bearing

4шт.

5

700114555

SUPPORT

- bearing

4шт.

6

700114544

LARGE PLATE

PLATE - reel

4шт.

7

700114543

RETAINER

4шт.

8

121-115

SERRATED BOLT,Hex, 5/16" - 18 x 3/4"

12шт.

9

6831986

COVER

- bearing

4шт.

10

700124067

BAT

- reel

1шт.

11

195-2139

WASHER,36.52mm ID x 57.15mm OD x 2.03mm Thk

1-3/8 X 18 GAUGE NRMB

2шт.

12

432-1632

COTTER PIN,1/4" x 2"

Pin, Split (Cotter), 1/4" x 2"

1шт.

13

195-2139

WASHER,36.52mm ID x 57.15mm OD x 2.03mm Thk

1-3/8 X 14 GAUGE NRMB

2шт.

14

111-237

CARRIAGE BOLT,Short NK, 5/16"-18 x 1", G5

BOLT, CARRIAGE, Short NK, 5/16"-18 x 1", G5

8шт.

15

413-432

BOLT,Hex, 1/4" - 20 x 2", Gr 5

4шт.

16

232-4114

LOCK NUT,1/4"-20, GC

1/4-20 HTLN GR B

4шт.

17

6805816

TUBE

WA - tine, 12 foot "A"

1шт.

18

52233

BUSHING

5/8 X 14 GAUGE NRMB

2шт.

19

667925R91

ROLLER BEARING,0.628" ID x 2" OD x 15 mm

1шт.

20

8701005

SPECIAL BOLT,Hex, 5/8" - 18 x 2 1/4", Gr 5

5/8-18 X 2-1/4 C SPECIAL

1шт.

21

52175

BUSHING,25.48mm ID x 38.2mm OD x 3.17mm L

5/8 X 18 GAUGE NRMB

1шт.

22

492-11062

BEARING WASHER,5/8"

WASHER, LOCK, 5/8"

1шт.

23

425-1510

JAM NUT,Jam, 5/8"-18, G5

5/8-18 HEX JAM NUT GR 2

1шт.

24

750075

TINE

- double

18шт.

25

261024

CLIP

- tine

18шт.

Выбрано товаров: 25