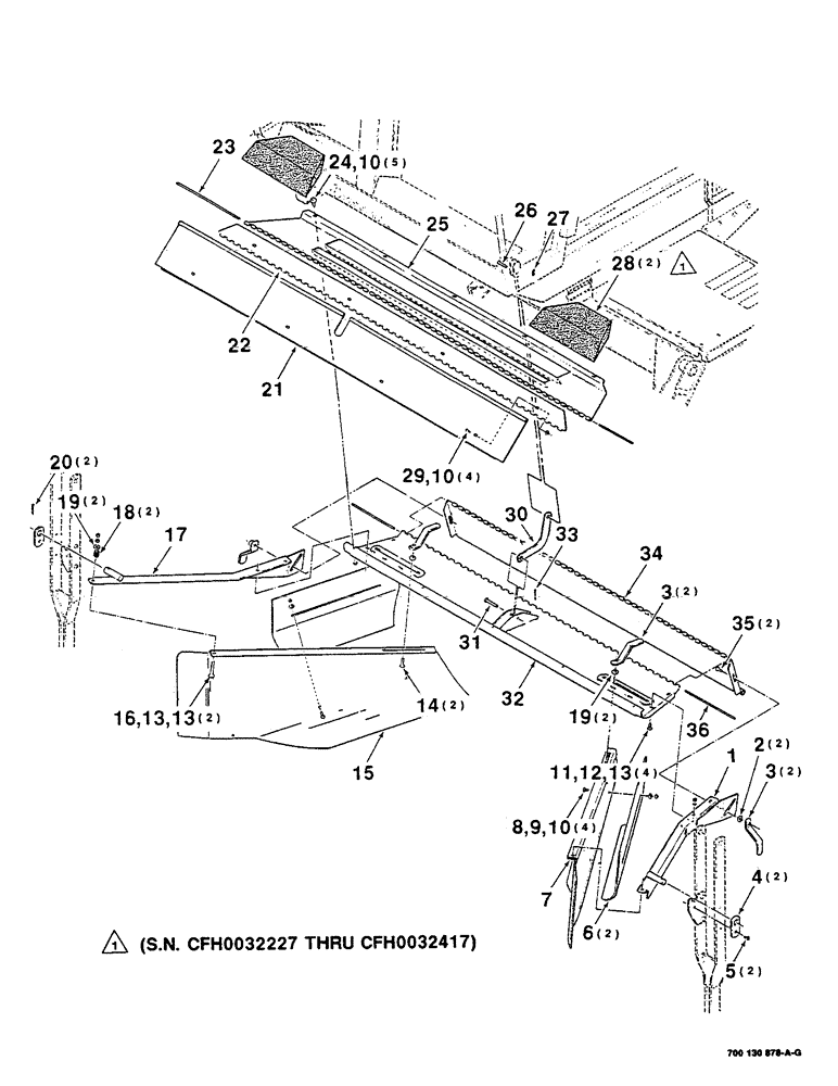
Запчасти Case IH 8840 (7-26) - WINDROW FORMING SHIELD ASSEMBLIES (S.N. CFH0032001 THRU CFH0032417) (58) - ATTACHMENTS/HEADERS

Схема запчастей Case IH 8840 - (7-26) - WINDROW FORMING SHIELD ASSEMBLIES (S.N. CFH0032001 THRU CFH0032417) (58) - ATTACHMENTS/HEADERS
10
31
15
7
16
34
4
35
11
2
10
8
25
6
33
1
13
9
22
32
28
14
24
26
13
3
19
3
18
20
27
30
29
19
17
21
23
10
5
12
13
36
FIT
1:1
100%

Артикул

Название

Примечание

Количество

1

700110761

ANGLE

- mounting, left

1шт.

2

496-21047

WASHER

7/16 HARDENED PLAIN WASHER

2шт.

3

6232532

NUT

- nut

4шт.

4

700110223

STRAP

RETAINER - strap

2шт.

5

7883366

SCREW,Hex Washer, 3/8" - 16 x 1/2"

3/8-16 X 1/2 HWHMS

2шт.

6

700115447

SHIELD

EXTENSION - shield, forming

2шт.

7

700110903

SHIELD

- forming, left

1шт.

8

433-512

CARRIAGE BOLT,Sq Nk, 5/16" - 18 x 3/4", Gr 5

4шт.

9

496-21034

WASHER,11/32" x 11/16" x 0.89", HDN

4шт.

10

231-5145

SERRATED NUT,Flg, USR, 5/16"-18

NUT, Flg, USR, 5/16"-18

13шт.

11

111-360

CARRIAGE BOLT,Short NK, 3/8"-16 x 3/4", G5

BOLT, CARRIAGE, Short NK, 3/8"-16 x 3/4", G5

4шт.

12

492-11038

LOCK WASHER,3/8"

4шт.

13

425-106

NUT,3/8"-16, Cl 5

8шт.

14

434-616

CARRIAGE BOLT,Sht Sq Nk, 3/8" - 16 x 1", Gr 5

3/8-16 X 1 RHSNB

2шт.

15

700110904

SHIELD

- forming, right

1шт.

16

413-636

BOLT,Hex, 3/8" - 16 x 2-1/4", Gr 5

2шт.

17

700110762

ANGLE

- mounting, right

1шт.

18

58644

SPRING

- compression

2шт.

19

496-11041

WASHER,13/32" x 13/16" x .065", HDN

3/8 HARDENED PLAIN WASHER

4шт.

20

432-1212

COTTER PIN,3/16" x 3/4"

3/16" x 3/4"

2шт.

21

700115776

COVER

- forming shields

1шт.

22

700115778

HINGE

1шт.

23

700115779

PIN

- hinge

1шт.

24

256873

BOLT,Hex Serr, 5/16" - 18 x 1/2", 5SPL, Full Thd

5шт.

25

700115777

EXTENSION

- forming shield

1шт.

26

141-11

CLEVIS PIN,3/8" x 1 1/4"

3/8 X 1-1/4 CLEVIS PIN

1шт.

27

T54573

PIN

.120 HAIRPIN COTTER

1шт.

28

700709977

FOAM

FILLER - foam

2шт.

29

1270468C1

SELF-TAP SCREW,Cross Pan Hd, 5/16" - 18 x 1/2"

5/16-18 X 1/2 CRPHMS

4шт.

30

700114795

HANGER

1шт.

31

63644

CLEVIS PIN

3/8 X 2-1/8 CLEVIS PIN

1шт.

32

700110757

PLATE

SHIELD - top

1шт.

33

432-812

COTTER PIN,3/4" OAL x 1/8" W

PIN, SPLIT (COTTER), 1/8" x 3/4"

1шт.

34

700111945

DEFLECTOR

- rear

1шт.

35

434-612

CARRIAGE BOLT,Sht Sq Nk, 3/8" - 16 x 3/4", Gr 5

3/8-16 X 3/4 RHSSNB

2шт.

36

6177794

PIN

- hinge

1шт.

Выбрано товаров: 36