Запчасти Case IH INTERNATIONAL (4-48) - ELECTRIC SYSTEM, FOR REEL DRIVE VARIABLE SPEED (06) - ELECTRICAL

Схема запчастей Case IH INTERNATIONAL - (4-48) - ELECTRIC SYSTEM, FOR REEL DRIVE VARIABLE SPEED (06) - ELECTRICAL
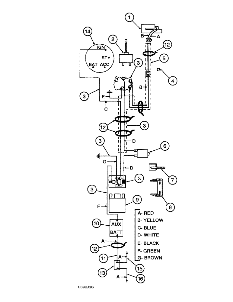
1
3
14
10
11
15
13
5
2
12
6
3
3
3
7
8
12
4
16
9
12
3
3
FIT
1:1
100%

Артикул

Название

Примечание

Количество

1

91227C91

ACTUATOR,12V

ACTUATOR ASSEMBLY - spout, variable speed reel drive, parts list page 4-55 (Replaces actuator assembly 116220C94)

1шт.

21932R1

HEADED PIN,1/2" x 2"

PIN - headed, 1/2 x 2 inch grade 1

1шт.

439-5840

HEADED PIN,1/2" x 2 1/2"

PIN - headed, 1/2 x 2-1/2 inch (Replaces pin 22804R1)

1шт.

132-91

COTTER PIN,3/16" x 1"

Pin, Split (Cotter), (Replaces pin 103407) 3/16" x 1"

2шт.

495-81287

WASHER,13.49mm ID x 31.75mm OD x 3.4mm Thk

- flat, 17/32 x 1-1/4 x 7/64 inch

2шт.

2

529933R91

SWITCH

- spout control, variable reel drive control

1шт.

3

832085C1

HARNESS

- control main wiring

1шт.

4

515-2348

CLAMP,4.8mm ID, 10.3mm Bolt Hole, P Type

- clutch cable, harness (Replaces clamp 117762H)

1шт.

5

831776C2

HARNESS

- motor wiring

1шт.

6

393209R91

SWITCH

- neutral safety

1шт.

7

832082C1

STUD

- safety switch actuating

1шт.

425-105

NUT,5/16"-18, G5

- hex, 5/16 inch NC

2шт.

8

831532C1

SUPPORT

- switch

1шт.

113-206

BOLT,Hex, 3/8" - 16 x 3/4", Gr 5, Full Thd

(Replaces bolt 180120) Hex, 3/8"-16 x 3/4", G5, Full Thd

2шт.

425-106

NUT,3/8"-16, Cl 5

2шт.

192-21

LOCK WASHER,3/8"

WASHER, LOCK, (Replaces washer 120382) 3/8"

2шт.

495-61041

WASHER,10.31mm ID x 25.4mm OD x 1.6mm Thk

2шт.

9

1983394C2

RELAY

- actuator (Replaces relay 823537C1)

1шт.

10

403069R1

CIRCUIT-BREAKER,30A

BREAKER - circuit, 30 ampere

1шт.

225-14210

NUT,#10-32

(Replaces nut 120614) #10-32

2шт.

470-11016

SCREW,Pan HD, #10 - 24 x 1"

- machine, pan head slotted, No. 10 NC x 1 inch (Replaces screw 436736)

1шт.

225-14110

NUT,#10-24

1шт.

192-18

LOCK WASHER,Helical Spring, #10, 0.196" ID, CST, ZND

WASHER, LOCK, (Replaces washer 120217) #10

1шт.

495-81099

WASHER,0.2" ID x 0.5" OD x 0.06" Thk

- flat, 13/64 x 1/2 x 3/64 inch (Replaces washer 607893R1)

1шт.

11

831778C1

CABLE

- circuit breaker

1шт.

12

306132C1

CABLE TIE,14.5" L

STRAP - tie, 14 inch

15шт.

13

128359H1

BREAKER

- circuit, for connecting parts see chassis parts catalog

1шт.

14

677221R91

SWITCH

- starting, key ignition

1шт.

15

REF

INSTRUCTION

WIRE - red, part of main harness to main fuse holder, see chassis parts catalog electrical system

1шт.

16

REF

INSTRUCTION

WIRE - red, part of main harness to battery terminal starter solinoid, see chassis parts catalog electrical system

1шт.

Выбрано товаров: 30