Запчасти Case IH INTERNATIONAL (3-86) - HEADER LIFT SLAVE CYLINDER, 1.5 X 11.7 RAM TYPE, CESSNA (07) - HYDRAULICS

Схема запчастей Case IH INTERNATIONAL - (3-86) - HEADER LIFT SLAVE CYLINDER, 1.5 X 11.7 RAM TYPE, CESSNA (07) - HYDRAULICS
FIT
1:1
100%

Артикул

Название

Примечание

Количество

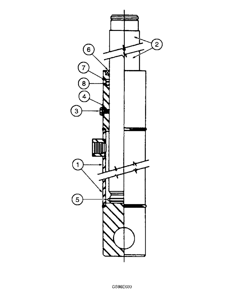
832042C91

CYLINDER

ASSEMBLY - header lift slave

1шт.

1

NSS

NOT SOLD SEPARAT

BODY - cylinder, order cylinder assembly 832042C91

1шт.

2

825535C1

ROD

- piston, no longer available, order cylinder assembly 832042C91

1шт.

3

825536C1

FLANGE BOLT,Hex, #10 - 24 x 15/64"

SCREW - bleeder

1шт.

4

NSS

NOT SOLD SEPARAT

WASHER - Dyna-Seal, order kit 823375C3

1шт.

5

NSS

NOT SOLD SEPARAT

RING - rod lock, order kit 823375C3

1шт.

6

NSS

NOT SOLD SEPARAT

WIPER - piston rod, order kit 823375C3

1шт.

7

NSS

NOT SOLD SEPARAT

WASHER - O-ring back-up, order kit 823375C3

1шт.

8

NSS

NOT SOLD SEPARAT

O-RING - 1-1/2 x 1-7/8 inch, order kit 823375C3

1шт.

823375C3

SEAL KIT

- O-ring and seal service

1шт.

Выбрано товаров: 10