Запчасти Case IH INTERNATIONAL (2-22) - PICK-UP REEL (13) - REEL

Схема запчастей Case IH INTERNATIONAL - (2-22) - PICK-UP REEL (13) - REEL
FIT
1:1
100%

Артикул

Название

Примечание

Количество

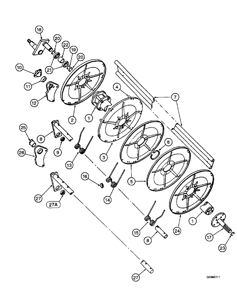
1

828818C1

REEL,159.33" Length

TUBE - reel, 12 foot frame

1шт.

1

828819C1

REEL,159.33" Length

TUBE - reel, 14 foot frame

1шт.

2

828809C1

PLATE

- tine tube, left-hand end

1шт.

3

REF

INSTRUCTION

PLATE - tine tube, inner left-hand, order plate 828809C1 and eight 97457R1 spacers

1шт.

24621R1

BOLT,Hex, 3/8" - 16 x 2 1/4", Gr 8

8шт.

113-411

BOLT,Hex, 1/2" - 13 x 4-1/2", Gr 5

(Replaces bolt 433156) Hex, 1/2"-13 x 4 1/2", G5

5шт.

231-5146

FLANGE NUT,3/8"-16

8шт.

129-105

NUT,Hex, 1/2" - 13, Gr 5

(Replaces nut 120378) 1/2"-13, G5

5шт.

192-23

LOCK WASHER,1/2"

WASHER, LOCK, (Replaces washer 120384) 1/2"

5шт.

4

97457R1

SPACER,3/8" X-Strng Pipe x 1 9/16"

- tine tube plate, 3/8 x 1-15/32 inch

8шт.

5

540556R1

PLATE

- tine tube

2шт.

413-610

BOLT,Hex, 3/8" - 16 x 5/8", Gr 5

(Replaces bolt 180118) Hex, 3/8"-16 x 5/8", G5, Full Thd

16шт.

231-5146

FLANGE NUT,3/8"-16

16шт.

6

829939C1

BUMPER

- tine tube plate

2шт.

7

828811C2

BAT

- reel, 12 foot

4шт.

7

828812C2

BAT

- reel, 14 foot

4шт.

113-206

BOLT,Hex, 3/8" - 16 x 3/4", Gr 5, Full Thd

(Replaces bolt 180120) Hex, 3/8"-16 x 3/4", G5, Full Thd

32шт.

231-5146

FLANGE NUT,3/8"-16

32шт.

495-81136

WASHER,10.31mm ID x 25.4mm OD x 3.81mm Thk

- flat, 13/32 x 1 x 1/8 inch (Replaces washer 20803R1)

32шт.

8

827735C91

TUBE

ASSEMBLY - pick-up finger tine no. 1, 12 foot, 18 spring holes, used with headers having serial numbers, Serial Range: prior-1401

2шт.

8

827736C91

TUBE

ASSEMBLY - pick-up finger tine no. 2, 12 foot, 19 spring holes, used with headers having serial numbers, Serial Range: prior-1401

2шт.

8

827601C91

TUBE

ASSEMBLY - pick-up finger tine no. 1, 14 foot, 21 spring holes, used with headers having serial numbers, Serial Range: prior-1401

2шт.

8

827602C91

TUBE

ASSEMBLY - pick-up finger tine no. 2, 14 foot, 22 spring holes, used with headers having serial numbers, Serial Range: prior-1401

2шт.

9

611928R91

BALL BEARING,13 mm ID x 40 mm OD x 18 mm

- reel support arm

4шт.

113-412

BOLT,Hex, 1/2" - 13 x 1-3/4", Gr 5

(Replaces bolt 180179) Hex, 1/2"-13 x 1 3/4", G5

4шт.

129-105

NUT,Hex, 1/2" - 13, Gr 5

(Replaces nut 120378) 1/2"-13, G5

4шт.

80679

LOCK WASHER,1/20.507 CST ZND

WASHER, LOCK, 1/2"

4шт.

495-81213

WASHER,35.71mm ID x 50.8mm OD x 1.7mm Thk

- flat, 1-13/32 x 2 x 3/64 inch (Replaces washer 608085R1)

1шт.

432-1628

COTTER PIN,1/4" x 1 3/4"

Pin, Split (Cotter), (Replaces pin 103421) 1/4" x 1 3/4"

4шт.

10

540579R1

FLANGE

- finger tube bearing, used prior to serial no. 1401

16шт.

113-101

BOLT,Hex, 5/16" - 18 x 1-1/2", Gr 5

(Replaces bolt 180073) Hex, 5/16"-18 x 1/2", G5, Full Thd

48шт.

231-5145

SERRATED NUT,Flg, USR, 5/16"-18

NUT - hex serrated flange, 5/16 inch NC

48шт.

11

541527R1

BUSHING,34.04mm ID x 47.02mm OD

BUSHING - finger tube ball, used prior to serial no. 1401

16шт.

219-6

LUBE NIPPLE,1/4" - 28 NPTF

FITTING - grease, 1/8 female PT x 1 inch (Replaces fitting 23591R1)

16шт.

12

828959C1

SUPPORT

- finger tube and bat, used prior to serial no. 1401

16шт.

413-610

BOLT,Hex, 3/8" - 16 x 5/8", Gr 5

(Replaces bolt 180118) Hex, 3/8"-16 x 5/8", G5, Full Thd

16шт.

113-206

BOLT,Hex, 3/8" - 16 x 3/4", Gr 5, Full Thd

(Replaces bolt 180120) Hex, 3/8"-16 x 3/4", G5, Full Thd

8шт.

231-5146

FLANGE NUT,3/8"-16

24шт.

828387C1

BELLEVILLE WASHER

- spring, 3/8 inch, used at right-hand end of supports

8шт.

13

828766C1

FINGER

- reel pick-up, left-hand

4шт.

113-121

BOLT,Hex, 5/16" - 18 x 2", Gr 5

(Replaces bolt 180087) Hex, 5/16"-18 x 2", G5

4шт.

232-4115

LOCK NUT,5/16"-18, GC

NUT, LOCK, (Replaces nut 9413952) 5/16"-18, GC

4шт.

495-81117

WASHER,.344" x 1" x .120"

- flat, 11/32 x 1 x 7/64 inch (Replaces washer 20893R1)

4шт.

14

540565R1

SPRING

FINGER - reel pick-up, 64 used with 12 foot tube, 76 used with 14 foot tube

1шт.

113-121

BOLT,Hex, 5/16" - 18 x 2", Gr 5

1 used per spring (Replaces bolt 180087) Hex, 5/16"-18 x 2", G5

1шт.

232-4115

LOCK NUT,5/16"-18, GC

NUT, LOCK, , 1 used per bolt (Replaces nut 9413952) 5/16"-18, GC

1шт.

15

829227C1

FINGER

- reel pick-up, right-hand end

4шт.

113-121

BOLT,Hex, 5/16" - 18 x 2", Gr 5

(Replaces bolt 180087) Hex, 5/16"-18 x 2", G5

4шт.

232-4115

LOCK NUT,5/16"-18, GC

NUT, LOCK, (Replaces nut 9413952) 5/16"-18, GC

4шт.

495-81117

WASHER,.344" x 1" x .120"

- flat, 11/32 x 1 x 7/64 inch (Replaces washer 20893R1)

4шт.

16

595876R1

COVER

RETAINER - pick-up finger

64шт.

17

828815C2

SHAFT

- reel driven, for connecting parts see page 2-27

1шт.

18

828839C1

CRANK

- reel support, left-hand

1шт.

495-8122

WASHER - flat, 1-17/32 x 2-1/4 x 3/64 inch (Replaces washer 22051R1)

4шт.

495-81047

WASHER,25/32" x 2" x .179"

- flat, 25/32 x 2 x 11/64 inch (Replaces washer 26512R1)

2шт.

129-108

NUT,3/4"-10, G5

(Replaces nut 220086) 3/4"-10, G5

1шт.

19

103-16137

SNAP RING,#137. Ext

Ring, Snap, #137, Ext, Crank

1шт.

20

103-21281

SNAP RING,66.92mm ID x 2.36mm W, Int

Ring, Snap, , Crank brg (Replaces ring 468337R1) 2.812", Int, #281

2шт.

21

117510R91

BEARING, BALL

BEARING - ball, crank

2шт.

22

829088C1

SPACER

- crank bearing

1шт.

23

103-16137

SNAP RING,#137. Ext

Ring, Snap, #137, Ext, Shaft

1шт.

24

828809C1

PLATE

- tine tube, right-hand end, not for use with wheel type bolts

1шт.

113-206

BOLT,Hex, 3/8" - 16 x 3/4", Gr 5, Full Thd

(Replaces bolt 180120) Hex, 3/8"-16 x 3/4", G5, Full Thd

8шт.

113-417

BOLT,Hex, 1/2" - 13 x 1-1/4", Gr 5, Full Thd

(Replaces bolt 180175) Hex, 1/2"-13 x 1 1/4", G5, Full Thd

5шт.

231-5146

FLANGE NUT,3/8"-16

8шт.

828387C1

BELLEVILLE WASHER

- spring, 3/8 inch

8шт.

24

831830C1

PLATE

- tine tube, right-hand end, used with wheel type bolts

1шт.

549962R1

BOLT,1 1/2" - 20 x 1 1/2", Class 3

- hex conical, 1/2 NF x 1-5/32 inch

5шт.

129-125

NUT,1/2"-20, G5

(Replaces nut 120371) 1/2"-20, G5

5шт.

192-23

LOCK WASHER,1/2"

WASHER, LOCK, (Replaces washer 120384) 1/2"

5шт.

25

REF

INSTRUCTION

BUSHING - finger tube, serial no. 1401 and after, order kit 832405C1

1шт.

25

831556C1

BUSHING,33.78mm ID x 40.49mm OD x 44.45mm L

KIT - finger tube bushing (Replaces kit 832405C1)

1шт.

113-15

BOLT,Hex, 1/4" - 20 x 2-1/4", Gr 5

- hex, 1/4 NF x 2-1/4 inch (Replaces bolt 180046)

16шт.

231-4144

NUT,1/4"-20, GB

NUT, LOCK, (Replaces nut 273924) 1/4"-20, GB

16шт.

26

831559C2

SUPPORT

- finger tube and bat, used with serial no. 1401 and after

16шт.

413-610

BOLT,Hex, 3/8" - 16 x 5/8", Gr 5

(Replaces bolt 180118) Hex, 3/8"-16 x 5/8", G5, Full Thd

16шт.

113-206

BOLT,Hex, 3/8" - 16 x 3/4", Gr 5, Full Thd

(Replaces bolt 180120) Hex, 3/8"-16 x 3/4", G5, Full Thd

8шт.

231-5146

FLANGE NUT,3/8"-16

24шт.

828387C1

BELLEVILLE WASHER

- spring, 3/8 inch

1шт.

219-6

LUBE NIPPLE,1/4" - 28 NPTF

FITTING - grease, 1/8 female PT x 1 inch, if used

16шт.

27

831566C91

TUBE

ASSEMBLY - pick-up finger tine no. 1, 12 foot, 18 spring holes, used with serial no. 1401 and after

2шт.

27

831567C91

TUBE

ASSEMBLY - pick-up finger tine no. 2, 12 foot, 19 spring holes, used with serial no. 1401 and after

2шт.

27

831564C91

TUBE

ASSEMBLY - pick-up finger tine no. 1, 14 foot, 21 spring holes, used with serial no. 1401 and after

2шт.

27

831565C91

TUBE

ASSEMBLY - pick-up finger tine no. 2, 14 foot, 22 spring holes, used with serial no. 1401 and after

2шт.

27a

611928R91

BALL BEARING,13 mm ID x 40 mm OD x 18 mm

- reel support arm

2шт.

Выбрано товаров: 85