Запчасти Case IH CM109 (35.560.01) - HYDRAULIC PICKUP LIFT (35) - HYDRAULIC SYSTEMS

Схема запчастей Case IH CM109 - (35.560.01) - HYDRAULIC PICKUP LIFT (35) - HYDRAULIC SYSTEMS
13
8
23
60.500.01(01)
60.500.01(01)
21
21
19
9
14
5
3
12
9
22
4
2
24
17
1
11
5
6
15
16
18
2
20
12
7
10
FIT
1:1
100%

Артикул

Название

Примечание

Количество

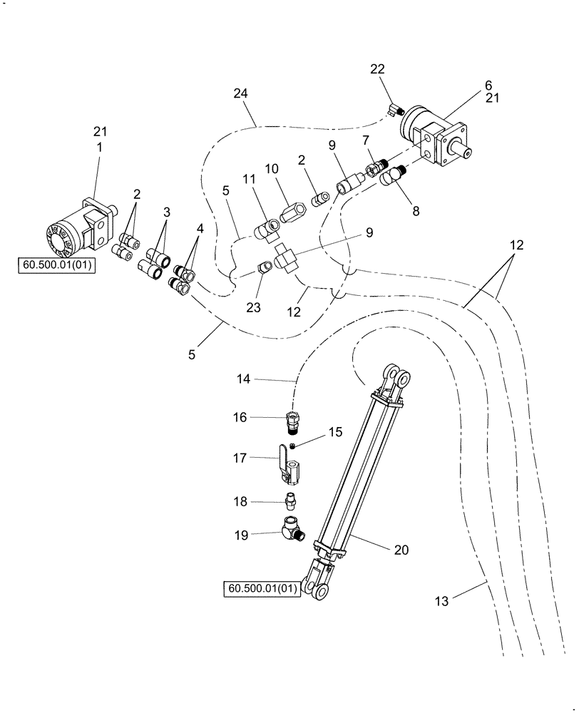
1

84230702

HYDRAULIC MOTOR

1шт.

2

86637713

HYD CONNECTOR,1/2" - 14 NPT x 1/2" - 14 NPT

3шт.

3

256231

COUPLING, QUICK, FEM

1/2-14, contains oring 86528546

2шт.

4

9801618

QUICK MALE COUPLING,1/2" - 14

1/2-14

2шт.

5

84231012

HYDRAULIC HOSE

Hyd, 1/2" x 42"

2шт.

6

84231013

HYDRAULIC MOTOR

Pickup

1шт.

7

218-903

HYD CONNECTOR,1/2" NPT x 1/2"

Oil Return

1шт.

8

283354

90 ELBOW,90 Degree, 1/2"-14 Female x 1/2"-14 Male

1шт.

9

617267

TEE,1/2"-14 Female x 1/2"-14 Male Run

2шт.

10

84231020

CHECK VALVE

1/2"

1шт.

11

217-1163

TEE,1/2"-14 Female

1шт.

12

84231022

HYDRAULIC HOSE

Hyd, 1/2" x 240", Pickup Motor To Tractor

2шт.

13

84231023

HYDRAULIC HOSE

Hyd, 1/4" x 204", Pickup, Serial Range: Cyl-Tractor

1шт.

14

84231024

HYDRAULIC HOSE

Hyd, 1/4" x 214", Hyd, Serial Range: Valve-Tractor

1шт.

15

84231025

ORIFICE

.042

1шт.

16

84231027

UNION

3/8 Male x 3/8 Fem W/ .042 Orifice

1шт.

17

87712321

VALVE

1шт.

18

87041527

HYD CONNECTOR,3/8" - 18 NPT x 3/8" - 18 NPT

3/8" NPTF

1шт.

19

86521965

ELBOW,90 Degree, 3/8"-18 Female x 3/8"-18 Male

1шт.

20

8176

HYDRAULIC CYLINDER,28.57mm Rod, 203.2mm Stroke

2 x 8

1шт.

21

84230703

HYD PUMP REPAIR KIT

Services Ref. 1 & 6

2шт.

22

84241436

ELBOW

1/4" Oring x 3/8" nptf

1шт.

23

221-89

REDUCER,Hex, 1/2" x 3/8" NPT

1шт.

24

84241431

HYDRAULIC HOSE

1/4" x 20"

1шт.

Выбрано товаров: 0