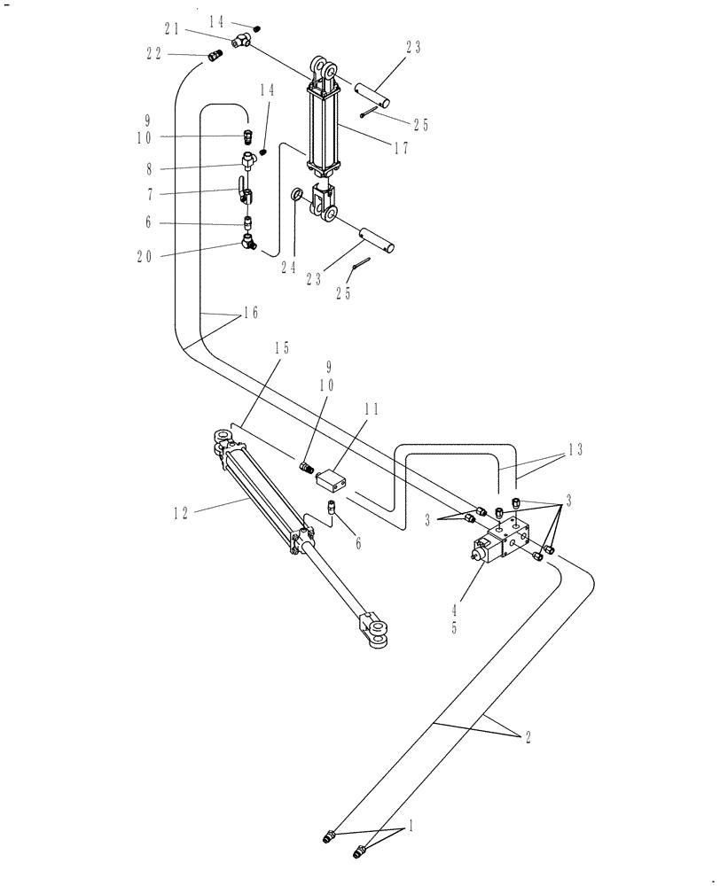
Запчасти Case IH CM209 (35.560.01) - HYDRAULIC PICKUP LIFT (35) - HYDRAULIC SYSTEMS

Схема запчастей Case IH CM209 - (35.560.01) - HYDRAULIC PICKUP LIFT (35) - HYDRAULIC SYSTEMS
6
3
17
5
2
23
10
4
25
23
10
15
6
24
8
1
3
14
22
13
14
16
25
9
20
7
12
11
9
21
FIT
1:1
100%

Артикул

Название

Примечание

Количество

1

9801618

QUICK MALE COUPLING,1/2" - 14

2шт.

2

84242653

HOSE,0.25" ID x 164.00"

2шт.

3

218-5093

ADAPTER,#8 MALE ORB (ORING) TO # 6 FEMALE NPT (PIPE)

6шт.

4

84242651

VALVE

Control, Waterman

1шт.

5

84242652

SOLENOID

1шт.

6

87041527

HYD CONNECTOR,3/8" - 18 NPT x 3/8" - 18 NPT

3/8" NPTF

2шт.

7

87712321

VALVE

1шт.

8

217-1063

TEE,3/8" - 18 Female x 3/8" - 18 Male Run

1шт.

9

84231027

UNION

3/8" Male X 3/8" Fem, Includes .042 Orifice, Ref 10

2шт.

10

84231025

ORIFICE

.042

2шт.

11

84242694

VALVE

Hyd., Tongue Lock

1шт.

12

84236987

CYLINDER,Double Acting, 28.57mm Rod

Hyd. Swing, 2" x 16", See Figure 35.560.02(02) for Breakdown

1шт.

13

84242695

HOSE,0.25" ID x 24.00"

2шт.

14

236622

PLUG,3/8" - 18 NPT

2шт.

15

84241431

HYDRAULIC HOSE

1/4" x 20"

1шт.

16

84242650

HOSE,0.25" ID x 140.00"

2шт.

17

8176

HYDRAULIC CYLINDER,28.57mm Rod, 203.2mm Stroke

Head Lift, 2" x 8", See Figure 35.560.02 (01) for Breakdown

1шт.

20

86521965

ELBOW,90 Degree, 3/8"-18 Female x 3/8"-18 Male

1шт.

21

217-1142

TEE,3/8"-18 Female x 3/8"-18 Male Br

1шт.

22

84173776

UNION

3/8" Male x Female

1шт.

23

84230709

PIN

Cylinder

2шт.

24

84230731

SPACER

1шт.

25

87400

COTTER PIN,3/16" x 2"

4шт.

Выбрано товаров: 23