Запчасти Case IH CM209 (35.560.05) - HYDRAULIC CROSS CONVEYOR SHUTOFF (35) - HYDRAULIC SYSTEMS

Схема запчастей Case IH CM209 - (35.560.05) - HYDRAULIC CROSS CONVEYOR SHUTOFF (35) - HYDRAULIC SYSTEMS
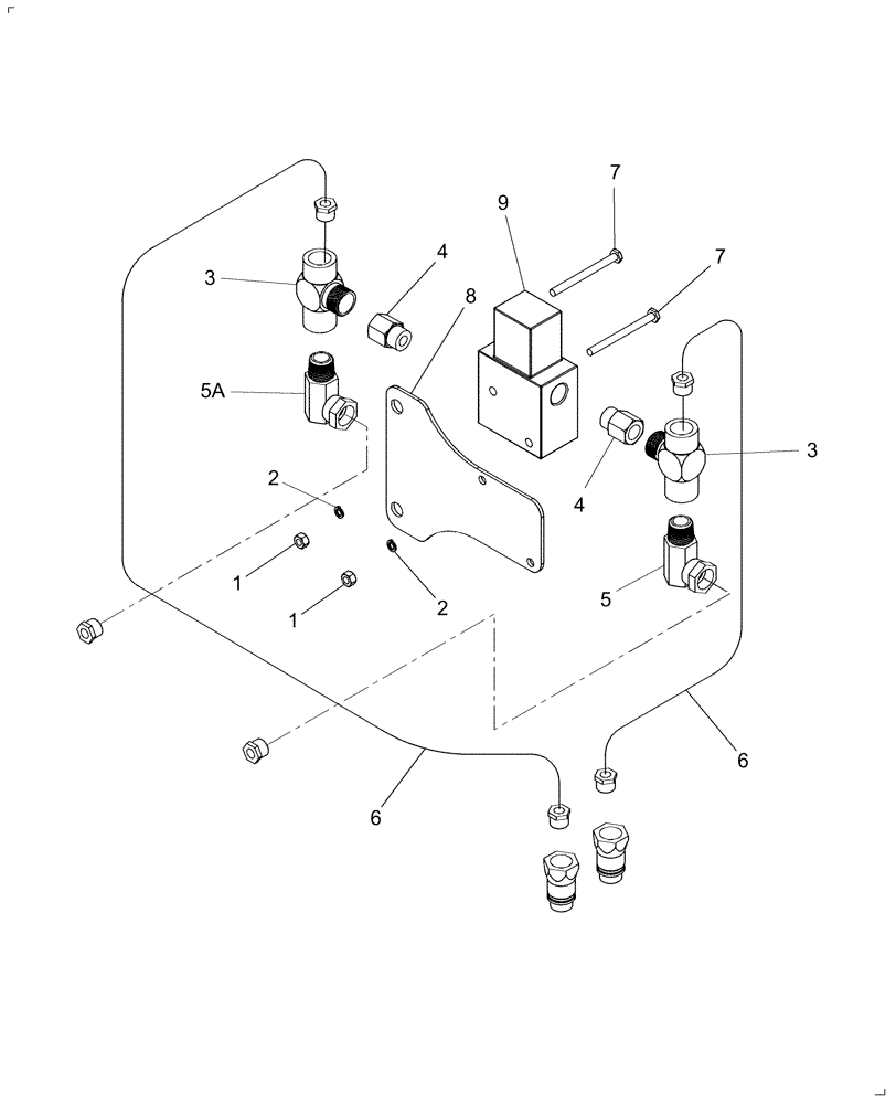
5a
4
5
8
6
3
2
4
1
7
3
7
1
9
2
6
FIT
1:1
100%

Артикул

Название

Примечание

Количество

W0

ORDER WHOLEGOODS

717757006, See Notes Tab

1шт.

1

7770

NUT,Hex, 1/4 - 20, Cl 5

2шт.

2

80682

LOCK WASHER,1/4"

2шт.

3

217-1143

TEE,1/2"-14 Female x 1/2"-14 Male Br

2шт.

4

218-5095

ADAPTER,7/8" - 14 ORB x 1/2" NPT

2шт.

5

87331082

FITTING

Connects to Pressure Line

1шт.

5a

87331082

FITTING

Connects to Return Line

1шт.

6

84241435

HYDRAULIC HOSE

1/2" x 49" , 1/2 MP

2шт.

7

87845

BOLT,Hex, 1/4" - 20 x 2 1/2", Gr 5

2шт.

8

84243271

BRACKET

Conveyor Stop

1шт.

9

84243272

HYDRAULIC VALVE

1шт.

10

17862

SELF-TAP SCREW,Cross Pan Hd, #8 - 18 x 1/2"

Tapping, 8-18 x 1/2" Pan

2шт.

Выбрано товаров: 12