Запчасти Case IH CM212 (35.560.01) - HYDRAULIC PICKUP LIFT (35) - HYDRAULIC SYSTEMS

Схема запчастей Case IH CM212 - (35.560.01) - HYDRAULIC PICKUP LIFT (35) - HYDRAULIC SYSTEMS
5
9
3
25
17
23
25
10
16
4
23
22
20
10
12
8
2
9
20
13
15
14
10
14
17
8
11
9
24
19
6
21
7
1
18
3
FIT
1:1
100%

Артикул

Название

Примечание

Количество

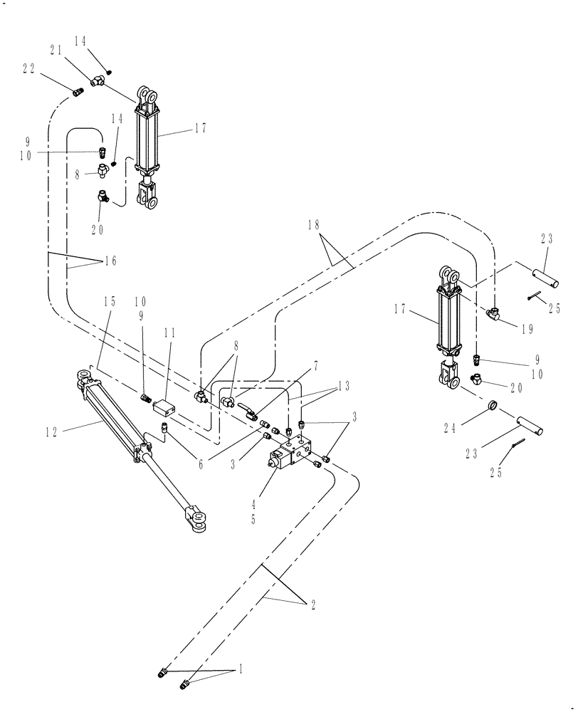
1

9801618

QUICK MALE COUPLING,1/2" - 14

2шт.

2

84242653

HOSE,0.25" ID x 164.00"

2шт.

3

218-5093

ADAPTER,#8 MALE ORB (ORING) TO # 6 FEMALE NPT (PIPE)

6шт.

4

84242651

VALVE

Control, Waterman

1шт.

5

84242652

SOLENOID

1шт.

6

87041527

HYD CONNECTOR,3/8" - 18 NPT x 3/8" - 18 NPT

3/8" NPTF

2шт.

7

87712321

VALVE

1шт.

8

217-1063

TEE,3/8" - 18 Female x 3/8" - 18 Male Run

3шт.

9

84231027

UNION

3/8" Male X 3/8" Fem, Includes .042 Orifice, Ref 10

3шт.

10

84231025

ORIFICE

.042

3шт.

11

84242694

VALVE

Hyd., Tongue Lock

1шт.

12

84236987

CYLINDER,Double Acting, 28.57mm Rod

Hyd. Swing, 2" x 16", See Figure 35.560.02(02) for Breakdown

1шт.

13

84242695

HOSE,0.25" ID x 24.00"

2шт.

14

236622

PLUG,3/8" - 18 NPT

2шт.

15

84241431

HYDRAULIC HOSE

1/4" x 20"

1шт.

16

84242699

HYDRAULIC HOSE,0.25" ID x 108.00"

1/4" x 175", 3/8 MP

2шт.

17

8176

HYDRAULIC CYLINDER,28.57mm Rod, 203.2mm Stroke

Head Lift, 2" x 8", See Figure 35.560.02 (01) for Breakdown

2шт.

18

84242699

HYDRAULIC HOSE,0.25" ID x 108.00"

3/8" MP

2шт.

19

87315682

ELBOW

3/8" Male to Female Swivel

1шт.

20

86521965

ELBOW,90 Degree, 3/8"-18 Female x 3/8"-18 Male

2шт.

21

217-1142

TEE,3/8"-18 Female x 3/8"-18 Male Br

1шт.

22

84173776

UNION

3/8" Male x Female

1шт.

23

84230709

PIN

Cylinder

4шт.

24

84230731

SPACER

2шт.

25

87400

COTTER PIN,3/16" x 2"

8шт.

Выбрано товаров: 25