Запчасти Case IH CM212 (55.100.01) - CABLES AND JUNCTION BOX (55) - ELECTRICAL SYSTEMS

Схема запчастей Case IH CM212 - (55.100.01) - CABLES AND JUNCTION BOX (55) - ELECTRICAL SYSTEMS
22
10
3
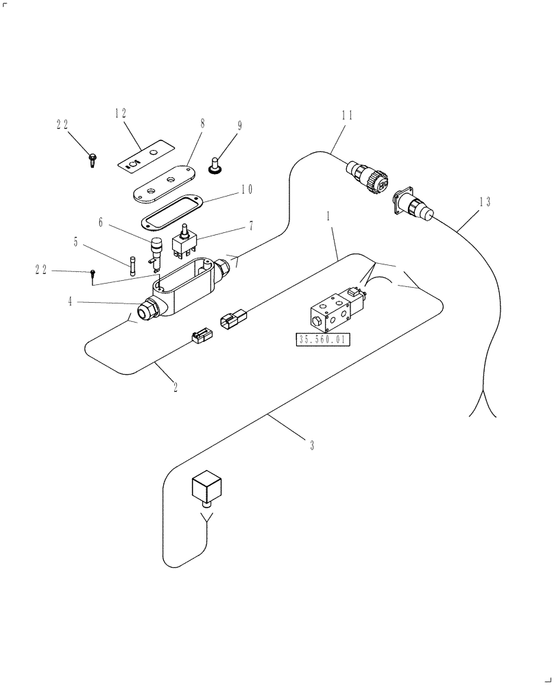
1
7
35.560.01
8
22
12
2
6
11
4
9
5
13
FIT
1:1
100%

Артикул

Название

Примечание

Количество

1

84243264

CABLE

18 FT, To Electric Solenoid ( See Fig. 35.560.01)

1шт.

1

84243249

CABLE

Merger Power Cord, With Ends

1шт.

2

84243265

CABLE

Electric, Tractor Supply 5ft - 6"

1шт.

Used with Cross Conveyor Shutoff Option

1шт.

2

84221320

ELECTRIC CABLE

Tractor

1шт.

3

84243266

CABLE

23ft - 4"

1шт.

Used with Cross Conveyor Shutoff Option

1шт.

4

84221316

CONTROL

Block

1шт.

5

279863

FUSE

5 amp

1шт.

6

578489

FUSE HOLDER

1шт.

7

84243267

SWITCH

1шт.

Used with Cross Conveyor Shutoff Option

1шт.

7

84243250

SWITCH

Pole/Pickup

1шт.

Comes with Standard Unit, Without Cross Conveyor Shutoff Option

1шт.

8

84221311

COVER

1шт.

9

84221309

BOOT

4шт.

10

84221315

GASKET

1шт.

11

84221317

CABLE

Electric, Power Supply

1шт.

12

84217938

DECAL

1шт.

13

84221318

CABLE

Pigtail

1шт.

22

17862

SELF-TAP SCREW,Cross Pan Hd, #8 - 18 x 1/2"

Pan Head, Tapping, 8-18 x 1/2"

2шт.

Выбрано товаров: 21