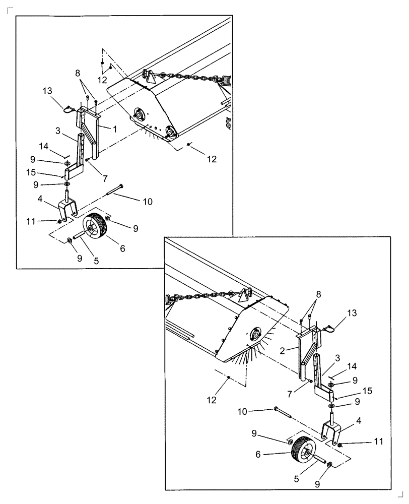
Запчасти Case IH BRX147 (600) - 3" X 6" SIDE CASTER WHEEL KIT - 717231006

Схема запчастей Case IH BRX147 - (600) - 3" X 6" SIDE CASTER WHEEL KIT - 717231006
5
9
6
11
5
13
3
10
9
8
4
8
12
9
9
15
6
11
13
10
7
9
9
9
4
1
14
2
3
14
15
12
12
9
7
FIT
1:1
100%

Артикул

Название

Примечание

Количество

1

BER666941

SUPPORT

LH

1шт.

2

BER666942

SUPPORT

RH

1шт.

3

BER666943

BRACKET

2шт.

4

BER666944

BRACKET

RH

1шт.

5

BER666945

BRACKET

LH

1шт.

6

BER3800055

WHEEL

2шт.

7

PL

PROCURE LOCALLY

Bolt, Hex, 5/16" x 5/8" GR5

2шт.

8

PL

PROCURE LOCALLY

Bolt, Serrated Flange, 5/16" x 1" GR5

2шт.

0200091

1шт.

9

PL

PROCURE LOCALLY

Washer, Flat, 11/16"

4шт.

10

PL

PROCURE LOCALLY

Washer, Lock, 5/16"

2шт.

11

PL

PROCURE LOCALLY

Nut, Hex, 5/16"

2шт.

12

BER0900036

NUT

Serrated Flange, 5/16"

2шт.

13

BER1900006

PIN, SPLIT (COTTER)

PIN, COTTER Rd. Wire, 1/4"

2шт.

14

BER1500013

PIN, SPLIT (COTTER)

PIN, COTTER Cotter, 3/16" dia. x 5 -1/2"

2шт.

15

BER1500021

PIN, SPLIT (COTTER)

PIN, COTTER 1/4" dia. x 1 -1/2"

2шт.

Выбрано товаров: 0