Запчасти Case IH 420CT (09-25D) - CAB DOOR 87557060 - SPRING ASSIST MOUNTED TO DOOR TAB (09) - CHASSIS

Схема запчастей Case IH 420CT - (09-25D) - CAB DOOR 87557060 - SPRING ASSIST MOUNTED TO DOOR TAB (09) - CHASSIS
17
13
3
4
16
13
14
15
1
8
21
2
23
5
14
24
14
14
7
22
25
12
13
11
16
9
13
16
5
10
6
FIT
1:1
100%

Артикул

Название

Примечание

Количество

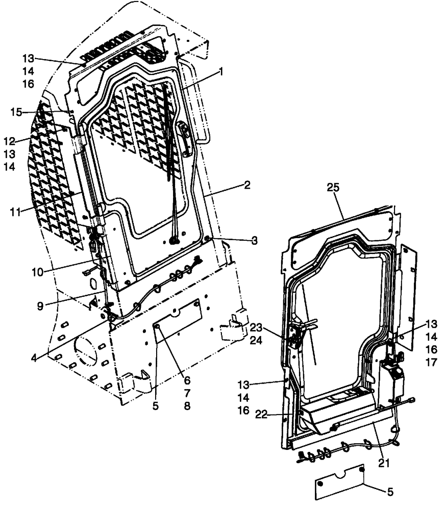
1

87557060

DOOR

See Figure 09-25E

1шт.

2

87459553

PANEL

Left Hand

1шт.

3

87030529

SELF-TAP SCREW,HWH, 3/8" - 16 x 7/8"

2шт.

4

L18331

CABLE TIE,375.9mm L, Nylon, Black

CABLE STRAP

10шт.

5

87461248

PLATE

Front

1шт.

6

43139

BOLT,M10 x 1.5 x 25mm, Cl 8.8

2шт.

7

86512554

NUT,M10 x 1.5, Cl 10

2шт.

8

140017

WASHER,M10 x 20mm OD x 2mm Thk

4шт.

9

87460753

WIRE HARNESS

Door Jumper

1шт.

10

87557059

PANEL ASSY.

Right Hand

1шт.

11

87459542

HINGE

1шт.

12

87030561

NUT,M6 x 1, Cl 8

4шт.

13

86624182

WASHER,6.6mm ID x 18mm OD x 1.6mm Thk

16шт.

14

120100

BOLT,M6 x 20mm, Cl 8.8

12шт.

15

86639137

SELF-TAP SCREW,Hex Hd, M6.3 x 13

2шт.

16

86511444

FLANGE NUT,Hex, M6 x 1

8шт.

17

87016871

CLAMP,9.5mm, Coat, 10.3mm Bolt Hole, J Type

1шт.

18

9804277

FLANGE NUT,Hex, M8 x 1.25, Cl 8

1шт.

19

140016

WASHER,M8 x 16mm OD x 1.6mm Thk

2шт.

20

189609A1

BALL STUD,M8 x 1.25

1шт.

21

87558998

PANEL

Threshold

1шт.

22

87462531

EDGE

Trim, Left Hand Panel

1шт.

23

280980

NUT,7/16"-14, GC

1шт.

24

86625255

WASHER,13.3mm ID x 24.5mm OD x 3mm Thk

1шт.

25

87557057

GLASS

See Figure 09-25F

1шт.

26

87558959

SHOCK ABSORBER

Gas Shock, Extended Length 502mm (19 3/4 in.)

1шт.

Выбрано товаров: 26