Запчасти Case IH 440CT (06-11B) - PUMP, TANDEM - PRESSURE RELIEF VALVE (87546976) (06) - POWER TRAIN

Схема запчастей Case IH 440CT - (06-11B) - PUMP, TANDEM - PRESSURE RELIEF VALVE (87546976) (06) - POWER TRAIN
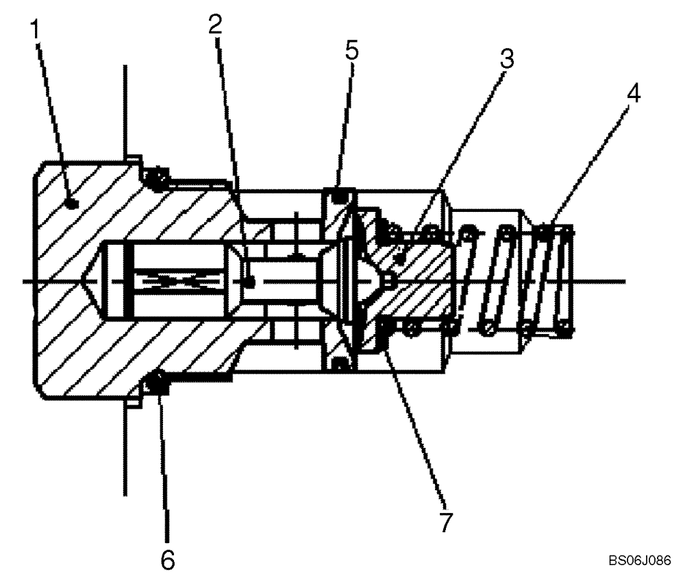
7
4
1
5
6
3
2
FIT
1:1
100%

Артикул

Название

Примечание

Количество

87553604

VALVE PRESSURE RELIE

Pressure Relief Valve; Incl. 1 - 7

1шт.

87043500

PUMP,46 CC

A22 Double Piston Pilot Control; See Figure 06-11 - 06-11G

1шт.

87043500R

REMAN-HYD PUMP

Remanufactured Hydraulic Pump

1шт.

87043500C

CORE-HYDRAULIC PUMP

Return Number

1шт.

1

NSS

NOT SOLD SEPARAT

Locking Screw

1шт.

2

NSS

NOT SOLD SEPARAT

Valve Piston

1шт.

3

NSS

NOT SOLD SEPARAT

Spring Collar

1шт.

4

NSS

NOT SOLD SEPARAT

Pressure Spring

1шт.

5

NSS

NOT SOLD SEPARAT

Steel Sealing Spring

1шт.

6

87597286

O-RING

O-ring

1шт.

7

NSS

NOT SOLD SEPARAT

Shim

1шт.

Выбрано товаров: 11