Запчасти Case IH 440CT (04-14A) - DISCONNECT SWITCH - REMOTE JUMP START; IF USED (04) - ELECTRICAL SYSTEMS

Схема запчастей Case IH 440CT - (04-14A) - DISCONNECT SWITCH - REMOTE JUMP START; IF USED (04) - ELECTRICAL SYSTEMS
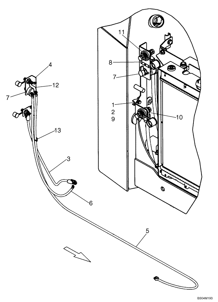
11
3
9
6
2
7
12
1
7
5
8
13
10
4
FIT
1:1
100%

Артикул

Название

Примечание

Количество

1

120103

BOLT,M8 x 1.25 x 16mm, Cl 8.8

2шт.

2

86624185

WASHER,8.8mm ID x 17.5mm OD x 2mm Thk

2шт.

3

87052671

CABLE ASSY.

Cable Connects to Positive Battery Terminal

1шт.

4

87444691

BRACKET

1шт.

5

87444992

CABLE ASSY.

Negative, 2900 mm Long; Connects to Negative Battery Post

1шт.

6

87448335

CABLE ASSY.

Negative, 1200 mm Long; Connects to Engine Block

1шт.

7

87458467

ROTARY SWITCH

Master Disconnect

1шт.

8

176332A1

DECAL

Battery Disconnect

1шт.

9

229197A1

SQUARE NUT,M8 x 1.25, Cl 8

Square; M8

2шт.

10

399383A1

TERMINAL CONNECTOR,3/8"-16 UNC

Positive; Remote Jump Start

1шт.

11

399384A1

TERMINAL CONNECTOR

Negative; Remote Jump Start

1шт.

12

399665A2

ANCHOR

Battery Jump Start

1шт.

13

L18337

CABLE TIE,9.95"-12.1" lg

CABLE STRAP

1шт.

Выбрано товаров: 13