Запчасти Case IH 440CT (06-06A) - HYDROSTATICS - MULTI VALVE (440CT WITH PILOT CONTROL) (06) - POWER TRAIN

Схема запчастей Case IH 440CT - (06-06A) - HYDROSTATICS - MULTI VALVE (440CT WITH PILOT CONTROL) (06) - POWER TRAIN
17
2
7
23
12
27
7
1
22
11
7
33
1
28
29
32
6
30
2
10
31
3
21
24
1
1
6
19
26
4
14
34
13
8
6
5
9
16
15
2
2
25
20
18
3
FIT
1:1
100%

Артикул

Название

Примечание

Количество

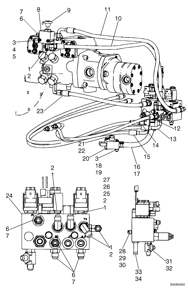
1

76344

90 ELBOW,9/16" - 18 JIC x 9/16" - 18 ORB

Incl. 2

5шт.

2

9617873

O-RING,0.078" Thk x 0.468" ID, -906, Cl 6, 90 Duro

5шт.

3

86588450

WASHER,6.6mm ID x 12mm OD x 1.6mm Thk

4шт.

4

86512440

NUT,M6, Cl 10

2шт.

5

120056

BOLT,M6 x 1.0 x 54.15mm, Cl 8.8

2шт.

6

76350

HYD CONNECTOR,9/16" - 18 ORB x 9/16" - 18 JIC

Incl 7

5шт.

7

9617873

O-RING,0.078" Thk x 0.468" ID, -906, Cl 6, 90 Duro

5шт.

8

87546973

VALVE

Boom Override; Incl. Knob; If Used

1шт.

8

87604076

VALVE, EXHAUST, OVER

Boom Overide; If Used

1шт.

9

87568435

DECAL

Boom Override

1шт.

10

87563992

HOSE

Dump Valve Drain; 820 mm, 32.28 in. Length

1шт.

11

87563991

HOSE

DA Pressure; 884 mm, 34.80 in. Length

1шт.

12

87364629

HOSE

Right Hand Brake; 850 mm, 33.46 in. Length

1шт.

13

87364631

HOSE

Left Hand Brake; 1250 mm, 49.21 in. Length

1шт.

14

87364803

HOSE

Two Speed, Right Hand

1шт.

15

87364806

HOSE,9.53mm ID x 1200mm L

Two Speed, Left Hand; 1200 mm, 47.24 in. Length

1шт.

16

87563996

HOSE,12.70 mm ID x 290.00 mm

Multi Valve Drain

1шт.

17

87443510

HOSE CLAMP,18.4mm Static ID x 15mm W

6шт.

18

86977790

BOLT,Hex, M6 x 45mm, Cl 8.8

2шт.

19

87404992

SQUARE NUT,M6 x 1.0, Cl 8

2шт.

20

87437351

MANIFOLD

1шт.

21

76349

PLUG,9/16" - 18 ORB

Incl. 22

1шт.

22

86598100

O-RING,2.2mm Thk x 13.3mm ID, Cl 6, 90 Duro

1шт.

23

87547032

HOSE,9.65 mm ID x 3050.00 mm

Charge Pressure; 467 mm, 18.39 in. Length

1шт.

24

87577076

PILOT VALVE

Brake, Two Speed; See Figure 06-09D

1шт.

25

87573371

ADAPTER

Adapter; Incl. 26, 27

1шт.

26

238-6012

O-RING,0.07" Thk x 0.364" ID, -12, Cl 6, 90 Duro

1шт.

27

237-6016

O-RING,0.116" Thk x 1.171" ID, -916, Cl 6, 90 Duro

1шт.

28

87030567

SQUARE NUT

3шт.

29

86624184

WASHER,9mm ID x 16mm OD x 1.6mm Thk

5шт.

30

86508571

BOLT,Hex, M8 x 90mm, Cl 8.8

2шт.

31

86513020

TEE,9/16" - 18 ORB x 9/16" - 18 JIC x 9/16" - 18 JIC

Incl. 32

1шт.

32

9617873

O-RING,0.078" Thk x 0.468" ID, -906, Cl 6, 90 Duro

1шт.

33

86705988

FITTING,1/2" Hose Bead x 9/16" - 18 ORB

Incl. 34

1шт.

34

9617873

O-RING,0.078" Thk x 0.468" ID, -906, Cl 6, 90 Duro

1шт.

Выбрано товаров: 35