Запчасти Case IH 440CT (06-06B) - HYDROSTATICS - PUMP FITTINGS (440CT WITH PILOT CONTROL) (06) - POWER TRAIN

Схема запчастей Case IH 440CT - (06-06B) - HYDROSTATICS - PUMP FITTINGS (440CT WITH PILOT CONTROL) (06) - POWER TRAIN
25
19
8
24
3
10
14
22
9
1
27
16
11
13
5
28
2
9
21
7
29
17
20
4
23
26
7
15
12
11
18
10
6
8
FIT
1:1
100%

Артикул

Название

Примечание

Количество

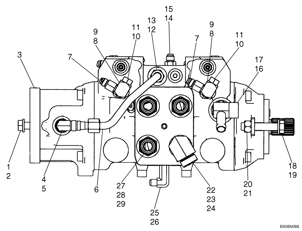
1

86625255

WASHER,13.3mm ID x 24.5mm OD x 3mm Thk

2шт.

2

87670

BOLT,1/2" - 13 x 1-1/4", Full Thd, Gr 5

2шт.

3

87546976

PUMP,46 CC

A22 Double Piston Pilot Control; If Used; See Figure 06-11 - 06-11G

1шт.

3

87546976R

Remanufactured Hydraulic Pump

REMAN-HYD PUMP

1шт.

3

87546976C

Return Number

CORE-HYDRAULIC PUMP

1шт.

3

87546977

PUMP,46 CC

A22 Double Piston Pilot Control; If Used; See Figure 06-12 - 06-12G

1шт.

3

87546977R

Remanufactured Hydraulic Pump

REMAN-HYD PUMP

1шт.

3

87546977C

Return Number

CORE-HYDRAULIC PUMP

1шт.

4

128830

90 ELBOW,3/4" - 16 JIC x 3/4" - 16 ORB

Incl. 5

1шт.

5

128825

O-RING,0.087" Thk x 0.644" ID, -908, Cl 6, 90 Duro

1шт.

6

87554297

HYD TUBE,10.2 mm ID x 12.7 mm OD x 147, 99.2 mm L

Tube, Tandem Pump Supply

1шт.

7

87604074

ADAPTER

Connector With 1.2 Orifice

4шт.

8

87546979

ADAPTER

Elbow; Incl. 9

2шт.

9

165202

O-RING,0.072" Thk x 0.351" ID, -904, Cl 6, 90 Duro

1шт.

10

76349

PLUG,9/16" - 18 ORB

Incl. 11

2шт.

11

86598100

O-RING,2.2mm Thk x 13.3mm ID, Cl 6, 90 Duro

1шт.

12

128818

UNION,3/4" - 16 ORB x 3/4" - 16 JIC

Incl. 13

1шт.

13

128825

O-RING,0.087" Thk x 0.644" ID, -908, Cl 6, 90 Duro

1шт.

14

76350

HYD CONNECTOR,9/16" - 18 ORB x 9/16" - 18 JIC

Incl 15

1шт.

15

9617873

O-RING,0.078" Thk x 0.468" ID, -906, Cl 6, 90 Duro

1шт.

16

87571937

ADAPTER

Incl. 17

1шт.

17

167266

O-RING,0.116" Thk x 0.924" ID, -912, Cl 6, 90 Duro

1шт.

18

87556906

BOLT,Hex, M14 x 70mm, Cl 10.9

2шт.

19

87016615

WASHER,15.3mm ID x 28.5mm OD x 3mm Thk

2шт.

20

87637186

NUT

Nut,Square, M14

2шт.

21

87564723

WASHER,15.3mm ID x 28.5mm OD x 6mm Thk

Washer

2-4шт.

22

9846848

90 ELBOW,1-3/16"-12 ORFS x 1-1/16"-12 ORB

Incl. 23, 24

1шт.

23

9991976

O-RING,0.07" Thk x 0.739" ID, -18, Cl 6, 90 Duro

1шт.

24

167266

O-RING,0.116" Thk x 0.924" ID, -912, Cl 6, 90 Duro

1шт.

25

86526

ELBOW,90 Degree, 37 Degree 9/16" - 18 JIC x 9/16" - 18 ORB

Incl. 26

1шт.

26

9617873

O-RING,0.078" Thk x 0.468" ID, -906, Cl 6, 90 Duro

1шт.

27

9840535

HYD CONNECTOR,1-3/16" - 12 ORFS x 1-1/16" - 12 ORB

Incl. 28, 29

3шт.

28

167266

O-RING,0.116" Thk x 0.924" ID, -912, Cl 6, 90 Duro

1шт.

29

9991976

O-RING,0.07" Thk x 0.739" ID, -18, Cl 6, 90 Duro

1шт.

Выбрано товаров: 34