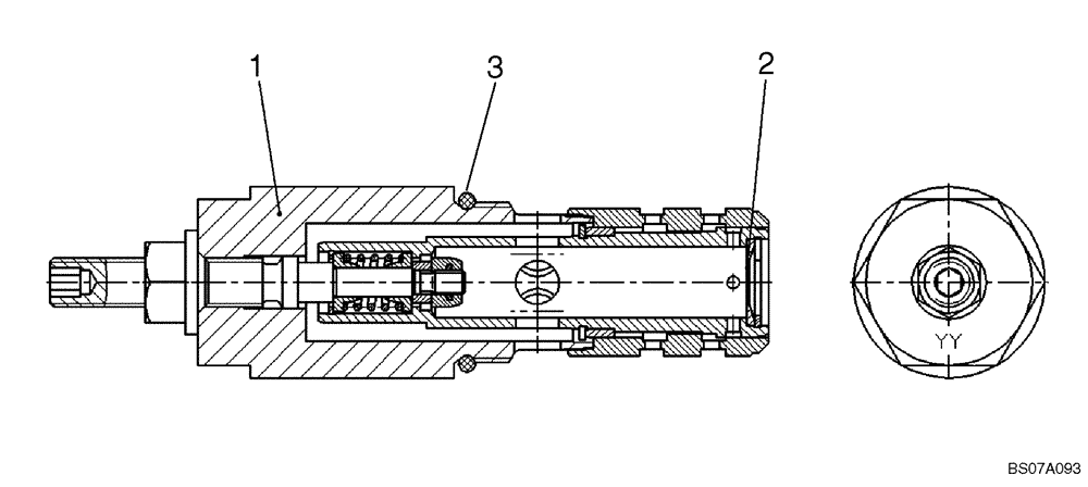
Запчасти Case IH 440CT (06-53) - PUMP, TANDEM - CONTROL CARTRIDGE WITH ORIFICE (87546977) (06) - POWER TRAIN

Схема запчастей Case IH 440CT - (06-53) - PUMP, TANDEM - CONTROL CARTRIDGE WITH ORIFICE (87546977) (06) - POWER TRAIN
3
2
1
FIT
1:1
100%

Артикул

Название

Примечание

Количество

87614031

VALVE PRESSURE RELIE

Control Cartridge With Orifice; Incl. 1 - 3

1шт.

1

NSS

NOT SOLD SEPARAT

Control Cartridge Without Orifice

1шт.

2

87597285

RING

Back Up Ring

1шт.

3

87597284

O-RING

O-Ring

1шт.

Выбрано товаров: 4