Запчасти Case IH 440CT (02-28) - PISTONS - CONNECTING ROD (02) - ENGINE

Схема запчастей Case IH 440CT - (02-28) - PISTONS - CONNECTING ROD (02) - ENGINE
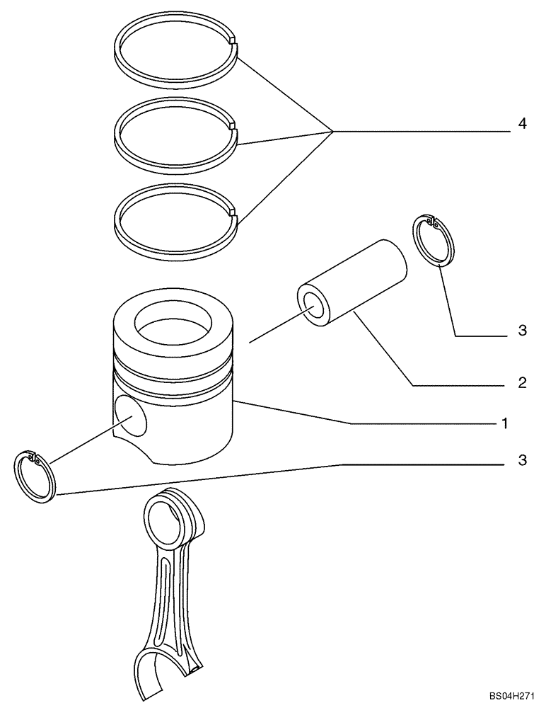
4
2
3
1
FIT
1:1
100%

Артикул

Название

Примечание

Количество

87647549

PISTON & RINGS KIT

STD, Incl Piston 2855531, Top Compression Ring 2853805, Second Compression Ring 2830158, Oil Control Ring 2852037, Piston Pin 4892712, And Retainer 2854030

1шт.

87647550

PISTON & RINGS KIT

0.4 mm Oversize, Incl Piston 2856484, Top Compression Ring 2854141, Second Compression Ring 2830159, Oil Control Ring 2853875, Piston Pin 4892712, And Retainer 2854030

1шт.

87647551

PISTON & RINGS KIT

0.8 mm Oversize, Incl Piston 2856485, Top Compression Ring 2854142, Second Compression Ring 2830160, Oil Control Ring 2853876, Piston Pin 4892712, And Retainer 2854030

1шт.

87582179

PISTON RINGS KIT

STD; Incl. Top Cmpression Ring 2854603, Second Compression Ring 2830158, Oil Control Ring 2852037

1шт.

87582180

PISTON RINGS KIT

0.4 mm Oversize; Incl. Top Cmpression Ring 2856713, Second Compression Ring 2830159, Oil Control Ring 2853875

1шт.

87582181

PISTON RINGS KIT

0.8 mm Oversize; Incl. Top Cmpression Ring 2856714, Second Compression Ring 2830160, Oil Control Ring 2853876

1шт.

1

2855531

PISTON

Std; Does not include rings

4шт.

1

NSS

NOT SOLD SEPARAT

0.4 mm Oversize; Does Not Include Rings; NSS 2856484, Order Kit 87647550

4шт.

1

2856485

PISTON

0.8 mm Oversize; Does Not Include Rings

4шт.

2

4892712

PISTON PIN,38mm OD x 82mm L

4шт.

3

2854030

SNAP RING,M40.8 OD

8шт.

3

4892713

SNAP RING,Int, M26.4

Alternative to 2854030

8шт.

4

2853805

PISTON RING

Top Compression Ring; STD

4шт.

4

NSS

NOT SOLD SEPARAT

Top Compression Ring; 0.4 mm Oversize; NSS 2854141, Order Kit 87647550

4шт.

4

NSS

NOT SOLD SEPARAT

Top Compression Ring; 0.4 mm Oversize; NSS 2856713, Order Kit 87582180

4шт.

4

NSS

NOT SOLD SEPARAT

Top Compression Ring; 0.4 mm Oversize; NSS 2856714, Order Kit 87582181

4шт.

4

NSS

NOT SOLD SEPARAT

Top Compression Ring; 0.8 mm Oversize; NSS 2854142, Order Kit 87647551

4шт.

4

2852037

SEAL,95.3mm ID x 104mm OD x 4mm Thk

Oil Control; STD; Red Identification Mark

4шт.

4

NSS

NOT SOLD SEPARAT

Oil Control Ring; 0.4 mm Oversize; NSS 2853875, Order Kit 87582180

4шт.

4

NSS

NOT SOLD SEPARAT

Oil Control Ring; 0.8 mm Oversize; NSS 2853876, Order Kit 87647551

4шт.

4

2830158

PISTON RING,95.4mm ID x 104mm OD x 2.39mm Thk

Second Compression; STD; Yellow Identification Mark

4шт.

4

NSS

NOT SOLD SEPARAT

Second Compression Ring; 0.4 mm Oversize; NSS 2830159, Order Kit 87582180

4шт.

4

NSS

NOT SOLD SEPARAT

Second Compression Ring; 0.8 mm Oversize; NSS 2830160, Order Kit 87582181

4шт.

4

2854603

PISTON RING

Ring, Wear

4шт.

Выбрано товаров: 24