Запчасти Case IH 445CT (09-08A) - CHASSIS (445CT) (09) - CHASSIS

Схема запчастей Case IH 445CT - (09-08A) - CHASSIS (445CT) (09) - CHASSIS
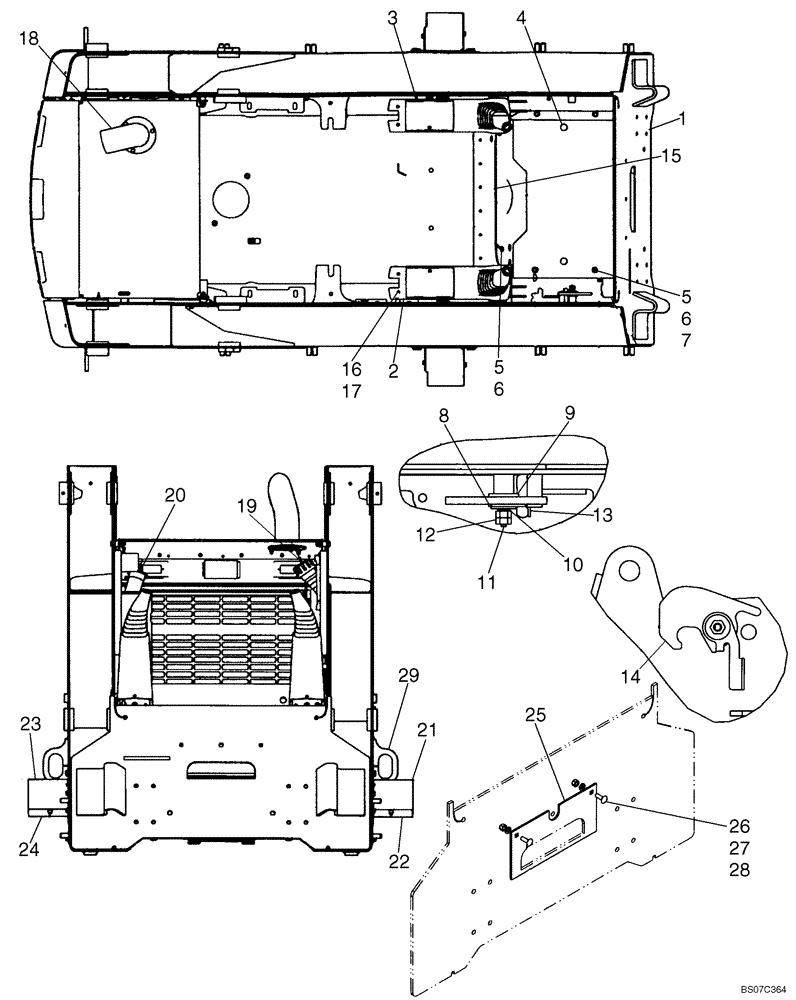
9
6
13
5
1
21
12
14
2
4
10
16
6
23
8
15
7
18
28
19
29
20
25
17
24
5
27
3
26
11
22
FIT
1:1
100%

Артикул

Название

Примечание

Количество

87647032

SERVICE KIT

Kit, Chassis (445CT); Incl Frame 87618144, Fuel Cap, Hydraulic Cap, And Sender Unit

1шт.

1

87618144

FRAME

445CT Frame; Order From Wholegoods; Replaces 87449949

1шт.

2

REF

INSTRUCTION

Right Hand Control Console; See Figure 09-10

1шт.

3

REF

INSTRUCTION

Left Hand Control Console; See Figure 09-10

1шт.

4

87433644

PLATE

1шт.

5

43127

BOLT,Hex, M8 x 1.25 x 25mm, Cl 8.8

6шт.

6

86625263

WASHER,9mm ID x 20mm OD x 1.6mm Thk

6шт.

7

122158A1

NUT,M8, U

4шт.

8

294967A1

WASHER

Latch Mounting

1шт.

9

87381

WASHER,0.81" ID x 1.47" OD x 0.13" Thk

1шт.

10

278332A1

SPRING WASHER

M12 x 30; 10.9

1шт.

11

294943A1

STUD

13/16 x 1-15/32 x 1/8; Latch Mounting

1шт.

12

100016

NUT,M10 x 1.5, Cl 8

2шт.

13

294911A2

HOOK

Plate Latch Return

1шт.

14

294910A1

LATCH

1шт.

15

87430673

ANGLE

Heel Plate

1шт.

16

86511826

SCREW,Phillips Drive, Pan HD, M5 x 16mm

4шт.

17

86509828

LOCK WASHER,M5

4шт.

18

REF

INSTRUCTION

Hood, Rear; See Figure 09-14

1шт.

19

257448A1

CAP

Oil Filler; Incl. 292259A1

1шт.

292259A1

SEAL

Filler Cap; Not Illustrated

1шт.

20

H436887

CAP

Fuel Filler

1шт.

21

87460103

PLATE

Hose Guard; Upper Left

1шт.

22

87460105

PLATE

Hose Guard; Lower Left

1шт.

23

87460107

PLATE

Hose Guard; Upper Right

1шт.

24

87460109

COVER PLATE

Hose Guard; Lower Right

1шт.

25

87041290

PLATE ASSY.

1шт.

26

86512446

CARRIAGE BOLT,M10 x 1.5 x 30mm, Cl 8.8

2шт.

27

86624176

WASHER,11mm ID x 20mm OD x 2mm Thk

2шт.

28

86512554

NUT,M10 x 1.5, Cl 10

2шт.

29

87422323

PLATE

Rear Tie Down Brackets

2шт.

Выбрано товаров: 31