Запчасти Case IH 445CT (09-12) - CHASSIS (445CT) (09) - CHASSIS

Схема запчастей Case IH 445CT - (09-12) - CHASSIS (445CT) (09) - CHASSIS
5
6
11
6
6
5
1
3
3
8
13
6
6
4
12
17
7
18
5
6
2
10
2
14
5
7
16
5
9
15
FIT
1:1
100%

Артикул

Название

Примечание

Количество

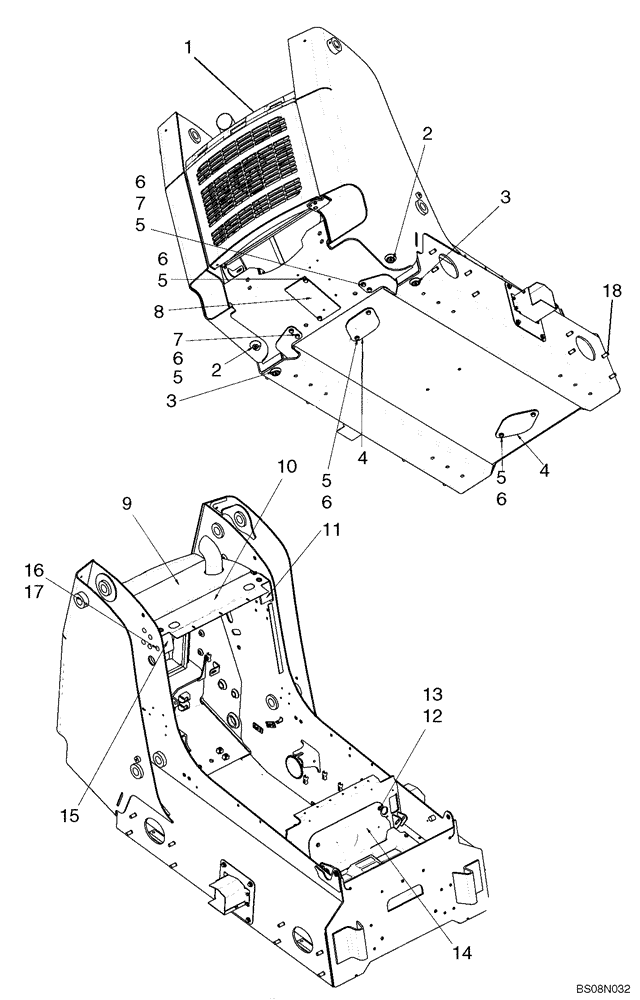
1

REF

INSTRUCTION

Rear Door, Standard; See Fig 09-56

1шт.

1

REF

INSTRUCTION

Rear Door, Louvered (Europe); See Fig 09-57

1шт.

2

87432221

PLUG

Magnetic Plug

2шт.

3

86625135

PLUG,1" - 11-1/2 NPT

2шт.

4

247609A1

COVER

2шт.

5

43260

BOLT,Hex, M12 x 1.75 x 30mm, Cl 10.9, Full Thd

10шт.

6

86625255

WASHER,13.3mm ID x 24.5mm OD x 3mm Thk

17шт.

7

189422A1

COVER

Rear Chain Tank Cover

2шт.

8

87666086

PLATE

Cover

1шт.

9

REF

INSTRUCTION

Rear Hood; See Fig 09-59

1шт.

10

87661309

PLATE

Plate, ROPS Filler; If Used

1шт.

10

87473797

PANEL

1шт.

11

87665572

BRACKET

Rear ROPS Mount, LH

1шт.

12

43127

BOLT,Hex, M8 x 1.25 x 25mm, Cl 8.8

2шт.

13

86625263

WASHER,9mm ID x 20mm OD x 1.6mm Thk

6шт.

14

87715353

COVER

Heel Plate Cover

1шт.

15

87665570

BRACKET

Rear ROPS Mount, RH

1шт.

16

43436

FLANGE NUT,M12

10шт.

17

120044

CARRIAGE BOLT,M12 x 1.75 x 30mm, Cl 8.8

8шт.

18

254799A1

STUD

M16 x 45; Axle Studs

16шт.

Выбрано товаров: 0