Запчасти Case IH 445CT (09-55) - HEATER AND AIR CONDITIONING ASSEMBLY (09) - CHASSIS

Схема запчастей Case IH 445CT - (09-55) - HEATER AND AIR CONDITIONING ASSEMBLY (09) - CHASSIS
4
8
18
7
16
12
15
9
3
17
13
14
10
5
1
6
2
11
FIT
1:1
100%

Артикул

Название

Примечание

Количество

87653393

AIR CONDITIONER,Assembly

Heat And Air Conditioning Unit; Incl 1 - 18 And Figure 09-55A

1шт.

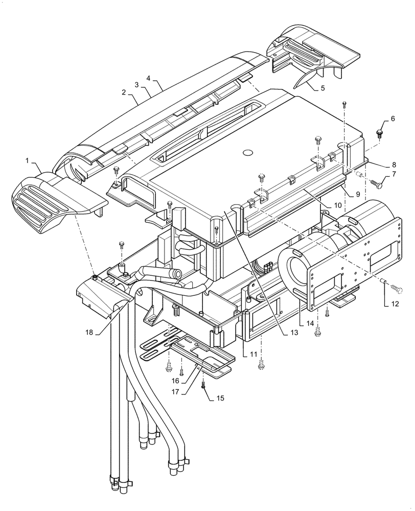
1

87656122

CAP

End Assy, RH; Incl 1A, 1B, 1C, 18

1шт.

1a

87656105

CAP

End, RH

1шт.

1b

87656126

CLIP

Recepticle, U-Type

1шт.

1c

NSS

NOT SOLD SEPARAT

Screw, #8-18 X 1/2 in.

2шт.

2

87498344

REAR COVER

Assy; Incl 3, 4

1шт.

3

87497953

COVER

Rear

1шт.

4

87498345

GASKET

Seal, Filter

1шт.

5

87656121

CAP

End Assy, LH; Incl 5A, 5B, 5C, 9

1шт.

5a

87656109

CAP

End, LH

1шт.

5b

NSS

NOT SOLD SEPARAT

Screw, #8-18 X 1/2 in.

2шт.

5c

87656126

CLIP

Recepticle, U-Type

1шт.

6

NSS

NOT SOLD SEPARAT

Screw, #8 Self Tapping

10шт.

7

NSS

NOT SOLD SEPARAT

Screw, M6 X 20

3шт.

8

87656104

TOP

Case Half

1шт.

9

87656123

CAP

Partition, End Cap LH

1шт.

10

NSS

NOT SOLD SEPARAT

Screw; Expansion Valve

2шт.

11

87656102

HOUSING,Assembly, Air Conditioning

Case Half

1шт.

12

NSS

NOT SOLD SEPARAT

6 mm Inserts

3шт.

13

NSS

NOT SOLD SEPARAT

Back Cover, Foam

1шт.

14

REF

INSTRUCTION

See Figure 09-55A

1шт.

15

NSS

NOT SOLD SEPARAT

Screw, #10-24 X 3/8 in.

8шт.

16

87656101

BEZEL

Bezel Recirculating

2шт.

17

87656108

GASKET

Blower Outlet

1шт.

18

87656124

CAP

Partition, End Cap RH

1шт.

87753899

PAD

Case Bottom

1шт.

87656100

COVER

Slide, Recirculating

2шт.

Выбрано товаров: 0